| Начало раздела Производственные, любительские Радиолюбительские Авиамодельные, ракетомодельные Полезные, занимательные | Хитрости мастеру Электроника Физика Технологии Изобретения | Тайны космоса Тайны Земли Тайны Океана Хитрости Карта раздела | |
| Использование материалов сайта разрешается при условии ссылки (для сайтов - гиперссылки) | |||
Навигация: => | На главную/ Каталог патентов/ В раздел каталога/ Назад / |
|
ИЗОБРЕТЕНИЕ
Патент Российской Федерации RU2280217
![]()
ПАНЕЛЬ СОЛНЕЧНОЙ БАТАРЕИ КОНСТРУКЦИИ БУРКОВА Л.Н.
Имя изобретателя: Бурков Лев Николаевич
Имя патентообладателя: Бурков Лев Николаевич
Адрес для переписки: 195009, Санкт-Петербург, до востребования, Л.Н. Буркову
Дата начала действия патента: 2005.01.13
Изобретение относится к области использования солнечной энергии и превращения ее в электрическую. Панель состоит из вертикальной стойки, рамы и собственно солнечных батарей, при этом рама выполнена прямоугольной с соотношением сторон а/в=1,618, где а - малая сторона рамы, в - большая сторона рамы, продольные и поперечные ребра рамы расположены так, что образуемые ими ячейки имеют такое же соотношение сторон. Панель установлена шарнирно на центральной стойке и может независимо поворачиваться в двух взаимно перпендикулярных плоскостях за счет установки двух дуг по 180° прямоугольного сечения, для очистки поверхности панели предусмотрена цилиндрическая щетка с возможностью вращения вокруг продольной оси и движения вверх-вниз по панели. Такое выполнение панели расширяет ее технологические возможности: облегчает регулирование угла наклона в двух взаимно перпендикулярных плоскостях и механизирует очистку поверхности панели от пыли и атмосферных осадков, ухудшающих качество работы батарей.
ОПИСАНИЕ ИЗОБРЕТЕНИЯ
Изобретение относится к области использования солнечной энергии и превращения ее в электрическую и может быть использовано при создании новых механизмов для рационального использования солнечных батарей.
Известны панели солнечных батарей, конструкция которых описана в журнале "Экономика + техника" №1 за 1990 г. стр.70-72. Она состоит из рамы, вертикальных стоек и собственно солнечных батарей, смонтированных на раме, устанавливаемой под определенным углом наклона.
Существенным недостатком этой конструкции является узкий технологический диапазон использования: нельзя менять угол наклона панели в зависимости от изменения положения солнца на небосклоне, не предусмотрена очистка панели от пыли и осадков и т.д.
Задача изобретения состоит в расширении технологического диапазона использования солнечной батареи.
Задача решается тем, что в панели солнечной батареи, состоящей из рамы с вертикальными опорами и собственно элементов батареи, рама выполнена в виде прямоугольника с соотношением малой и большей сторон a/b=1,618, где a - меньшая сторона рамы, b - большая сторона рамы, а поперечные и продольные ребра рамы установлены так, что образованные ими прямоугольные ячейки имеют такое же соотношение малой и большей сторон, при этом рама установлена шарнирно на центральной опоре с возможностью независимого поворота в двух взаимно перпендикулярных плоскостях: поперечно-вертикальной и продольно-вертикальной, причем сверху рамы установлена цилиндрическая щетка с возможностью вращения вокруг продольной оси за счет шестеренчато-реечной передачи, смонтированной на обоих торцах щетки и с возможностью движения щетки вверх-вниз по раме за счет установленной с обратной стороны рамы горизонтально по оси симметрии панели лебедки с эластичным тяговым элементом, соединяющийся с двумя симметрично установленными по краям щетки кольцами с возможностью их вращения, при этом эластичный тяговый элемент в месте присоединения к кольцам щетки раздваивается, а затем через 1/3...1/4 часть короткой стороны рамы снова соединяются в одну нить, которая входит в паз ролика, установленного снизу по оси симметрии рамы, и затем проходит через трубку с расширенным выходным концом на 90-100° и далее жестко присоединяется к барабану лебедки, причем с обратной стороны рамы установлены две дуги по 180° прямоугольного сечения с зубцами по внутренней поверхности во взаимно перпендикулярных плоскостях различного радиуса, при этом на центральной стойке установлены две прямозубые шестерни с возможностью вращения, сцепляющиеся соответственно с зубчатыми поверхностями двух указанных выше дуг для обеспечения поворота панели в двух взаимно перпендикулярных плоскостях, при этом собственно элементы батареи установлены жестко на прямоугольных основаниях, входящих с зазором в ячейку рамы, и закреплены жестко параллельно раме на плоских пружинах, проходящих через щель в поперечном ребре рамы и жестко закрепленные в нем, а на центральной стойке шарнирно закреплены нижние концы двух телескопических тяг в двух взаимно перпендикулярных плоскостях, причем верхние концы этих тяг и шарнирно и в тех же плоскостях закреплены на раме для фиксации панели под выбранным углом наклона в этих плоскостях.
Новые существенные признаки:
1 - рама выполнена в виде прямоугольника с соотношением малой и большей сторон a/b=1,618, где a - малая сторона рамы, b - большая сторона рамы, а поперечные и продольные ребра рамы установлены так, что образованные ими прямоугольные ячейки имеют такое же соотношение малой и большей сторон,
2 - рама установлена шарнирно на центральной опоре с возможностью независимого поворота в двух взаимно перпендикулярных плоскостях: поперечно-вертикальной и продольно-вертикальной,
3 - сверху рамы установлена цилиндрическая щетка с возможностью вращения вокруг продольной оси за счет шестеренчато-реечной передачи, смонтированной на обоих торцах щетки и с возможностью движения щетки вверх-вниз по панели за счет установленной с обратной стороны панели горизонтально по оси симметрии панели лебедки с эластичным тяговым элементом, соединяющимся с двумя симметрично установленными по краям щетки кольцами с возможностью их вращения,
4 - эластичный тяговый элемент в месте присоединения к кольцам щетки раздваивается, а затем через 1/3...1/4 часть короткой стороны рамы снова соединяются в одну нить, которая входит в паз ролика, установленного снизу по оси симметрии панели, и затем проходит через направляющую трубку с расширенным выходным концом на 90-100 и далее жестко присоединяется к барабану лебедки,
5 - с обратной стороны рамы установлены две дуги по 180 прямоугольного сечения с зубцами по внутренней поверхности во взаимно перпендикулярных плоскостях различного радиуса, при этом на центральной стойке установлены две прямозубые шестерни с возможностью вращения, сцепляющиеся соответственно с зубчатыми поверхностями двух указанных выше дуг для обеспечения поворота панели в двух взаимно перпендикулярных плоскостях,
6 - собственно элементы батареи установлены жестко на прямоугольных основаниях, входящих с зазором в ячейку рамы, и закреплены жестко параллельно раме на плоских пружинах, проходящих через щель в поперечном ребре рамы и жестко закрепленных в нем,
7 - на центральной стойке шарнирно закреплены нижние концы двух телескопических тяг в двух взаимно перпендикулярных плоскостях, а верхние концы и шарнирно и в тех же плоскостях закреплены на раме для фиксации панели под выбранным углом наклона в этих плоскостях.
Перечисленные новые существенные признаки в совокупности с известными необходимы и достаточны для достижения технического результата во всех случаях, на которые распространяется испрашиваемый объем правовой защиты.
Технический результат достигается за счет того, что
1 - рама выполнена в виде прямоугольника с заданным соотношением сторон и ячейки рамы с этим же соотношением сторон потому, что оно наиболее рационально и с конструктивной, и дизайнерской точки зрения,
2 - рама установлена шарнирно на центральной опоре с возможностью независимого поворота в двух взаимно перпендикулярных плоскостях для поиска наиболее выгодного положения панели и получения наибольшего тока в солнечных батареях,
3 - сверху панели установлена цилиндрическая щетка, которая имеет возможность двигаться вверх-вниз с помощью лебедки и вращаться за счет шестеренчато-реечной передачи, смонтированной на торцах щетки для того, чтобы обеспечивать периодическую очистку панели и от пыли и от осадков, которые ухудшают качество поверхности солнечных батарей,
4 - эластичный тяговый элемент в месте присоединения к кольцам щетки раздваивается, а затем через 1/3...1/4 часть короткой стороны рамы снова соединяются в одну нить для того, чтобы обеспечить подъем и опускание щетки во время очистки панели, а раздвоение нити около колец обеспечивает одинаковое натяжение без перекоса, а возможность вращения колец позволяет сохранять параллельность щетки во время работы,
5 - с оборотной стороны рамы установлены две дуги по 180 прямоугольного сечения с зубцами по внутренней поверхности во взаимно перпендикулярных плоскостях различного радиуса для обеспечения поворота панели в этих плоскостях и для этого же установлены две прямозубые шестерни, сцепляющиеся соответственно с зубчатыми поверхностями двух указанных выше дуг,
6 - собственно элементы батареи установлены жестко на прямоугольных основаниях, входящих с зазором в ячейку рамы для снижения ветровой нагрузки, и закреплены жестко параллельно раме на плоских пружинах, проходящих через щель в поперечном ребре рамы и жестко закрепленных в нем для того, чтобы при превышении ветровой нагрузки рассчитанного предела она, сжимая плоскую пружина, повернулась на некоторый угол, увеличивая зазоры между ребрами рамы и уменьшая сопротивление ветру, а при уменьшения силы ветра плоские пружины автоматически возвращают солнечные элементы в исходное положение,
7 - на центральной стойке шарнирно закреплены нижние концы двух телескопических тяг в двух взаимно перпендикулярных плоскостях, а верхние концы и шарнирно и в тех же плоскостях закреплены на раме для фиксации панели под выбранным углом наклона в этих плоскостях.
![]() | ![]() |
![]() | ![]() |
![]() | ![]() |
![]() | ![]() |
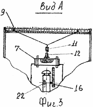
На фиг.1 дан фронтальный вид на панель солнечной батареи, на фиг.2 дан вид сверху на панель, на фиг.3 дан вид по стрелке А сзади панели, показывающий привод на щетку и положение лебедки, на фиг.4 дано сечение Б-Б с фиг.1, показывающее конструкцию лебедки, на фиг.5 дан в крупном плане узел I с фиг.2, показывающий расположение собственно солнечных батарей в ячейках рамы, на фиг.6 дано сечение В-В с фиг.5, показывающее взаимосвязь плоской пружины с солнечными батареями, на фиг.7 дано сечение Г-Г фиг.6, показывающее соединение плоской пружины с накладками солнечных батарей, на фиг.8 дан вид по стрелке Д, показывающий дугу в продольно-вертикальной плоскости и телескопическую тягу в этой же плоскости.
Устроена панель солнечной батареи следующим образом: рама 1 выполнена в виде прямоугольника с соотношение сторон a/b = 1,618, где a - малая сторона рамы, b - большая сторона рамы, а продольные 2 и поперечные 3 ребра рамы 1 образуют ячейки с таким же соотношением сторон, рама 1 установлена шарнирно на центральной опоре 4 с возможностью независимого поворота в двух взаимно перпендикулярных плоскостях: поперечно-вертикальной и продольно-вертикальной, а сверху рамы 1 установлена цилиндрическая щетка 5 с возможностью вращения вокруг продольной оси за счет шестеренчато-реечной передачи 6, смонтированной на обоих торцах щетки 3 и с возможностью движения щетки вверх-вниз по панели за счет установленной с обратной стороны рамы 1 горизонтально по оси симметрии панели лебедки 7 с эластичным тяговым элементом 8, соединяющимся с двумя симметрично установленными по краям щетки 5 кольцами 9 с возможностью их вращения, при этом эластичный тяговый элемент 8 в месте присоединения к кольцам раздваивается, а затем через 1/3...1/4 часть короткой стороны рамы 1 снова соединяется в одну нить 10, которая входит в паз ролика 11, установленного снизу по оси симметрии панели, и затем проходит через направляющую трубку 12 с расширенным выходным концом на 90-100° и далее жестко присоединяется к барабану 13 лебедки 7, причем с обратной стороны рамы 1 установлены две дуги 14 и 15 по 180° прямоугольного сечения с зубцами по внутренней поверхности во взаимно перпендикулярных плоскостях различного радиуса, а на центральной стойке 4 установлены две прямозубые шестерни 16 и 17 с возможностью вращения, сцепляющиеся соответственно с зубчатыми поверхностями двух дуг 14 и 15 для обеспечения поворота панели в двух взаимно перпендикулярных плоскостях, а собственно элементы батареи установлены жестко на прямоугольных основаниях 18, входящих с зазором в ячейку рамы 1, и закреплены жестко параллельно раме на плоских пружинах 19, проходящих через щель в поперечном ребре 3 рамы 1 и жестко закрепленных в нем. На центральной стойке 4 шарнирно закреплены нижние концы двух телескопических тяг 20 и 21 в двух взаимно перпендикулярных плоскостях, а верхние концы и шарнирно и в тех же плоскостях закреплены на раме 1 для фиксации панели под выбранным углом наклона в этих плоскостях. Каждая шестерня 16 и 17 с обратной стороны установки снабжена гнездами 22 и 23 прямоугольного сечения, жестко соединенными с шестернями. Аналогичное гнездо 24 выполнено и на торце барабана 13 лебедки 7. Для удержания щетки в нижнем положении к раме жестко прикреплены два держателя 23 с полукруглыми захватами. Накладки 26 и 27 жестко прикреплены к основанию 18 и плоским пружинам 19.
Работа панели заключается в том, что ее сначала необходимо установить под необходимыми углами наклона, что достигается последовательным вращением шестерен 16 и 17 и последовательной установкой дуг 14 и 15, после того как тот или другой угол наклона панели установлен, его фиксируют соответствующей телескопической тягой 20 и 21. Если возникает необходимость после выпадения осадков или при сильной запыленности панели, запускают щетку 5 путем установки насадка дрели в гнездо 24 барабана 13 лебедки 7. После запуска дрели в одном направлении происходит опускание щетки вниз и она одновременно вращается за счет реечного зацепления 6, очищая поверхность панели, при обратном направлении вращения происходит подъем щетки в исходное положение и одновременное очищение поверхности панели. Вращение шестерен 16 и 17 осуществляется таким же путем, как и щетки, - установкой насадки дрели в соответствующие гнезда 22 или 23.
ФОРМУЛА ИЗОБРЕТЕНИЯ
Панель солнечной батареи, состоящая из рамы с вертикальными опорами и собственно элементов батареи, отличающаяся тем, что рама выполнена в виде прямоугольника с соотношением малой и большей сторон a/b=1,618, где a - меньшая сторона рамы, b - большая сторона рамы, а поперечные и продольные ребра рамы установлены так, что образованные ими прямоугольные ячейки имеют такое же соотношение малой и большей стороны, при этом рама установлена шарнирно на центральной опоре с возможностью независимого поворота в двух взаимно перпендикулярных плоскостях: поперечно-вертикальной и продольно-вертикальной, причем сверху рамы установлена цилиндрическая щетка с возможностью вращения вокруг продольной оси за счет шестеренчато-реечной передачи, смонтированной на обоих торцах щетки, и с возможностью движения щетки вверх-вниз по панели за счет установленной с обратной стороны рамы горизонтально по оси симметрии панели лебедки с эластичным тяговым элементом, соединяющимся с двумя симметрично установленными по краям щетки кольцами с возможностью их вращения, при этом эластичный тяговый элемент в месте присоединения к кольцам щетки раздваивается, а затем через 1/3...1/4 часть короткой стороны рамы снова соединяется в одну нить, которая входит в паз ролика, установленного снизу по оси симметрии панели и затем проходит через направляющую трубку с расширенным выходным концом на 90-100° и далее жестко присоединяется к барабану лебедки, причем с обратной стороны рамы установлены две дуги по 180° прямоугольного сечения с зубцами по внутренней поверхности во взаимно перпендикулярных плоскостях различного радиуса, при этом на центральной стойке установлены две прямозубые шестерни с возможностью вращения, сцепляющиеся соответственно с зубчатыми поверхностями двух указанных выше дуг для обеспечения поворота панели в двух взаимно перпендикулярных плоскостях, при этом собственно элементы батареи установлены жестко на прямоугольных основаниях, входящих с зазором в ячейку рамы и закреплены жестко параллельно раме на плоских пружинах, проходящих через щель в поперечном ребре рамы и жестко закрепленных в нем, при этом на центральной стойке шарнирно закреплены нижние концы двух телескопических тяг в двух взаимно перпендикулярных плоскостях, а верхние концы так же шарнирно и в тех же плоскостях закреплены на раме для фиксации панели под выбранным углом наклона в этих плоскостях.
Версия для печати
Дата публикации 12.01.2007гг
Created/Updated: 25.05.2018
|








