| Начало раздела Производственные, любительские Радиолюбительские Авиамодельные, ракетомодельные Полезные, занимательные | Хитрости мастеру Электроника Физика Технологии Изобретения | Тайны космоса Тайны Земли Тайны Океана Хитрости Карта раздела | |
| Использование материалов сайта разрешается при условии ссылки (для сайтов - гиперссылки) | |||
Навигация: => | На главную/ Каталог патентов/ В раздел каталога/ Назад / |
|
ИЗОБРЕТЕНИЕ
Патент Российской Федерации RU2044231
![]()
КОЛЛЕКТОР СОЛНЕЧНОГО ИЗЛУЧЕНИЯ
Имя изобретателя: Кадомский Д.Е.; Гордин Б.И.; Гущин Ю.А.; Зитта Н.Ф.; Тарасов А.Д.
Имя патентообладателя: Научно-исследовательский институт по передаче электроэнергии постоянным током высокого напряжения
Адрес для переписки:
Дата начала действия патента: 1992.09.29
Использование: в технике непосредственного преобразования энергии в электрическую, в частности в сооружениях солнечных энергетических установок и электростанций. Сущность изобретения: для уменьшения загрязнения светопрозрачного ограждения фотоэлементов коллектора солнечного излучения внешнее ограждение имеет электропроводящее покрытие и клемму заземления, а само ограждение установлено на изоляторе.
ОПИСАНИЕ ИЗОБРЕТЕНИЯ
Изобретение относится к преобразователям солнечной энергии в тепловую и электрическую, а именно, к конструкциям коллекторов солнечного излучения.
Известен комбинированный коллектор солнечного излучения, содержащий трубопровод с теплоносителем, каковым является инертный газ или жидкость, контактирующий с токопоглощающим элементом, на котором установлены фотоэлементы, и светопрозрачное ограждение, причем теплопоглощающий элемент и ограждение при размещении коллектора в фокусе концентратора могут устанавливаться концентрично трубопроводу.
Недостатком известного коллектора является снижение его выходной мощности на десятки процентов вследствие загрязнения его прозрачной поверхности пылевидными частицами. Эти загрязнения вызываются наличием постоянного электрического поля, создаваемого собственным электрическим потенциалом коллектора относительно "земли". В мощных гелиоустановках величина потенциала коллектора относительно земли может достигать нескольких киловольт. Загрязнение наружной поверхности коллектора вызывает снижение выходной электрической и тепловой мощности, выдаваемой установкой, по причине потери части светового потока, которая связана с ухудшением оптических характеристик покровного материала коллектора.
Указанный недостаток устраняется путем изменения конструкции коллектора.
Целью изобретения является такое изменение конструкции, которое защищает коллектор от запыления и увеличивает выходную мощность коллектора солнечной установки.
Поставленная цель достигается тем, что на корпусе коллектора установлены изоляторы, на которые крепится внешнее светопрозрачное ограждение, дополнительно имеющее снаружи, со стороны светового потока, электропроводное светопрозрачное покрытие, на котором установлена клемма заземления.
Наружное электропроводное светопрозрачное покрытие может быть выполнено в виде жесткой сетки из электропроводящего материала (например, металла).
В случае размещения коллектора в фокусе концентратора наружное электропроводное покрытие установлено концентрично коллектору.
Сущность изобретения заключается в следующем. В коллекторах солнечного излучения световой поток, проходя через светопрозрачное ограждение, предохраняющее расположенный внутри коллектор солнечного излучения от неблагоприятных воздействий окружающей среды, утилизируется в коллекторе. При этом часть солнечной энергии превращается в электрическую с помощью расположенных в коллекторе фотоэлектрических преобразователей.
В схемах солнечных электростанций для получения приемлемых электрических мощностей фотоэлементы в коллекторах (а и сами коллекторы) соединяются последовательно-параллельно, так что электрический потенциал фотоячейки (фотоэлементов) относительно "земли" может достигать нескольких киловольт.
Другая часть солнечной энергии утилизируется в теплопоглощающем элементе коллектора. Полученное тепло передается теплоносителю, циркулирующему в трубопроводе коллектора, и выводится из коллектора с целью дальнейшего использования для бытовых или промышленных нужд.
Внешнее светопрозрачное ограждение комбинированного коллектора солнечного излучения по прототипу в условиях эксплуатации будет загрязняться притягивающимися к ограждению под воздействием электростатических сил имеющимися в атмосфере заряженными пылевидными частицами, вследствие чего затрудняется подвод солнечного потока непосредственно к коллектору солнечного излучения, уменьшаются вырабатываемые электрическая и тепловая мощности.
Действительно, в окружающей коллектор атмосфере всегда находятся взвешенные частицы. В результате естественной радиации или в процессе коронирования близрасположенных электрических воздушных линий в атмосфере появляются носители электрических зарядов, которые, встречая на своем пути взвешенную частицу, присоединяются к ней, сообщая ей свой заряд. На заряженную частицу действуют электростатические силы, вызываемые электрическим полем в пространстве между коллектором солнечного излучения и землей или заземленными частями электроустановки. Под действием этих сил заряженные частицы двигаются к коллектору, достигают светопрозрачного ограждения и удерживаются на его поверхности, затеняя коллектор солнечного излучения.
Постепенно на светопрозрачном ограждении слой непрозрачных частиц увеличивается так, что мощность коллектора падает на десятки процентов.
Для устранения этого эффекта предлагается коллектор, со стороны светового потока снабдить дополнительным светопрозрачным покрытием из проводящего электрический ток материала, изолированным от коллектора и имеющим клемму заземления. Это покрытие должно быть светопрозрачным, так как устанавливается на пути светового потока. Поскольку дополнительное электропроводящее покрытие имеет заземление, собственное электрическое поле солнечного коллектора замыкается внутри дополнительного покрытия. Таким образом, направленное движение заряженных частиц к коллектору прекращается, так как на них не будет воздействовать электростатическая сила напряженности электрического поля.
Дополнительное покрытие должно быть изолировано от коллектора для того, чтобы на покрытии можно было установить электрический потенциал, отличный от коллектора (в данном случае потенциал "земли"), для чего установлена изоляция (например, изолирующая прокладка).
Дополнительное покрытие может быть выполнено в разнообразных видах:
1) прозрачное электропроводящее покрытие на внешней поверхности наружного
светопрозрачного ограждения коллектора,
2) жесткая сетка из электропроводящего материала (например, металла), расположенная с
наружной стороны коллектора.
Выполнение дополнительного покрытия в виде сетки из электропроводящего материала (вариант 2) является наиболее дешевым, однако в местностях с большой запыленностью и сильными ветрами некоторая часть пылевидных заряженных частиц будет заноситься ветром внутрь коллектора, попадать в его электростатическое поле и осаждаться на светопрозрачном ограждении. Поэтому этот вариант может эффективнее применяться в относительно чистых атмосферных условиях.
Эффективным и сравнительно недорогим является выполнение дополнительного покрытия в виде электропроводящего покрытия на внешней поверхности наружного светопрозрачного ограждения коллектора (вариант 1), поскольку в область действия электростатических сил заряженные пылевидные частицы через сплошное дополнительное покрытие проникнуть не могут даже под действием сильного ветра.
Авторам не известны конструкции коллекторов солнечного излучения, обладающие перечисленными выше положительными качествами (повышение КПД, электрической и тепловой мощности, упрощение эксплуатации), на основании чего можно говорить о наличии существенных отличий у данного (предлагаемого) технического решения.
![]() | ![]() |
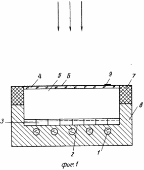
На фиг. 1 изображена конструкция плоского коллектора солнечного излучения; на фиг. 2 конструкция коллектора, расположенного в фокусе концентратора.
Коллектор содержит трубопровод 1 с теплоносителем (жидкость или инертный газ), контактирующий с теплопоглощающим элементом 2, на котором установлены фотоэлементы 3, светопрозрачное ограждение 4, образующее с теплопоглощающим элементом 2 замкнутую полость 5.
Со стороны светового потока ограждения 4 снабжается дополнительным покрытием 6, выполненным из светопрозрачного материала. Материал дополнительного покрытия 6 имеет способность проводить электрический ток.
Дополнительное электропроводящее покрытие 6 имеет изоляцию 7 относительно корпуса 8 коллектора и других его элементов. Кроме того, дополнительное покрытие 6 имеет клемму для заземления 9.
При выполнении коллектора плоским все его элементы устанавливаются в корпусе 8. При размещении коллектора в фокусе концентратора 10 (фиг. 2), например параболоцилиндрического, теплопоглощающий элемент 2, фотоэлементы 3, светопрозрачное ограждение 4 с дополнительным светопрозрачным электропроводящим покрытием 6 устанавливаются концентрично трубопроводу 1 и закрепляются на нем.
В коллекторе используются фотоэлементы 3, например полупроводниковые, на основе различных модификаций кремния или арсенида галлия. Конструктивно фотоэлементы могут представлять из себя плоские пластины или гибкие тонкие пленки.
Ограждение 4 выполняется из светопрозрачного материала, например из стекла или пластмассы. Полость 5, образованная ограждением 4 и теплопоглощающим элементом 2, может быть вакуумирована либо заполнена инертным газом или прозрачной теплоаккумулирующей химически нейтральной жидкостью.
При освещении коллектора на его деталях возникает электрический потенциал, величина которого определяется количеством последовательно соединенных фотоэлементов. Под воздействием этого потенциала заряженные пылевидные частицы, находящиеся в атмосфере, под воздействием электростатических сил могут притягиваться к коллектору и оседать на светопрозрачном ограждении 4, ухудшая его прозрачность. Для предотвращения загрязнения коллектора на внешнюю поверхность наружного светопрозрачного ограждения 4 дополнительно наносят электропроводящее светопрозрачное покрытие 6, на котором установлена клемма заземления 9. Покрытие 6 может быть выполнено, например, на основе смеси оксидов олова и индия. Покрытие 6 может быть выполнено в виде сетки из электропроводящего материала, например из нержавеющей металлической проволоки с размером ячейки 5-10 мм. Диаметр проволоки должен быть минимальным с точки зрения обеспечения механической прочности с тем, чтобы обеспечить высокий коэффициент пропускания солнечного потока, например диаметр провода может быть выбран в пределах 0,15-0,2 мм. Покрытие 6 с помощью контакта 9 соединено с "землей" (имеет заземление).
Поскольку плотность тока, вызываемого рекомбинацией подходящих к дополнительному покрытию 6 заряженных пылевидных частиц, незначительна, то поперечное сечение S токопроводов, соединяющих дополнительное покрытие 6 с "землей", будет определяться только их механической прочностью, т.е. S > 1-2 мм.
Наружное светопрозрачное ограждение 4 с дополнительным электропроводящим светопрозрачным покрытием 6 имеет электрическую изоляцию 7 (фиг. 1) относительно коллектора. В плоском коллекторе (фиг. 1) по форме изоляционная деталь 7, изготавливаемая из диэлектрика, например стеклотекстолита, может являться продолжением верхней части корпуса 8. В цилиндрическом коллекторе 8 (фиг. 2) изоляцией будет служить диэлектрик, заполняющий полость 5 (инертный газ, химически нейтральная жидкость или вакуум).
С торцов цилиндрического коллектора ограждение 4 с дополнительным покрытием 6 поддерживается изоляционными пластинами, изготовленными из диэлектрика и закрепленными на трубопроводе 1.
КОЛЛЕКТОР РАБОТАЕТ СЛЕДУЮЩИМ ОБРАЗОМ
Солнечное излучение, проходящее через ограждение 4 и покрытие 6 поглощается фотоэлементами 3 и теплопоглощающими элементами 2. Часть энергии, поглощенной фотоэлементами, преобразуется в электричество, другая часть в тепло и передается теплоносителю. Излучение, поглощенное непосредственно теплопоглощающим элементом 2, полностью превращается в тепло и и отводится от коллектора с помощью теплоносителя в трубопроводе 1. При работе фотоэлементов вокруг коллектора образуется электростатическое поле, притяги- вающее заряженные запыляющие частицы из окружающей атмосферы. Электростатическое поле коллектора нейтрализуют, соединяя дополнительное токопроводящее покрытие 6 внешнего светопрозрачного ограждения 4 через клемму заземления 9 с "землей". При этом электростатические силы притягивания к коллектору не действуют на заряженные запыляющие частицы, находящиеся в окружающей атмосфере.
Эффективность описанного устройства зависит от конкретных конструкций коллектора и характеристики места его установки. Наибольший эффект от применения предлагаемых конструкций возникает при использовании подобных конструкций в кол- лекторах солнечных электростанций, расположенных в районах с сухим климатом.
ФОРМУЛА ИЗОБРЕТЕНИЯ
1. КОЛЛЕКТОР СОЛНЕЧНОГО ИЗЛУЧЕНИЯ, содержащий приемник излучения в виде фотоэлементов и установленное с зазором относительно последних по меньшей мере одно светопрозрачное ограждение, отличающийся тем, что внешнее светопрозрачное ограждение снабжено снаружи электропроводящим светопрозрачным покрытием с установленной на нем клеммой заземления.
2. Коллектор по п.1, отличающийся тем, что электропроводящее покрытие выполнено в виде жесткой сетки.
3. Коллектор по пп. 1 и 2, отличающийся тем, что при корпусном выполнении коллектора светопрозрачное ограждение закреплено на корпусе через изоляторы.
Версия для печати
Дата публикации 03.02.2007гг
Created/Updated: 25.05.2018
|


