| Начало раздела Производственные, любительские Радиолюбительские Авиамодельные, ракетомодельные Полезные, занимательные | Хитрости мастеру Электроника Физика Технологии Изобретения | Тайны космоса Тайны Земли Тайны Океана Хитрости Карта раздела | |
| Использование материалов сайта разрешается при условии ссылки (для сайтов - гиперссылки) | |||
Навигация: => | На главную/ Каталог патентов/ В раздел каталога/ Назад / |
|
ИЗОБРЕТЕНИЕ
Патент Российской Федерации RU2226731
![]()
ПРОФИЛЬ ДЛЯ ИЗГОТОВЛЕНИЯ ОБРАМЛЕНИЯ СОЛНЕЧНОГО МОДУЛЯ
Имя изобретателя: Кузнецов А.В.; Попов И.В.; Новиков А.В.; Кирсанов Ю.Д.; Миронов С.В.
Имя патентообладателя: Общество с ограниченной ответственностью Научно- производственный центр завода "Красное знамя"
Адрес для переписки: 390043, г.Рязань, пр-д Шабулина, 2А, ООО НПЦ завода "Красное знамя", нач. отдела А.И. Майоровой
Дата начала действия патента: 2002.12.27
Изобретение относится к области изготовления оптоэлектронных приборов, в частности, фотоэлектрических солнечных модулей. Технический результат изобретения заключается в обеспечении простоты сборки обрамления солнечного модуля, быстрой удобной установки в рабочее положение, высокой надежности соединения обрамления с панелью солнечного модуля при низком расходе герметика. Сущность: профиль для изготовления обрамления солнечного модуля выполнен из алюминия и имеет ребра, образующие один паз под установку панели солнечного модуля и второй паз под установку крепежных элементов для сборки обрамления солнечного модуля. Профиль снабжен еще одним дополнительным пазом, выполненным с возможностью фиксации в нем по всей его длине крепежных элементов для монтажа солнечного модуля в рабочее положение. Головки болтов можно перемещать по дополнительному пазу для выбора нужного удобного положения их фиксации. Боковые стенки дополнительного паза и ребро второго паза под установку крепежных элементов для сборки обрамления солнечного модуля выполнены за одно целое, при этом указанные стенки выполнены Г-образной формы и расположены перпендикулярно поверхности упомянутого выше ребра.
ОПИСАНИЕ ИЗОБРЕТЕНИЯ
Изобретение относится к области изготовления оптоэлектронных приборов, в частности, фотоэлектрических солнечных модулей.
Известен профиль для изготовления обрамления солнечного модуля, выполненный из жесткого материала и имеющий форму швеллера с ребрами, образующими пазы, один из которых имеет ширину 7 мм и предназначен под установку панели солнечного модуля, другой - под установку крепежных элементов (см. профиль А-1333 "Воронежского завода строительных конструкций им. Ф.Б.Якубовского", открытое применение с 1995г.).
Известный профиль не обеспечивает достаточной степени надежности изготавливаемого из него обрамления и предусматривает большой расход герметика при установке солнечного модуля в указанное обрамление.
Известен профиль для изготовления обрамления солнечного модуля, выполненный из жесткого материала и имеющий форму швеллера с несколькими ребрами, образующими рабочие пазы, один из которых предназначен под установку панели солнечного модуля, два других - под установку крепежных элементов, при этом ширина рабочего паза под установку панели солнечного модуля не превышает 5,5 мм, ширина профиля не превышает 38 мм, сторона швеллера для крепления обрамления солнечного модуля к рабочему месту имеет высоту не более 20 мм, а пазы под установку крепежных элементов имеют посадочное место диаметром не более 4 мм (см. свидетельство на полезную модель РФ №20197, публ. 2001г.).
Недостаток известного профиля в значительных габаритах, весе, сложности сборки из него обрамления солнечного модуля. Необходимость выполнения дополнительных специальных отверстий под крепежные элементы на той поверхности профиля, которая является тыльной в обрамлении солнечного модуля, затрудняет в дальнейшем установку солнечного модуля на опорном устройстве в рабочее положение.
Изобретение решает задачу создания профиля для обрамления солнечного модуля, обеспечивающего простоту сборки обрамления солнечного модуля, быструю удобную установку в рабочее положение, высокую надежность соединения указанного обрамления с панелью солнечного модуля при низком расходе герметика.
Поставленная задача достигается тем, что профиль для изготоления обрамления солнечного модуля, выполненный из жесткого материала с ребрами, образующими паз под установку панели солнечного модуля и по меньшей мере один паз под установку крепежных элементов для сборки обрамления солнечного модуля, снабжен дополнительным пазом, выполненным с возможностью произвольной фиксации в нем по всей длине крепежных элементов для монтажа солнечного модуля в рабочее положение, при этом боковые стенки дополнительного паза и ребро паза под установку крепежных элементов для сборки обрамления солнечного модуля выполнены за одно целое.
Целесообразно боковые стенки дополнительного паза выполнить Г-образной формы и расположить их перпендикулярно поверхности ребра паза под установку крепежных элементов для сборки обрамления солнечного модуля.
Предпочтительно дополнительный паз выполнить с возможностью размещения в нем головок крепежных элементов для монтажа солнечного модуля в рабочее положение.
Целесообразно паз для установки панели солнечного модуля выполнить шириной, не превышающей 5 мм, при этом стенку, являющуюся боковой поверхностью обрамления солнечного модуля, выполнить шириной не более 18 мм.
Проведенный анализ уровня техники, включающий поиск по патентным и научно-техническим источникам информации и выявление источников, содержащих сведения об аналогах заявляемого изобретения, позволяет установить, что заявителями не обнаружены технические решения, характеризующиеся признаками, идентичными всем существенным признакам заявленного изобретения. Определение из перечня выявленных аналогов прототипа позволило выявить совокупность существенных (по отношению к усматриваемому заявителем техническому результату) отличительных признаков в заявляемом объекте, изложенных в формуле изобретения. Следовательно, заявляемое изобретение соответствует требованию "новизна" по действующему законодательству.
Сведений об известности отличительных признаков в совокупностях признаков известных технических решений с достижением такого же, как у заявляемого устройства, положительного эффекта не имеется. На основании этого сделан вывод, что предполагаемое техническое решение соответствует критерию "изобретательский уровень".
![]() | ![]() | ![]() |
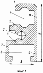
На фиг.1 представлен профиль (вид сбоку).
На фиг.2 показан профиль относительно направления установки головки крепежного элемента для крепления солнечного модуля в рабочее положение.
На фиг.3 изображено в сечении крепление профиля обрамления солнечного модуля в рабочее положение.
Профиль для изготовления обрамления солнечного модуля выполнен (фиг.1) из жесткого материала, в частности алюминия, и имеет ребра 1, 2, 3, образующие соответственно паз 4 под установку панели солнечного модуля шириной не более 5,0 мм и паз 5 под установку крепежных элементов, например самонарезающих винтов с посадочным местом диаметром не более 4 мм, для сборки обрамления солнечного модуля.
Профиль снабжен дополнительным пазом 6, выполненным с возможностью произвольной фиксации в нем по всей его длине крепежных элементов для монтажа солнечного модуля в рабочее положение. Боковые стенки 7, 8 дополнительного паза 6 и ребро 3 паза 5 под установку крепежных элементов для сборки обрамления солнечного модуля выполнены за одно целое, при этом указанные стенки 7, 8 выполнены Г-образной формы и расположены перпендикулярно поверхности ребра 3.
Дополнительный паз 6 выполнен шириной (h) не более 8 мм с возможностью размещения в нем головок 9 крепежных элементов, в частности, болтов, для монтажа солнечного модуля в рабочее пложение. Паз 4 для установки панели 10 солнечного модуля выполнен шириной не более 5 мм, при этом стенка 11, являющаяся боковой поверхностью обрамления солнечного модуля, выполнена шириной (S) не более 18 мм.
Применение профиля осуществляют следующим образом. Части нарезанного профиля заданной длины используются для изготовления обрамления солнечного модуля путем их скрепления, например, винтами, устанавленными в соответствующие каналы 5. Для крепления солнечного модуля в рабочем положении необходимо предварительно вставить головки болтов в паз 6 профиля (фиг.2), а затем вставить болты в отверстия опорного устройства 12 и закрепить их с помощью гаек 13, как показано на фиг.3.
Предлагаемый профиль при более низких массогабаритных показателях, чем прототип, обеспечивает удобство крепления солнечного модуля в рабочее положение и высокую надежность изготавливаемого из него обрамления. Головки болтов можно перемещать по указанному дополнительному пазу для выбора нужного удобного положения их фиксации. Кроме того, профиль позволяет применять небольшое количество герметика для установки панели солнечного модуля. Оптимальность конструкции обеспечивает указанный положительный результат.
ФОРМУЛА ИЗОБРЕТЕНИЯ
1. Профиль для изготовления обрамления солнечного модуля, выполненный из жесткого материала с ребрами, образующими паз под установку панели солнечного модуля и по меньшей мере один паз под установку крепежных элементов для сборки обрамления солнечного модуля, отличающийся тем, что он снабжен дополнительным пазом, выполненным с возможностью произвольной фиксации в нем по всей его длине крепежных элементов для монтажа солнечного модуля в рабочее положение, при этом боковые стенки дополнительного паза и ребро паза под установку крепежных элементов для сборки обрамления солнечного модуля выполнены за одно целое.
2. Профиль по п.1, отличающийся тем, что боковые стенки дополнительного паза выполнены Г-образной формы и расположены перпендикулярно поверхности ребра паза под установку крепежных элементов для сборки обрамления солнечного модуля.
3. Профиль по пп.1 и 2, отличающийся тем, что дополнительный паз выполнен с возможностью размещения в нем головок крепежных элементов для монтажа солнечного модуля в рабочее положение.
4. Профиль по любому из пп.1-3, отличающийся тем, что ширина паза для установки панели солнечного модуля не превышает 5 мм, при этом стенка, являющаяся боковой поверхностью обрамления солнечного модуля, имеет ширину не более 18 мм.
Версия для печати
Дата публикации 18.03.2007гг
Created/Updated: 25.05.2018
|



