| Начало раздела Производственные, любительские Радиолюбительские Авиамодельные, ракетомодельные Полезные, занимательные | Хитрости мастеру Электроника Физика Технологии Изобретения | Тайны космоса Тайны Земли Тайны Океана Хитрости Карта раздела | |
| Использование материалов сайта разрешается при условии ссылки (для сайтов - гиперссылки) | |||
Навигация: => | На главную/ Каталог патентов/ В раздел каталога/ Назад / |
|
ИЗОБРЕТЕНИЕ
Патент Российской Федерации RU2206837
![]()
СОЛНЕЧНЫЙ МОДУЛЬ С КОНЦЕНТРАТОРОМ (ВАРИАНТЫ)
Имя изобретателя: Стребков Д.С.; Безруких П.П.; Тверьянович Э.В.
Имя патентообладателя: Стребков Дмитрий Семенович; Безруких Павел Павлович; Тверьянович Эдуард Владимирович
Адрес для переписки: 109456, Москва, 1-й Вешняковский пр-д, 2, ВИЭСХ, ОНТИ и патентования, О.В.Голубевой
Дата начала действия патента: 2001.01.19
Изобретение относится к гелиоэнергетике, в частности к солнечным энергетическим модулям с концентратором, в котором солнечное излучение собирается параболоцилиндрическим фоклином, выполненным из двух параболоцилиндров. Согласно изобретению в солнечном модуле, содержащем линейно-фокусирующий параболоцилиндрический зеркальный отражатель и приемник в виде полосы, установленный параллельно фокальной плоскости отражателя, зеркальный отражатель выполнен в виде одной ветви параболоцилиндрического отражателя с апертурным углом менее 48o и снабжен вторым полуцилиндрическим зеркальным отражателем, края ветвей которого совпадают с фокальной осью и ветвью основного параболоцилиндрического зеркального отражателя, оптическая ось второго зеркального отражателя параллельна фокальной оси основного отражателя и расположена на середине расстояния между фокальной осью и ветвью основного зеркального отражателя, а между осью и ветвью второго зеркального отражателя установлен параллельно фокальной оси третий зеркальный полуцилиндрический отражатель, края которого совпадают с осью и ветвью второго зеркального отражателя. Изобретение должно обеспечить увеличение коэффициента концентрации, повышение эффективности использования солнечной энергии и снижение стоимости получаемой электроэнергии и теплоты.
ОПИСАНИЕ ИЗОБРЕТЕНИЯ
Изобретение относится к гелиоэнергетике, в частности к солнечным энергетическим модулям с концентратором, в котором солнечное излучение собирается параболоцилиндрическим фоклином, выполненным из двух параболоцилиндров, и отражается на приемник излучения, установленный на нижнем основании фоклина (патент США 3923381 от 02.12.1975, кл. 350/293, 126/271, 350/294).
Недостатком известного модуля
является низкая концентрация, связанная с
его апертурным углом
соотношением Kгеом = 1/sin
,
при
= 250°,
Кгеом= 2,36. Другим недостатком
является низкая эффективность
использования солнечной энергии из-за
неравномерного освещения приемника
концентрированным излучением.
Известен солнечный фотоэлектрический модуль с концентратором солнечной энергии, содержащий скоммутированные и установленные между двумя листами стекла двусторонние солнечные элементы в виде полос, перпендикулярных основанию модуля, с тыльной стороны которых симметрично относительно середины солнечных элементов установлено два полуцилиндрических концентратора, суммарная площадь аппаратуры которых в два раза больше площади солнечных элементов. При установке модуля под углом к горизонту, равным по широте местности и полярной ориентации оси концентраторов юг-север, фотоэлектрический модуль работает круглый год без слежения за солнцем с теоретическим коэффициентом концентрации К=2. Фактически коэффициент концентрации с учетом косинусных потерь и потерь на отражение составляет 1,56 (I. Edmond. Solar Energy Materials. 1990, 21, p. 173-190).
Недостатком известного фотоэлектрического модуля является низкий коэффициент концентрации и высокая стоимость модуля, практически равная стоимости фотоэлектрического модуля без концентратора. Другим недостатком является невозможность использования модуля при другой, кроме полярной, системы ориентации на Солнце, например в фотоэлектрических фасадах зданий и при ориентации восток-запад.
Еще одним недостатком известного устройства является невозможность использования его в фасадах зданий для получения теплоты и освещения зданий естественным солнечным излучением.
Задачей изобретения является увеличение коэффициента концентрации, повышение эффективности использования солнечной энергии и снижение стоимости получаемой электроэнергии и теплоты, а и создание эффективных гелиотехнических устройств, встроенных в фасады и крыши зданий для обеспечения их электроэнергией, теплом, горячей водой, энергией для приготовления пищи и естественным солнечным освещением.
В результате использования предлагаемого солнечного модуля с концентратором увеличивается коэффициент концентрации, появляется возможность использования солнечного модуля для энергоснабжения и освещения зданий и создания энергетических установок.
Вышеуказанный технический результат достигается тем, что в солнечном модуле с концентратором, содержащем основной линейно-фокусирующий параболоцилиндрический зеркальный отражатель и приемник в виде полосы, установленный параллельно фокальной оси основного отражателя, основной зеркальный отражатель выполнен в виде одной ветви параболоцилиндрического отражателя с апертурным углом менее 48o и снабжен вторым полуцилиндрическим зеркальным отражателем, края ветвей которого совпадают с фокальной осью и ветвью основного параболоцилиндрического зеркального отражателя, оптическая ось второго зеркального отражателя параллельна фокальной оси основного отражателя и расположена на середине расстояния между фокальной осью и ветвью основного зеркального отражателя, а между оптической осью и ветвью второго зеркального отражателя установлен параллельно фокальной оси третий зеркальный полуцилиндрический отражатель, края которого совпадают с оптической осью и ветвью второго зеркального отражателя, а полоса приемника с двухсторонней поверхностью установлена между осью и ветвью третьего зеркального отражателя, причем третий зеркальный отражатель снабжен устройством поворота вокруг своей оси.
Для увеличения эффективности солнечного модуля с концентратором в солнечном модуле с концентратором третий дополнительный отражатель установлен параллельно фокальной оси между осями основного и второго дополнительного отражателей, а полоса приемника установлена между осями основного и третьего отражателей.
Для увеличения эффективности солнечного модуля с концентратором края третьего дополнительного отражателя совпадают с фокальной осью основного отражателя и осью второго дополнительного отражателя, а полоса приемника установлена между осями второго и третьего дополнительных отражателей.
В солнечном модуле с концентратором для увеличения эффективности третий дополнительный отражатель установлен параллельно фокальной оси между осью второго дополнительного отражателя и краем основного отражателя, а полоса приемника установлена между осями второго и третьего дополнительных отражателей.
Для увеличения эффективности в солнечном модуле с концентратором третий дополнительный отражатель установлен между осью второго дополнительного отражателя и ветвью основного отражателя, а полоса приемника установлена между осью третьего дополнительного отражателя и ветвью основного отражателя.
Для увеличения эффективности в солнечном модуле с концентратором оси дополнительного отражателя и полоса приемника установлены параллельно фокальной оси в фокальной плоскости основного отражателя.
В солнечном модуле с концентратором для увеличения эффективности третий дополнительный отражатель установлен параллельно фокальной оси в плоскости симметрии между осью и вершиной второго дополнительного отражателя, а пластина приемника установлена в плоскости симметрии второго дополнительного отражателя.
Для увеличения продолжительности работы солнечного модуля с концентратором третий полуцилиндрический зеркальный отражатель выполнен с возможностью поворота вокруг оптической оси на 180o при прохождении концентрированного солнечного излучения через оптическую ось второго полуцилиндрического отражателя и его освещении, а и при попадании концентрированного солнечного излучения на тыльную выпуклую сторону третьего полуцилиндрического отражателя.
В другом варианте в солнечном модуле с концентратором, содержащем основной линейно-фокусирующий цилиндрический зеркальный отражатель и приемник излучения, установленный параллельно фокальной оси основного отражателя, основной отражатель выполнен из двух разновеликих частей, причем большая часть отражателя выполнена в виде одной ветви параболоцилиндрического отражателя, а меньшая часть в виде кругового цилиндрического отражателя с осью, совпадающей с фокальной осью параболоцилиндрического отражателя, основной зеркальный отражатель снабжен вторым и третьим дополнительными отражателями, оси которых параллельны фокальной оси, ось второго дополнительного отражателя расположена на середине плоскости, соединяющей фокальную ось основного отражателя и линию пересечения краев основного и второго дополнительного отражателей, а края ветвей третьего дополнительного отражателя совпадают с осью и ветвью второго дополнительного отражателя, а полоса приемника с двухсторонней рабочей поверхностью установлена между осью и ветвью третьего дополнительного отражателя, а третий дополнительный зеркальный отражатель снабжен устройством поворота вокруг своей оси.
Для увеличения эффективности солнечного модуля с концентратором в солнечном модуле с концентратором третий дополнительный отражатель установлен параллельно фокальной оси между осями основного и второго дополнительного отражателей, а полоса приемника установлена между осями основного и третьего отражателей.
Для увеличения эффективности солнечного модуля с концентратором края третьего дополнительного отражателя совпадают с фокальной осью основного отражателя и осью второго дополнительного отражателя, а полоса приемника установлена между осями второго и третьего дополнительных отражателей.
В солнечном модуле с концентратором для увеличения эффективности третий дополнительный отражатель установлен параллельно фокальной оси между осью второго дополнительного отражателя и краем основного отражателя, а полоса приемника установлена между осями второго и третьего дополнительных отражателей.
Для увеличения эффективности в солнечном модуле с концентратором третий дополнительный отражатель установлен между осью второго дополнительного отражателя и ветвью основного отражателя, а полоса приемника установлена между осью третьего дополнительного отражателя и ветвью основного отражателя.
Для увеличения эффективности в солнечном модуле с концентратором оси дополнительного отражателя и полоса приемника установлены параллельно фокальной оси в фокальной плоскости основного отражателя.
В солнечном модуле с концентратором для увеличения эффективности третий дополнительный отражатель установлен параллельно фокальной оси в плоскости симметрии между осью и вершиной второго дополнительного отражателя, а пластина приемника установлена в плоскости симметрии второго дополнительного отражателя.
Для увеличения продолжительности работы солнечного модуля с концентратором третий полуцилиндрический зеркальный отражатель выполнен с возможностью поворота вокруг оптической оси на 180o при прохождении концентрированного солнечного излучения через оптическую ось второго полуцилиндрического отражателя и его освещении, а и при попадании концентрированного солнечного излучения на тыльную выпуклую сторону третьего полуцилиндрического отражателя.
В другом варианте в солнечном модуле с концентратором, содержащем основной линейно-фокусирующий цилиндрический зеркальный отражатель и приемник излучения, установленный параллельно фокальной оси основного отражателя, между фокальной осью и ветвью основного зеркального отражателя установлены параллельно фокальной оси попарно два или более дополнительных вторых и третьих зеркальных полуцилиндрических отражателей, ветви вторых дополнительных зеркальных отражателей соединены между собой, образуя непрерывные полосы из полуцилиндров, которые объединены с основным отражателем в единую оптическую концентрирующую систему, внутри каждого второго дополнительного полуцилиндрического отражателя установлен третий полуцилиндрический зеркальный отражатель таким образом, что ветви каждого третьего дополнительного зеркального отражателя установлены между оптической осью и ветвью соответствующего второго дополнительного зеркального отражателя, а полоса приемника излучения установлена между оптической осью и ветвью каждого третьего дополнительного зеркального отражателя.
Для увеличения эффективности солнечного модуля с концентратором в солнечном модуле с концентратором третий дополнительный отражатель установлен параллельно фокальной оси между осями основного и второго дополнительного отражателей, а полоса приемника установлена между осями основного и третьего отражателей.
Для увеличения эффективности солнечного модуля с концентратором края третьего дополнительного отражателя совпадают с фокальной осью основного отражателя и осью второго дополнительного отражателя, а полоса приемника установлена между осями второго и третьего дополнительных отражателей.
В солнечном модуле с концентратором для увеличения эффективности третий дополнительный отражатель установлен параллельно фокальной оси между осью второго дополнительного отражателя и краем основного отражателя, а полоса приемника установлена между осями второго и третьего дополнительных отражателей.
Для увеличения эффективности в солнечном модуле с концентратором третий дополнительный отражатель установлен между осью второго дополнительного отражателя и ветвью основного отражателя, а полоса приемника установлена между осью третьего дополнительного отражателя и ветвью основного отражателя.
Для увеличения эффективности в солнечном модуле с концентратором оси дополнительного отражателя и полоса приемника установлены параллельно фокальной оси в фокальной плоскости основного отражателя.
В солнечном модуле с концентратором для увеличения эффективности третий дополнительный отражатель установлен параллельно фокальной оси в плоскости симметрии между осью и вершиной второго дополнительного отражателя, а пластина приемника установлена в плоскости симметрии второго дополнительного отражателя.
Для увеличения продолжительности работы солнечного модуля с концентратором третий полуцилиндрический зеркальный отражатель выполнен с возможностью поворота вокруг оптической оси на 180o при прохождении концентрированного солнечного излучения через оптическую ось второго полуцилиндрического отражателя и его освещении, а и при попадании концентрированного солнечного излучения на тыльную выпуклую сторону третьего полуцилиндрического отражателя.
Солнечный модуль с концентратором
установлен на балконе здания, или
установлен в виде стены здания, или
установлен под прозрачной крышей здания, а
фокальная плоскость наклонена к
горизонтальной плоскости под углом 113,5°-
,
где
- широта местности, при горизонтальном
расположении солнечного модуля и под углом
113,5°-
- при вертикальном расположении модуля, где
- апертурный угол концентратора.
В другом варианте исполнения фокальная
плоскость параболоцилиндрического
отражателя наклонена к горизонтальной
плоскости под углом 66,5°-
при вертикальном расположении солнечного
модуля. Для получения горячей воды и
отопления солнечный модуль с
концентратором содержит приемник в виде
пластины металлического абсорбера с
просветляющим покрытием на двух сторонах
пластины, окруженной с двух сторон
прозрачной теплоизолирующей оболочкой.
Приемник имеет каналы для протекания
охлаждающей жидкости или воздуха.
Для комбинированного производства электрической энергии и теплоты на металлической пластине закреплены с двух сторон скоммутированные солнечные элементы с просветляющим покрытием.
Для получения электрической энергии солнечный модуль имеет приемник из скоммутированных солнечных элементов с двухсторонней рабочей поверхностью, которые заключены в прозрачную оболочку.
Для увеличения эффективности преобразования солнечной энергии в электрическую энергию и тепло солнечный модуль содержит два или более приемника с металлическим абсорбером, у которых каналы для протекания охлаждающей жидкости соединены последовательно и параллельно таким образом, что поток охлаждающей жидкости направлен от приемника с солнечными элементами к приемнику с просветляющим покрытием.
Для увеличения продолжительности работы солнечного модуля с концентратором в стационарном положении третий полуцилиндрический зеркальный отражатель поворачивают вокруг оптической оси на 180oпри прохождении концентрированного солнечного излучения через оптическую ось второго полуцилиндрического отражателя и его освещении, а и при освещении концентрированным излучением тыльной выпуклой поверхности третьего полуцилиндрического отражателя.
Сущность изобретения поясняется чертежами.
![]() | ![]() |
На фиг. 1 представлен общий вид солнечного модуля с концентратором, где основной зеркальный отражатель выполнен в виде одной ветви параболоцилиндрического концентратора с апертурным углом 36o, а края полосы приемника излучения совпадают с оптической осью и ветвью третьего зеркального отражателя.
На фиг. 2 - солнечный модуль с концентратором, где зеркальный отражатель состоит из двух разновеликих частей, а края полосы приемника излучения совпадают с фокальной осью параболоцилиндрического концентратора и осью третьего зеркального полуцилиндрического отражателя.
![]() | ![]() | ![]() |
На фиг. 3 - солнечный модуль с концентратором, где основной зеркальный отражатель выполнен в виде одной ветви параболоцилиндрического отражателя и снабжен вторым и третьим полуцилиндрическими зеркальными отражателями, а полоса приемника излучения установлена в плоскости симметрии параболоцилиндрического концентратора между его ветвью и оптической осью третьего полуцилиндрического отражателя.
На фиг. 4 - солнечный модуль с концентратором, где края полосы приемника излучения совпадают с оптическими осями второго и третьего зеркальных полуцилиндрических отражателей.
На фиг. 5 - солнечный модуль с концентратором, где полоса приемника излучения установлена между ветвью и оптической осью третьего зеркального полуцилиндрического отражателя.
![]() | ![]() |
![]() |
На фиг. 6 - солнечные модули с концентраторами, установленные вертикально в виде стены здания друг над другом, у каждого модуля полоса приемника излучения установлена в вертикальной плоскости между оптической осью и ветвью третьего зеркального полуцилиндрического отражателя.
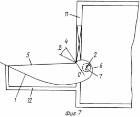
На фиг. 7 - солнечный модуль с концентратором, установленный на балконе здания.
На фиг. 8 - солнечный модуль с концентратором, установленный под прозрачной крышей здания.
На фиг. 1 солнечный модуль с концентратором
содержит основной фокусирующий
параболоцилиндрический зеркальный
отражатель 1 с апертурным углом
,
приемником с двухсторонней рабочей
поверхностью 2, фокальной осью 3 и фокальной
плоскостью отражателя 4.
Ширина солнечного модуля в горизонтальной плоскости равна ширине D модуля 5 концентратора плюс радиус R второго полуцилиндрического отражателя 6 с оптической шириной d, приемник 2 установлен перпендикулярно плоскости модуля 5 между фокальной осью 3 и осью O1 третьего полуцилиндрического зеркального отражателя 7.
Фокальная плоскость 3 наклонена к
горизонтальной плоскости 8 под углом
.
Угол
может изменяться в пределах от
1= 113,75°-
до
2= 66,25°-
+
.
В первом случае
1фокальная плоскость 4
параболоцилиндрического концентратора 1
направлена на положение Солнца 22 июня (летнее
солнцестояние), во втором случае
2- ветвь параболоцилиндрического
концентратора 1 направлена на положение
Солнца 22 декабря (зимнее солнцестояние).
Солнечный модуль с концентратором 1 крепится к горизонтальной плоскости 8 с помощью опор 9.
На фиг. 2 солнечный модуль с концентратором содержит линейно-фокусирующий зеркальный отражатель, состоящий из параболоцилиндрического зеркального отражателя 1 с фокальной осью 3 и расположенного за фокальной плоскостью 4 кругового цилиндрического отражателя 10 с радиусом R1, равным фокусному расстоянию AF параболоцилиндрического концентратора.
Для увеличения концентрации солнечного излучения солнечный модуль содержит второй полуцилиндрический отражатель 6 с радиусом R=AF/2=OF и третий полуцилиндрический отражатель 7 с радиусом R2=FO1=R2/2. Приемник излучения 2 имеет ширину d=R2 и установлен в плоскости модуля 5 между фокальной осью 3 параболоцилиндрического отражателя 1 и оптической осью O1третьего зеркального отражателя 7.
На фиг. 3 солнечный модуль с концентратором содержит фокусирующий параболоцилиндрический зеркальный отражатель 1 с фокальной осью 3, установленный в фокальной плоскости 4 приемник с двухсторонней рабочей поверхностью 2, второй полуцилиндрический зеркальный отражатель 6 с центром О, радиус R=OF= AF/2 которого равен половине фокусного расстояния AF параболоцилиндрического отражателя 1. При введении третьего полуцилиндрического зеркального концентратора 7 площадь приемника 2 уменьшается в два раза и возрастает коэффициент геометрической концентрации.
На фиг. 4 солнечный модуль с концентратором содержит фокусирующий параболоцилиндрический зеркальный отражатель 1 с фокальной осью 3, приемник с двухсторонней рабочей поверхностью 2, установленный в фокальной плоскости 4, два вторых полуцилиндрических зеркальных отражателя 6 и два третьих полуцилиндрических отражателя 7, имеющих общую точку пересечения ветвей в точке О, причем OF=AO. Края полосы приемника излучения 2 совпадают с оптическими осями 1третьих зеркальных отражателей 7.
На фиг. 5 солнечный модуль с концентратором содержит фокусирующий параболоцилиндрический зеркальный отражатель 1 с фокальной осью 3, установленный вертикально приемник с двухсторонней рабочей поверхностью 2, второй и третий полуцилиндрические зеркальные отражатели 6 и 7, причем края полосы приемника излучения совпадают с оптической осью O1 и ветвью третьего зеркального отражателя 7.
Угол
наклона фокальной плоскости 4
параболоцилиндрического концентратора 1 к
горизонтальной плоскости изменяется от
1= 66,25°-
до
2= 113,75°-
-
.
Угол
1соответствует ориентации фокальной
плоскости на положение Солнца 22 декабря и
угол
2соответствует ориентации ветви
параболоцилиндрического концентратора 1 на
положение Солнца 22 июня.
На фиг. 6 солнечные модули с
параболоцилиндрическими концентраторами 1
установлены в вертикальной стене здания 11.
Каждый солнечный модуль с концентратором
содержит фокусирующий
параболоцилиндрический зеркальный
отражатель 1 с фокальной осью 3, приемник с
двухсторонней рабочей поверхностью 2,
второй и третий полуцилиндрические
зеркальные отражатели 6 и 7. Фокальная
плоскость 4 параболоцилиндрического
концентратора 1 наклонена к горизонтальной
плоскости под углом
,
где
имеет значения от
1= 66,25°-
до
2= 113,75°-
-
.
На фиг. 7 солнечный модуль с концентратором содержит фокусирующий параболоцилиндрический зеркальный отражатель 1 с фокальной осью 3, приемник с двухсторонней рабочей поверхностью 2, второй и третий полуцилиндрические зеркальные отражатели 6 и 7. Солнечный модуль с концентратором установлен на балконе 12 здания 11. Приемник 2 установлен в плоскости симметрии ОО1полуцилиндрического второго зеркального отражателя 6 между оптической осью O1 и ветвью третьего отражателя 7.
На фиг. 8 солнечные модули с концентратором установлены под прозрачной крышей 13 здания 11. Каждый солнечный модуль с концентратором содержит фокусирующий параболоцилиндрический зеркальный отражатель 1 с фокальной осью 3. Приемник с двухсторонней рабочей поверхностью 2 установлен в фокальной плоскости между фокальной осью 3 и ветвью третьего полуцилиндрического зеркального отражателя 7.
Приемник 2 выполнен в виде пластины металлического абсорбера с просветляющим покрытием на двух сторонах, окруженного с двух сторон прозрачной теплоизолирующей оболочкой. Приемник имеет каналы для протекания воды или для обдува воздухом.
В другом варианте исполнения приемника 2 на металлической пластине абсорбера установлены с двух сторон вместо просветляющего покрытия скоммутированные солнечные элементы с просветляющим покрытием.
Еще в одном варианте конструкции в качестве приемника 2 установлены скоммутированные солнечные элементы с двухсторонней рабочей поверхностью.
Солнечный модуль с концентратором работает следующим образом.
Параболоцилиндрический концентратор 1 с
фокальной осью 3 (фиг. 1), ориентированной с
запада на восток, концентрирует солнечное
излучение в пределах апертурного угла
на приемнике 2. Солнечное излучение 22 июня
концентрируется на фокальной оси 3. По мере
уменьшения склонения Солнца в пределах
апертурного угла
полоса концентрированного излучения
перемещается от фокальной оси вдоль
приемника 2. Цилиндрические отражатели 6 и 7
увеличивают концентрацию солнечного
излучения при низком склонении Солнца,
когда солнечное излучение падает на часть
отражателей 6 и 7, удаленных от фокальной оси
3. Приемник 2 преобразует солнечную энергию
в тепловую и электрическую энергию. Для
увеличения продолжительности работы
солнечного модуля с концентратором в
стационарном положении третий
полуцилиндрический зеркальный отражатель 7
поворачивают вокруг его оптической оси O1на 180o при прохождении
сконцентрированного солнечного излучения
через оптическую ось О второго
полуцилиндрического отражателя 6 и его
освещении, а и при попадании
концентрированного излучения на тыльную
выпуклую поверхность третьего
полуцилиндрического отражателя 7.
Время работы солнечного модуля в
стационарном состоянии определяется
соотношением T0 = 365
/94,
где Т0 - количество дней работы, а
- апертурный угол концентратора в градусах.
Для солнечных модулей время стационарной работы Т0 равно времени перемещения полосы концентрированного излучения вдоль приемника 2 с двух его сторон последовательно.
Для солнечных модулей с дополнительными вторым 6 и третьим 7 полуцилиндрическими отражателями на фиг.1 полоса концентрированного солнечного излучения в течение времени Т0/4 попадает на одну поверхность приемника 2, а в течение времени с Т0/4 до Т0/2 переотражается с помощью третьего дополнительного зеркального отражателя 7 на противоположную рабочую поверхность приемника 2. В результате площадь приемника 2 уменьшается в 2 раза и возрастает коэффициент концентрации. При снижении угла склонения Солнца солнечное излучение, сконцентрированное параболоцилиндрическим концентратором 1, перемещается в фокальной плоскости 4 от фокальной оси 3 вниз. По истечении времени Т= Т0/2 при переходе концентрированного излучения вниз через оптическую ось О второго полуцилиндрического отражателя поворачивают на 180o вокруг оси O1третий полуцилиндрический зеркальный отражатель 7. При этом сконцентрированное солнечное излучение отражается от второго дополнительного зеркального отражателя 6 и попадает на третий зеркальный отражатель 7 и приемник 2 с двухсторонней рабочей поверхностью. Эффективность использования солнечного излучения увеличивается за счет перераспределения концентрированного излучения на полуцилиндрическом отражателе 6 или 7 и более однородного и равномерного освещения приемника 2.
Коэффициент геометрической концентрации
равен
Kгеом = D/d = 8/1-cos(2
).
Для
°= 24, 32, 36°значения геометрической концентрации
составляют 24,2, 14,2 и 11,6 соответственно, т.е.
введение третьего зеркального
концентратора увеличивает коэффициент
концентрации до 11,6 - 24,2-кратной.
Примеры конкретного исполнения солнечного модуля с концентратором.
1. Солнечный фотоэлектрический модуль с параболоцилиндрическим концентратором 1 имеет размер модуля 5 1,25·1,2 м, длину 1,25 м, апертурный угол 36o, диаметр второго дополнительного полуцилиндрического отражателя 200 мм, а ширина приемника излучения 2 равна 100 мм. В качестве полосы приемника 2 установлены вертикально (фиг. 1) 36 скоммутированных солнечных элементов размером 25·100 мм в стеклянной оболочке шириной 110 мм и общей длиной 900 мм.
Солнечный модуль на широте г.Москвы
ориентирован на юг таким образом, что
фокальная плоскость 4 наклонена к
горизонтальной поверхности под углом 58o.
Время работы в стационарном состоянии для
широты г.Москвы
= 55°составляет 9 месяцев, с 7 февраля по 7 декабря.
Через 4,5 месяца работы - 15 апреля и 30 августа
- поворачивают третий дополнительный
зеркальный отражатель 7 вокруг оси O1на 180o. С 15 апреля по 30 августа третий
зеркальный отражатель 7 установлен в
положении, показанном на фиг. 1-4 сплошной
линией, а в период с 30 августа до 15 апреля
третий зеркальный отражатель 7 установлен в
положении, показанном на фиг. 1-4 пунктирной
линией. Электрическая мощность
электрического модуля равна 100 Вт,
напряжение 12 В, коэффициент геометрической
концентрации 11,6, оптический КПД 0,8,
фактический коэффициент концентрации 9,28.
2. Солнечный тепловой модуль с
параболоцилиндрическим концентратором 1 на
фиг. 5, 6 установлен на широте г.Геленджика с
апертурой
= 24°,
имеет приемник 2 в виде абсорбера из
пластины алюминия толщиной 2 мм, в центре
которой сваркой присоединена трубка из
латуни диаметром 15 мм. Абсорбер имеет с двух
сторон просветляющее покрытие и защитное
покрытие из закаленного стекла толщиной 3
мм с покрытием, отражающим ИК-излучение.
Ширина D модуля равна 2,16 м, длина 2,5 м. При
вертикальном расположении приемника 2
шириной 100 мм, радиусами второго отражателя
400 мм и третьего отражателя 200 мм
коэффициент геометрической концентрации
равен 24,2. Фокальная плоскость 4 наклонена к
горизонтальной плоскости под углом 45o.
Время стационарной работы составляет 6
месяцев, с 22 марта по 22 сентября, а тепловая
мощность модуля равна 4 кВт, температура
воды на выходе из абсорбера 95oС.
В течение времени с 7 мая по 7 августа третий зеркальный отражатель 7 работает в положении, показанном на фиг. 5, 6 пунктирной линией, а с 22 марта по 7 мая и с 7 августа по 22 сентября работает в положении, показанном на фиг. 5, 6 сплошной линией.
По сравнению с прототипом при использовании двухсторонних приемников 2 удается упростить конструкцию стационарного концентратора, используя одну ветвь параболы, уменьшить фокусное расстояние модуля, увеличить степень концентрации излучения и за счет снижения площади приемника снизить стоимость солнечного модуля.
ФОРМУЛА ИЗОБРЕТЕНИЯ
1. Солнечный модуль с концентратором, содержащий основной линейно-фокусирующий параболоцилиндрический зеркальный отражатель и приемник в виде полосы, установленный параллельно фокальной оси основного отражателя, отличающийся тем, что основной зеркальный отражатель выполнен в виде одной ветви параболоцилиндрического отражателя с апертурным углом менее 48oи снабжен вторым полуцилиндрическим зеркальным отражателем, края ветвей которого совпадают с фокальной осью и ветвью основного параболоцилиндрического отражателя, оптическая ось второго зеркального отражателя параллельна фокальной оси основного отражателя и расположена на середине расстояния между фокальной осью и ветвью основного зеркального отражателя, а между оптической осью и ветвью второго зеркального отражателя установлен параллельно фокальной оси третий зеркальный полуцилиндрический отражатель, края которого совпадают с оптической осью и ветвью второго зеркального отражателя, а полоса приемника с двусторонней поверхностью установлена между осью и ветвью третьего зеркального отражателя, причем третий зеркальный отражатель снабжен устройством поворота вокруг своей оси.
2. Солнечный модуль с концентратором по п.1, отличающийся тем, что третий дополнительный отражатель установлен параллельно фокальной оси между осями основного и второго дополнительного отражателей, а полоса приемника установлена между осями основного и третьего отражателей.
3. Солнечный модуль с концентратором по п.1, отличающийся тем, что края третьего дополнительного отражателя совпадают с фокальной осью основного отражателя и осью второго дополнительного отражателя, а полоса приемника установлена между осями второго и третьего дополнительных отражателей.
4. Солнечный модуль с концентратором по п.1, отличающийся тем, что третий дополнительный отражатель установлен параллельно фокальной оси между осью второго дополнительного отражателя и краем основного отражателя, а полоса приемника установлена между осями второго и третьего дополнительных отражателей.
5. Солнечный модуль с концентратором по п.1, отличающийся тем, что третий дополнительный отражатель установлен между осью второго дополнительного отражателя и ветвью основного отражателя, а полоса приемника установлена между осью третьего дополнительного отражателя и ветвью основного отражателя.
6. Солнечный модуль с концентратором по п.1, отличающийся тем, что оси дополнительного отражателя и полоса приемника установлены параллельно фокальной оси в фокальной плоскости основного отражателя.
7. Солнечный модуль с концентратором по п.1, отличающийся тем, что третий дополнительный отражатель установлен параллельно фокальной оси в плоскости симметрии между осью и вершиной второго дополнительного отражателя, а пластина приемника установлена в плоскости симметрии второго дополнительного отражателя.
8. Солнечный модуль с концентратором по любому из пп.1-7, отличающийся тем, что третий полуцилиндрический зеркальный отражатель выполнен с возможностью поворота вокруг оптической оси на 180o при прохождении концентрированного солнечного излучения через оптическую ось второго полуцилиндрического отражателя и его освещении, а и при попадании концентрированного солнечного излучения на тыльную выпуклую сторону третьего полуцилиндрического отражателя.
9. Солнечный модуль с концентратором, содержащий основной линейно-фокусирующий цилиндрический зеркальный отражатель и приемник излучения, установленный параллельно фокальной оси основного отражателя, отличающийся тем, что основной отражатель выполнен из двух разновеликих частей, причем большая часть отражателя выполнена в виде одной ветви параболоцилиндрического отражателя, а меньшая часть - в виде кругового цилиндрического отражателя с осью, совпадающей с фокальной осью параболоцилиндрического отражателя, основной зеркальный отражатель снабжен вторым и третьим дополнительными отражателями, оси которых параллельны фокальной оси, ось второго дополнительного отражателя расположена на середине плоскости, соединяющей фокальную ось основного отражателя и линию пересечения краев основного и второго дополнительного отражателей, края ветвей третьего дополнительного отражателя совпадают с осью и ветвью второго дополнительного отражателя, полоса приемника с двусторонней рабочей поверхностью установлена между осью и ветвью третьего дополнительного отражателя, а третий дополнительный зеркальный отражатель снабжен устройством поворота вокруг своей оси.
10. Солнечный модуль с концентратором по п.9, отличающийся тем, что третий дополнительный отражатель установлен параллельно фокальной оси между осями основного и второго дополнительного отражателей, а полоса приемника установлена между осями основного и третьего отражателей.
11. Солнечный модуль с концентратором по п.9, отличающийся тем, что края третьего дополнительного отражателя совпадают с фокальной осью основного отражателя и осью второго дополнительного отражателя, а полоса приемника установлена между осями второго и третьего дополнительных отражателей.
12. Солнечный модуль с концентратором по п.9, отличающийся тем, что третий дополнительный отражатель установлен параллельно фокальной оси между осью второго дополнительного отражателя и краем основного отражателя, а полоса приемника установлена между осями второго и третьего дополнительных отражателей.
13. Солнечный модуль с концентратором по п.9, отличающийся тем, что третий дополнительный отражатель установлен между осью второго дополнительного отражателя и ветвью основного отражателя, а полоса приемника установлена между осью третьего дополнительного отражателя и ветвью основного отражателя.
14. Солнечный модуль с концентратором по п.9, отличающийся тем, что оси дополнительного отражателя и полоса приемника установлены параллельно фокальной оси в фокальной плоскости основного отражателя.
15. Солнечный модуль с концентратором по п.9, отличающийся тем, что третий дополнительный отражатель установлен параллельно фокальной оси в плоскости симметрии между осью и вершиной второго дополнительного отражателя, а пластина приемника установлена в плоскости симметрии второго дополнительного отражателя.
16. Солнечный модуль с концентратором по любому из пп.9-15, отличающийся тем, что третий полуцилиндрический зеркальный отражатель выполнен с возможностью поворота вокруг оптической оси на 180oпри прохождении концентрированного солнечного излучения через оптическую ось второго полуцилиндрического отражателя и его освещении, а и при попадании концентрированного солнечного излучения на тыльную выпуклую сторону третьего полуцилиндрического отражателя.
17. Солнечный модуль с концентратором, содержащий основной линейно-фокусирующий цилиндрический зеркальный отражатель и приемник излучения, установленный параллельно фокальной оси основного отражателя, отличающийся тем, что между фокальной осью и ветвью основного зеркального отражателя установлены параллельно фокальной оси попарно два или более дополнительных вторых и третьих зеркальных полуцилиндрических отражателя, ветви вторых дополнительных зеркальных отражателей соединены между собой, образуя непрерывные полосы из полуцилиндров, которые объединены с основным отражателем в единую оптическую концентрирующую систему, внутри каждого второго дополнительного полуцилиндрического отражателя установлен третий полуцилиндрический зеркальный отражатель так, что ветви каждого третьего дополнительного зеркального отражателя установлены между оптической осью и ветвью соответствующего второго дополнительного зеркального отражателя, а полоса приемника излучения установлена между оптической осью и ветвью каждого третьего дополнительного зеркального отражателя.
18. Солнечный модуль с концентратором по п.17, отличающийся тем, что третий дополнительный отражатель установлен параллельно фокальной оси между осями основного и второго дополнительного отражателей, а полоса приемника установлена между осями основного и третьего отражателей.
19. Солнечный модуль с концентратором по п.17, отличающийся тем, что края третьего дополнительного отражателя совпадают с фокальной осью основного отражателя и осью второго дополнительного отражателя, а полоса приемника установлена между осями второго и третьего дополнительных отражателей.
20. Солнечный модуль с концентратором по п.17, отличающийся тем, что третий дополнительный отражатель установлен параллельно фокальной оси между осью второго дополнительного отражателя и краем основного отражателя, а полоса приемника установлена между осями второго и третьего дополнительных отражателей.
21. Солнечный модуль с концентратором по п.17, отличающийся тем, что третий дополнительный отражатель установлен между осью второго дополнительного отражателя и ветвью основного отражателя, а полоса приемника установлена между осью третьего дополнительного отражателя и ветвью основного отражателя.
22. Солнечный модуль с концентратором по п.17, отличающийся тем, что оси дополнительного отражателя и полоса приемника установлены параллельно фокальной оси в фокальной плоскости основного отражателя.
23. Солнечный модуль с концентратором по п.17, отличающийся тем, что третий дополнительный отражатель установлен параллельно фокальной оси в плоскости симметрии между осью и вершиной второго дополнительного отражателя, а пластина приемника установлена в плоскости симметрии второго дополнительного отражателя.
24. Солнечный модуль с концентратором по любому из пп.17-23, отличающийся тем, что третий полуцилиндрический зеркальный отражатель выполнен с возможностью поворота вокруг оптической оси на 180oпри прохождении концентрированного солнечного излучения через оптическую ось второго полуцилиндрического отражателя и его освещении, а и при попадании концентрированного солнечного излучения на тыльную выпуклую сторону третьего полуцилиндрического отражателя.
Версия для печати
Дата публикации 24.03.2007гг
Created/Updated: 25.05.2018
|








