| Начало раздела Производственные, любительские Радиолюбительские Авиамодельные, ракетомодельные Полезные, занимательные | Хитрости мастеру Электроника Физика Технологии Изобретения | Тайны космоса Тайны Земли Тайны Океана Хитрости Карта раздела | |
| Использование материалов сайта разрешается при условии ссылки (для сайтов - гиперссылки) | |||
Навигация: => | На главную/ Каталог патентов/ В раздел каталога/ Назад / |
|
ИЗОБРЕТЕНИЕ
Патент Российской Федерации RU2268396
![]()
СПОСОБ И УСТРОЙСТВО ДЛЯ ГЕНЕРИРОВАНИЯ ЭЛЕКТРИЧЕСКОЙ ЭНЕРГИИ ПУТЕМ ПРЕОБРАЗОВАНИЯ ЭНЕРГИИ УПЛОТНЕННОГО ВОЗДУШНОГО ПОТОКА
Имя изобретателя: ХУАН Ченьвень (CN)
Имя патентообладателя: ХУАН Ченьвень (CN)
Адрес для переписки: 101000, Москва, Центр, а/я 732, Агентство ТРИА РОБИТ, пат.пов. Г.М.Вашиной
Дата начала действия патента: 2002.04.10
Изобретение относится к способу и устройству для преобразования ветровой энергии в электрическую, в частности к способу уплотнения воздушного протока и устройству для уплотнения воздушного потока и преобразования его энергии в электрическую. Технический результат заключается в обеспечении возможности регулирования направления ветра и площади поперечного сечения ветровоспринимающего органа, понижении механических потерь на трение, повышении эффективности и энергогенерирующей способности устройства. Предложено ветроколлекторное устройство для регулирования направления сбора ветровой энергии и уплотнения воздушного потока, чем обеспечено увеличение силы, действующей на ветротурбинные устройства, и выходной мощности ветроэнергетической установки. Предложены направляющее устройство для уменьшения аэродинамического сопротивления ветротурбинного устройства и средство ориентирования, обеспечивающее автоматическое регулирование направления сбора ветровой энергии. Ветроколлекторное устройство имеет произвольную форму и установлено с возможностью перемещения, поворота или изменения формы, площадь поперечного сечения входа ветроколлекторного устройства превышает площадь поперечного сечения его выхода, благодаря чему на выходе ветроколлекторного устройства обеспечена достаточная аэродинамическая сила для вращения ветротурбинных устройств даже при слабом естественном ветре. В двухбашенном варианте ветроэнергетической установки одна ветрогенераторная башня установлена неподвижно, а другая - с возможностью перемещения. Ось ветрогенераторной башни перпендикулярна поверхности земли. Ветрогенераторная башня может иметь форму тела вращения с криволинейной образующей или форму цилиндра. Выработка электрической энергии осуществляется при вращении множества ветротурбинных устройств, установленных горизонтально на ветрогенераторных башнях одно над другим.
ОПИСАНИЕ ИЗОБРЕТЕНИЯ
Предлагаемое изобретение относится к способу и устройству для преобразования ветровой энергии в электрическую энергию, в частности к устройству для получения электрической энергии путем преобразования энергии уплотненного воздушного потока.
Многие традиционные способы получения электрической энергии, в частности, связанные со сжиганием топлива - угля, нефти или газа, или работающие на ядерном топливе, сильно загрязняют окружающую среду. Кроме того, атомные электростанции представляют опасность, и их постройка является неприемлемой для населения. Использование гидроэлектростанций ограничено природными источниками. Большинство гидроресурсов уже задействовано. Для увеличения выработки энергии разрабатываются новые источники, начинают использовать ветровую энергию, солнечную энергию, энергию морских приливов и т.д.
В 1920-е годы для получения энергии использовали ветряное колесо. В 1931 году ветровой генератор мощностью 100 кВт был построен в городе Балаклава, Крым, Советский Союз, это самый первый Ветровой генератор электрической энергии. Согласно германским данным, на конец 2000 года было установлено 9375 ветровых генераторов, мощность которых составляла 6113 мВт, и вырабатываемая ими электрическая энергия составляла 2,5% от общей выработки электрической энергии в Германии в 2000 году. Кроме того, в упомянутом году количество ветровых генераторов в Германии выросло с 1496 до 1668.
Большинство традиционных ветровых генераторов установлены вертикально, а ось вращения их ротора ориентирована по направлению горизонтального воздушного потока. В большинстве ветровых генераторов естественным потоком воздуха приводится во вращение крыльчатое колесо. С помощью зубчатой передачи скорость вращения изменяется должным образом, и на выходе генератора получают электрическую энергию. Традиционному крыльчатому ветровому генератору с горизонтальной осью вращения присущи следующие недостатки:
1. Площадь поперечного сечения воздушного потока, поступающего на крыльчатую ветровую турбину, ограничена, поэтому и количество генерируемой энергии ограничено.
2. Максимальная эффективность (кпд) традиционной ветровой турбины составляет всего 59.26%
3. Большие потери на трение в зубчатой передаче.
4. При увеличении размеров крыльчатки возрастает опасность разрушения ее сильным ветром (ураганом).
5. При малом ветре выработка энергии ограничена.
6. Необходимо увеличение площади поперечного сечения воспринимаемого воздушного потока.
7. При слабом ветре возникают проблемы с запуском крыльчатки, вплоть до невозможности запуска.
8. Аэродинамическое сопротивление лопастей прямо пропорционально скорости вращения во второй степени, что является ограничением для выхода энергии.
9. Из-за действия приземного слоя воздуха невозможно обеспечить ровное вращение крыльчатки.
10. Ввиду необходимости большой площади поперечного сечения воздушного потока требуются большие средства на строительство фундамента ветроэнергетической установки.
11. При вращении крыльчатки возникает большой шум.
По причине вышеперечисленных недостатков традиционный ветровой генератор имеет низкую экономическую эффективность и не находит широкого применения.
Обычно в ветровых генераторах для приведения в движение органа, генерирующего электрическую энергию, используется естественный воздушный поток. Для повышения эффективности выработки энергии увеличивают площадь поперечного сечения воспринимаемого ветряным колесом воздушного потока.
Увеличение радиуса воспринимающего воздушный поток ветряного колеса приводит к необходимости увеличения размеров опорной конструкции. Это, в свою очередь, приводит к увеличению стоимости сооружения, однако выработка электрической энергии остается ограниченной. Из-за влияния приземного слоя воздушного потока горизонтальная скорость ветра является разной на разной высоте, а и нерегулярно изменчивой. При вращении ветряного колеса больших размеров на него действует неуравновешенная сила, которая может привести к повреждению ветряного колеса. Когда ветряное колесо вращается с высокой скоростью, возможно разогревание передаточного механизма, а и повреждение лопастей. Таким образом, лопасти следует исключить.
Как известно из мировой практики, у ветровых лопастных генераторов с горизонтальной осью вращения при двух лопастях имеет место более высокая механическая эффективность - кпд от 0,40 до 0,47. Это высокоскоростное ветряное колесо развивает высокую линейную скорость. При высоких скоростях вращения лопастей аэродинамическое сопротивление прямо пропорционально второй степени скорости вращения, а значит и линейной скорости элементов лопастей. При скорости ветра в пределах от 12 м/с до 17 м/с линейная скорость концов лопастей близка к половине скорости звука. То есть, аэродинамическое сопротивление велико, и вырабатываемая на выходе электрическая энергия достигает некоторого максимального значения, которое называется производительностью ветроэнергетической установки. Когда скорость ветра превышает это характеристическое для ветроэнергетической установки значение, находящееся в пределах от 12 м/с до 17 м/с, выработка электрической энергии не увеличивается с увеличением скорости ветра, а остается неизменной или даже уменьшается. При скорости ветра 25-30 м/с линейная скорость концов лопастей близка к скорости звука. Площадь лопасти и аэродинамическое сопротивление лопасти велики, и слишком большое аэродинамическое сопротивление может привести к выходу ветровой турбины из строя.
Кроме того, согласно законам динамики жидкостей и газов предельная эффективность традиционных ветровых генераторов с горизонтальной осью вращения составляет 59,26%, но по причине потерь энергии при преобразовании ветровой энергии в электрическую энергию на практике максимальная эффективность не превышает 47%.
Как следует из вышеприведенного описания, эффективность ветрового генератора прямо пропорциональна третьей степени скорости воздушного потока, действующего на ветряное колесо. Из чего можно заключить, что эффективным способом увеличения выработки электрической энергии могло бы быть увеличение скорости воздушного потока, действующего на ветряное колесо. Из того факта, что выработка электрической энергии ветрового генератора прямо пропорциональна моменту вращения ветряного колеса, а значение этого момента вращения прямо пропорционально силе и плечу этой силы, следует, что для увеличения выработки электрической энергии необходимо увеличить прилагаемую силу и/или плечо этой силы.
В лопастных ветровых генераторах аэродинамическое сопротивление лопастей прямо пропорционально второй степени скорости вращения лопастей. Когда скорость ветра превышает оптимальное значение, ветряное колесо имеет большое аэродинамическое сопротивление. Это увеличение аэродинамического сопротивления не компенсируется увеличением скорости вращения, в результате чего выход электрической энергии вместо того, чтобы увеличиваться, начнет уменьшаться. Если же возникает потребность в устройстве, которое обеспечивало бы для увеличения выработки электрической энергии возможность увеличения скорости воздушного потока, действующего на ветряное колесо, то должен быть разработан ветровой генератор другой системы, полностью отличающейся от традиционной. Кроме того, должны быть разработаны и способ и устройство для управления ветряным колесом и воздушным потоком, приводящим его в движение. Кроме того, при взаимодействии воздушного потока с лопастями возникают вибрации, следствием которых является возникновение шума. То есть, требуется создание нового малошумящего ветряного колеса, которое должно прийти на смену традиционным лопастям и которое должно быть лишено их недостатков в этом отношении. Для обеспечения того, чтобы для приведения в движение ветряного колеса было достаточно меньшей скорости ветра, требуется разработка нового устройства для сбора ветровой энергии (ветроколлекторного устройства) и новой ветрогенераторной башни, обеспечивающих собирание массы, энергии и момента воздушного потока с обеспечением увеличения скорости и силы воздушного потока, действующего на ветряное колесо. То есть, нужно сделать так, чтобы вращение ветряного колеса обеспечивалось даже при малой скорости ветра. Для увеличения потока воздуха, действующего на ветряное колесо, используется устройство для сбора ветровой энергии или же для направления воздушного потока необходима башня для установки генератора (ветрогенераторная башня). Чтобы избежать влияния краевого эффекта, и необходима ветрогенераторная башня. Кроме того, чтобы обойти ограничение максимальной эффективности 59,26%, необходимо разработать ветряное колесо новой системы. Для обеспечения прямой пропорциональности выхода вырабатываемой энергии третьей степени скорости ветра при урагане необходима новая система ветряного колеса, которая обеспечивала бы понижение аэродинамического сопротивления при вращении ветряного колеса на высокой скорости. Для уменьшения аэродинамического сопротивления при инверсном вращении ветровой турбины, то есть в направлении, противоположном тому, которое соответствует фактическому направлению ветра, используется направляющее устройство, экранирующее естественный воздушный поток. Для изменения направления сбора энергии ветра с помощью ветроколлекторного устройства, башни и направляющего устройства используется средство ориентирования. Это средство ориентирования может использоваться для поворота опорной системы. Способ и устройство для сбора ветровой энергии по предлагаемому изобретению подчиняются принципам динамики жидкостей и газов.
КРАТКОЕ ОПИСАНИЕ ИЗОБРЕТЕНИЯ
В соответствии с вышеизложенным целью предлагаемого изобретения является создание способа сбора ветровой энергии и устройства для генерирования электрической энергии при большом количестве собранной ветровой энергии, так что обеспечивается возможность регулирования направления ветра и площади поперечного сечения органа, воспринимающего воздушный поток с обеспечением управления выходом генерируемой электрической энергии.
Еще одна цель предлагаемого изобретения состоит в создании ветроколлекторного способа и устройства для генерирования электрической энергии с увеличенной площадью ветросбора.
Еще одна цель предлагаемого изобретения состоит в создании ветроколлекторного способа и устройства для генерирования электрической энергии с пониженными механическими потерями на трение.
Еще одна цель предлагаемого изобретения состоит в создании ветроколлекторного способа и устройства для генерирования электрической энергии с повышенной устойчивостью к ветру ураганной силы.
Еще одна цель предлагаемого изобретения состоит в создании ветроколлекторного способа и устройства для генерирования электрической энергии с обеспечением достаточно сильного воздушного потока, действующего на рабочий орган, даже в условиях, когда естественный воздушный поток слишком слаб для поддержания вращения ветровой турбины.
Еще одна цель предлагаемого изобретения состоит в создании ветроколлекторного способа и устройства для генерирования электрической энергии с пониженным аэродинамическим сопротивлением и повышенными энергогенерирующей способностью и эффективностью.
Еще одна цель предлагаемого изобретения состоит в создании ветроколлекторного способа и устройства для генерирования электрической энергии, учитывающих влияние приземного слоя воздуха.
Еще одна цель предлагаемого изобретения состоит в создании ветроколлекторного способа и устройства для генерирования электрической энергии с вертикальным стержнем и средством ориентирования для регулирования направления сбора ветровой энергии.
Еще одна цель предлагаемого изобретения состоит в создании ветроколлекторного способа и устройства для генерирования электрической энергии с эффективностью преобразования энергии выше 59,26%.
Из динамики жидкостей и газов известно, что эффективность ветрового генератора электрической энергии находится в прямой зависимости от плотности энергии воздушного потока и площади воспринимающих воздушный поток ветряных колес и прямо пропорциональна третьей степени скорости воздушного потока. Мощность ветрового генератора прямо пропорциональна крутящему моменту на ветряном колесе. Из этого следует, что существует несколько путей повышения эффективности ветрового генератора.
1. Можно повышать плотность воздуха, но это очень сложно.
2. Можно увеличивать площадь поперечного сечения ветряного колеса, и это используется в традиционных ветровых генераторах.
3. Можно прикладывать пониженное давление к задней стороне ветряного колеса, и это используется в современных ветровых генераторах. Это эффективный способ, и он используется и и в предлагаемом изобретении.
4. Можно повышать скорость воздушного потока, действующего на ветряное колесо, с тем, чтобы обеспечить увеличение силы, действующей на ветряное колесо. Это эффективный способ, и он используется и и в предлагаемом изобретении.
5. Можно изменять направление естественного воздушного потока для увеличения плеча силы, действующей на ветряное колесо. Этот способ используется в предлагаемом изобретении для увеличения крутящего момента.
6. Можно использовать направляющее устройство для экранирования воздушного потока и уменьшения аэродинамического сопротивления, когда ветряное колесо вращается в направлении, соответствующем направлению воздушного потока, которое противоположно фактическому. Это используется в предлагаемом изобретении.
7. Можно использовать ветротурбинное устройство и отражатель воздушного потока с низким аэродинамическим сопротивлением, благодаря чему обеспечивается понижение аэродинамического сопротивления при вращении ветротурбинного устройства. Это используется в предлагаемом изобретении.
8. Можно уменьшать механическое сопротивление от других элементов системы, например отказаться от передаточного механизма. Это используется в предлагаемом изобретении.
9. Можно разработать ветротурбинное устройство на основе импульсной теории турбин так, чтобы механическая эффективность не ограничивалась значением 59,26%. Это используется в предлагаемом изобретении.
Предлагаемое изобретение относится к способу и устройству для генерирования электрической энергии путем преобразования ветровой энергии, при этом ветротурбинное устройство установлено с возможностью поворота на опорном стержне ветрогенераторной башни. Опорный стержень может быть полым или цельным. Опорный стержень установлен перпендикулярно поверхности земли. Если опорный стержень является полым, то в полости могут быть натянуты силовые тросы. Ветротурбинное устройство по предлагаемому изобретению снабжено совокупностью черпакообразных элементов, установленных по кольцеобразной периферии некоторого опорного базового устройства, или же ветротурбинное устройство может иметь совокупность отражателей воздушного потока, которые установлены по кольцеобразной периферии опорного базового устройства. Опорные базовые устройства с установленными на них черпакообразными элементами или отражателями воздушного потока или вал ветротурбинного устройства соединены с генераторами электрической энергии. Когда ветротурбинные устройства под действием ветра вращаются, имеет место генерирование электрической энергии.
Предлагаемое изобретение имеет следующие пути реализации.
1. Для сбора ветровой энергии используется такая конструкция ветротурбинного устройства или ветрогенераторной башни, при которой обеспечивается существенное увеличение плотности и скорости воздушного потока. Затем, путем придания ветротурбинному устройству или ветрогенераторной башне направления обеспечивается концентрирование воздушного потока на отражателях воздушного потока, расположенных по периферии ветротурбинного устройства. Увеличивается не только сила воздушного потока, действующего на отражатель воздушного потока. Увеличивается и способствующая вращению сила, прикладываемая к ветротурбинному устройству. Тем самым обеспечивается увеличение крутящего момента. Кроме того, ветротурбинное устройство, установленное с возможностью поворота на ветрогенераторной башне, может иметь большую скорость вращения. При этом обеспечивается выработка генераторами больших электрических токов, благодаря чему удается обеспечить значительное увеличение вырабатываемой электрической энергии.
2. Ветротурбинное устройство разработано с применением импульсной теории турбин. Хвостовая часть отражателя воздушного потока ветротурбинного устройства имеет вогнутую выемку с гладкой поверхностью, так что обеспечено отражение воздушного потока, попадающего в эту вогнутую выемку, что приводит к увеличению момента. Таким образом, ветротурбинное устройство обладает большой реакцией. Тем самым обеспечивается достижение больших значений крутящего момента, вследствие чего обеспечивается выработка большего количества электрической энергии генератором. Таким образом, механическая эффективность предлагаемого изобретения может превышать 59,26%.
3. Ветротурбинное устройство по предлагаемому изобретению имеет пониженное аэродинамическое сопротивление. Аэродинамическое сопротивление понижается при вращении ветровотурбинного устройства. Отражатель воздушного потока имеет форму пули, хвостовой конец которой снабжен чем-либо одним из следующего перечня: полусферической выемкой, вогнутой пластиной, изогнутой лопаткой, вогнутым полуконусом, пустотелой пирамидой, пустотелым конусом, пустотелым куполом, выемкой полуцилиндрической формы, пустотелой фигурой изогнутой формы, изогнутой под углом пластиной, или спиралеобразной фигурой. Во время работы аэродинамическое сопротивление ветротурбинного устройства уменьшается. Тем самым, обеспечивается состояние, когда вырабатываемая мощность прямо пропорциональна третьей степени естественной скорости ветра даже при очень сильном ветре.
4. На передней стороне ветрогенераторной башни установлено направляющее устройство, посредством которого обеспечено экранирование воздушного потока таким образом, что обеспечивается уменьшение аэродинамического сопротивления, когда ветротурбинное устройство вращается в направлении, соответствующем направлению ветра, противоположному фактическому.
5. Ось ветротурбинного устройства находится на одной линии с осью ветрогенераторной башни и ориентирована перпендикулярно земной поверхности, то есть вертикально. На каждой из ветрогенераторных башен с возможностью поворота установлены составляющие некоторую совокупность горизонтальные ветротурбинные устройства. Каждое ветротурбинное устройство установлено с возможностью независимого вращения под действием воздушного потока с восприятием приземного слоя этого воздушного потока.
6. В предлагаемом изобретении использованы средство ориентирования и опорная система. На опорной системе установлен электрический генератор. Опорная система выполнена с возможностью автоматического регулирования направления сбора ветровой энергии.
7. Вместо одного электрического генератора с большой скоростью вращения и малым диапазоном изменения магнитного потока в предлагаемом изобретении использовано много составляющих некоторую совокупность электрических генераторов с низкой скоростью вращения и увеличенным диапазоном изменения магнитного потока. Ротор электрического генератора совершает вращение вместе с ветротурбинным устройством, при этом охлаждение генератора осуществляется с помощью воздуха, что способствует повышению выходной мощности. Каждое ветротурбинное устройство вращается независимо со своей скоростью вращения, благодаря чему обеспечивается предотвращение нерегулярных вибраций или возникновения неустойчивых состояний.
8. В предлагаемом изобретении для установки ветротурбинного устройства с обеспечением вращения на ветрогенераторной башне использованы имеющие пониженное трение высокоскоростные подшипники. Набор магнитов или узел, обеспечивающий контур магнитной индукции ветрогенераторной башни, установлен непосредственно на ветротурбинном устройстве. При вращении ветротурбинного устройства благодаря магнитной индукции обеспечивается генерирование электрической энергии. При использовании предлагаемого изобретения решается не только проблема потерь на трение в передаточном механизме, но и проблема перегрева передаточного механизма при высоких скоростях вращения.
9. Благодаря использованию в предлагаемом изобретении ветротурбинных устройств с пониженным аэродинамическим сопротивлением даже при больших скоростях вращения не возникает шума, как это имеет место у лопастных ветровых генераторов.
Для реализации предлагаемого изобретения может быть использовано следующее:
(1) Есть две ветрогенераторные башни - первая ветрогенераторная башня и вторая ветрогенераторная башня. Каждая ветрогенераторная башня снабжена ветротурбинным устройством и электрическим генератором. Ветротурбинное устройство установлено на соответствующей ветрогенераторной башне с возможностью вращения; электрический генератор установлен на соответствующем ветротурбинном устройстве и ветрогенераторной башне. При вращении ветротурбинного устройства имеет место генерирование электрического тока. Чистое расстояние по прямой между ветрогенераторными башнями не превышает двух диаметров каждой из ветротурбинных устройств. Между двумя ветрогенераторными башнями образован сужающийся канал, в результате обеспечено выполнение такой парой ветрогенераторных башен функции сбора ветровой энергии в качестве некоего виртуального ветроколлекторного устройства. Ветротурбинные устройства, установленные на этих двух ветрогенераторных башнях, расположены симметрично на двух сторонах этих ветрогенераторных башен. Когда на ветротурбинные устройства действует воздушный поток, они в зависимости от направления ветра вращаются по часовой стрелке или против часовой стрелки, и генераторы вырабатывают электрический ток. Если одна из ветрогенераторных башен изменяет свое местоположение, то при этом изменяется и скорость воздушного потока, благодаря чему обеспечивается возможность регулирования выработки электрической энергии.
(2) К описанной в вышеприведенном параграфе (1) опорной системе добавлено средство ориентирования. Когда сила ветра действует на средство ориентирования, имеет место поворот опорной системы таким образом, что ветроколлекторное устройство или ветрогенераторная башня принимает положение, наиболее выгодное с точки зрения сбора энергии ветра.
(3) К ветроэнергетической установке, описанной в предыдущем параграфе (2), добавлено ветроколлекторное устройство. Площадь поперечного сечения ветроколлекторного устройства в месте приема воздушного потока больше, чем его площадь на выходе воздушного потока. Ветроколлекторное устройство установлено с возможностью поворота перед ветрогенераторной башней таким образом, что место выхода воздушного потока из ветроколлекторного устройства находится вблизи сужающегося канала для воздушного потока, образуемого двумя ветрогенераторными башнями, так что обеспечивается увеличение силы ветра, действующей на ветротурбинное устройство. Выработка электрической энергии будет определяться скоростью воздушного потока в месте его выхода из ветроколлекторного устройства. Когда ветер действует на средство ориентирования, происходит изменение направления сбора ветровой энергии ветрогенераторными башнями.
(4) К ветроэнергетической установке, описанной в предыдущем параграфе (2), добавлено направляющее устройство для воздушного потока, с помощью которого осуществляется направление и экранирование воздушного потока ветротурбинного устройства с целью уменьшения аэродинамического сопротивления в областях, оказывающих сопротивление вращению ветротурбинного устройства, когда ветротурбинное устройство вращается. Направляющее устройство для воздушного потока установлено перед ветрогенераторными башнями с обдуваемой стороны. Когда ветер действует на средство ориентирования, происходит изменение направления сбора ветровой энергии ветрогенераторной башней.
(5) На поворотной опорной системе, снабженной средством ориентирования, установлено устройство для сбора ветровой энергии. В целях уплотнения ветровой энергии ветроэнергетическая установка выполнена таким образом, что площадь поперечного сечения ветроколлекторного устройства в месте приема воздушного потока больше, чем площадь поперечного сечения на выходе воздушного потока. Кроме того, имеются ветрогенераторная башня, ветротурбинное устройство и электрический генератор. Ветротурбинное устройство установлено на ветрогенераторной башне с возможностью вращения. Электрический генератор установлен на ветрогенераторной башне на соответствующем ветротурбинном устройстве. Когда ветротурбинное устройство совершает вращение, генератор вырабатывает электрическую энергию. Ветрогенераторная башня установлена в месте выхода воздушного потока из ветроколлекторного устройства. Воздушным потоком на выходе ветроколлекторного устройства осуществляется приведение во вращение ветротурбинных устройств на ветрогенераторных башнях, от которых вращаются генераторы, вырабатывающие электрическую энергию. Сила воздушного потока на выходе ветроколлекторного устройства является регулируемой величиной, от которой, в свою очередь, зависит выработка электрической энергии. Когда ветер действует на средство ориентирования, имеет место изменение направления сбора ветровой энергии ветрогенераторной башней.
(6) На поворотной опорной системе, снабженной средством ориентирования, установлены ветроколлекторное устройство, ветрогенераторная башня, ветротурбинное устройство и электрический генератор. Ветротурбинное устройство установлено на ветрогенераторной башне с возможностью вращения. Электрический генератор может быть установлен на ветротурбинном устройстве на соответствующей ветрогенераторной башне. Когда ветротурбинное устройство совершает вращение, генератор вырабатывает электрическую энергию. Ветроколлекторное устройство установлено перед ветрогенераторной башней. Сужающийся канал воздушного потока расположен между ветроколлекторным устройством и ветрогенераторной башней таким образом, что обеспечена возможность сбора ветровой энергии. С помощью воздушного потока, протекающего по вышеупомянутому сужающемуся каналу, обеспечивается приведение во вращение ветротурбинного устройства ветрогенераторной башни. Сила воздушного потока на выходе ветроколлекторного устройства регулируется с целью изменения мощности ветра. Когда ветер действует на средство ориентирования, имеет место изменение направления сбора ветровой энергии.
(7) К ветроэнергетической установке, описанной в предыдущем параграфе (6), добавлено направляющее устройство для воздушного потока. На поворотной опорной системе, снабженной средством ориентирования, установлены ветрогенераторная башня, ветротурбинное устройство и электрический генератор. Ветротурбинное устройство установлено на ветрогенераторной башне с возможностью вращения. Электрический генератор может быть установлен на ветротурбинном устройстве на соответствующей ветрогенераторной башне. Когда ветротурбинное устройство совершает вращение, генератор вырабатывает электрическую энергию. Ветроколлекторное установлено перед ветрогенераторной башней. Сужающийся канал воздушного потока расположен между ветроколлекторным устройством и ветрогенераторной башней таким образом, что обеспечена возможность сбора ветровой энергии. С помощью воздушного потока, протекающего по вышеупомянутому сужающемуся каналу, обеспечивается приведение во вращение ветротурбинного устройства ветрогенераторной башни. Сила воздушного потока на выходе ветроколлекторного устройства регулируется с целью изменения мощности ветра. Направляющее устройство для воздушного потока расположено перед ветрогенераторной башней с обдуваемой стороны. Когда ветер действует на средство ориентирования, имеет место изменение направления сбора ветровой энергии.
(8) Есть две ветрогенераторные башни, одно ветротурбинное устройство и один электрический генератор. Ветротурбинное устройство установлено на ветрогенераторной башне с возможностью вращения. Электрический генератор может быть установлен на ветротурбинном устройстве на соответствующей ветрогенераторной башне. При вращении ветряного колеса генератор вырабатывает электрическую энергию. Чистое расстояние по прямой между ветрогенераторными башнями не превышает двух диаметров каждой из ветротурбинных устройств. Одна ветрогенераторная башня установлена неподвижно, а другая установлена на подвижном основании. Между двумя ветрогенераторными башнями образован сужающийся канал, в результате чего обеспечено выполнение такой парой ветрогенераторных башен функции сбора ветровой энергии в качестве некоего виртуального ветроколлекторного устройства. Ветротурбинные устройства, установленные на этих двух ветрогенераторных башнях, расположены симметрично на двух сторонах этих ветрогенераторных башен. Когда на ветротурбинные устройства действует воздушный поток, они в зависимости от направления ветра вращаются по часовой стрелке или против часовой стрелки, и генераторы вырабатывают электрический ток. К поворотной опорной системе, снабженной средством ориентирования, добавлено ветроколлекторное устройство. В целях уплотнения ветровой энергии ветроэнергетическая установка выполнена таким образом, что площадь поперечного сечения ветроколлекторного устройства в месте приема воздушного потока больше, чем площадь поперечного сечения на выходе воздушного потока. В целях усиления уплотняющего эффекта перед ветрогенераторной башней с обдуваемой стороны установлено ветроколлекторное устройство таким образом, что место выхода воздушного потока из ветроколлекторного устройства расположено вблизи места входа воздушного потока в сужающийся канал. Скорость воздушного потока на выходе из ветроколлекторного устройства является регулируемой величиной, благодаря чему обеспечено регулирование мощности электрического генератора.
(9) К ветроэнергетической установке, описанной в предыдущем параграфе (8), добавлено ветроколлекторное устройство. В целях уплотнения ветровой энергии ветроэнергетическая установка выполнена таким образом, что площадь поперечного сечения ветроколлекторного устройства в месте приема воздушного потока больше, чем площадь поперечного сечения на выходе воздушного потока. Вышеупомянутое ветроколлекторное устройство расположено перед двумя ветрогенераторными башнями с обдуваемой стороны таким образом, что место выхода воздушного потока из ветроколлекторного устройства расположено вблизи места входа воздушного потока в сужающийся канал, образуемый двумя ветрогенераторными башнями, так что обеспечивается увеличение силы воздушного потока, действующего на ветротурбинное устройство. Скорость воздушного потока на выходе из ветроколлекторного устройства является регулируемой величиной, благодаря чему обеспечено регулирование мощности электрического генератора.
(10) В приведенном выше параграфе (8) предлагаемое изобретение реализуется на основе поворотной опорной системы, снабженной средством ориентирования. Когда на средство ориентирования действует ветер, имеет место изменение направления сбора ветровой энергии.
(11) В приведенном выше параграфе (9) предлагаемое изобретение реализуется на основе поворотной опорной системы, снабженной средством ориентирования. Когда на средство ориентирования действует ветер, имеет место изменение направления сбора ветровой энергии.
(12) К ветроэнергетической установке, описанной в вышеприведенном параграфе (10), добавлено направляющее устройство для воздушного потока, которое установлено перед двумя ветрогенераторными башнями с необдувамой стороны и служит для экранирования воздушного потока и уменьшения аэродинамического сопротивления при вращении ветротурбинного устройства. Когда ветер действует на средство ориентирования, имеет место автоматическое изменение направления сбора ветровой энергии.
(13) Предлагаемое изобретение может быть реализовано в виде нескольких разных наборов из вышеописанных компонентов, при этом каждый из этих наборов представляет собой систему генерирования электрической энергии путем преобразования ветровой энергии.
В вышеописанном варианте осуществления предлагаемого изобретения сооружение ветроколлекторного устройства заключается в построении устройства, имеющего средство обеспечения входа воздушного потока и средство обеспечения выхода воздушного потока. Площадь поперечного сечения ветроколлекторного устройства в месте расположения средства обеспечения входа воздушного потока больше, чем площадь его поперечного сечения в месте расположения средства обеспечения выхода воздушного потока, благодаря чему обеспечивается уплотнение массы и энергии воздушного потока. Для обеспечения возможности изменения направления сбора ветровой энергии ветроколлекторное устройство снабжено фиксированным или подвижным основанием. Площади поперечного сечения ветроколлекторного устройства в месте входа воздушного потока и в месте выхода воздушного потока, а и форма ветроколлекторного устройства могут быть выполнены регулируемыми. Средство обеспечения входа воздушного потока в ветроколлекторное устройство и средство обеспечения выхода воздушного потока из него могут быть закрыты или открыты. Путем перемещения, поворота или смещения устройства для уплотнения ветровой энергии или путем изменения формы ветроколлекторного устройства осуществляется изменение направления сбора ветровой энергии и площади поперечного сечения ветроколлекторного устройства с обеспечением, тем самым, регулирования скорости приводного воздушного потока на выходе из ветроколлекторного устройства. При изменении площади поперечного сечения в месте выхода воздушного потока из ветроколлекторного устройства имеет место изменение скорости воздушного потока в месте выхода воздушного потока из ветроколлекторного устройства. С целью обеспечения возможности регулирования выработки электрической энергии вышеописанные приемы могут применяться как по отдельности, так и в сочетании.
Кроме того, в предлагаемом изобретении предусмотрено наличие опорного устройства, расположенного между ветрогенераторными башнями. Размер этого опорного устройства может быть фиксированным или же оно может иметь телескопическую конструкцию, обеспечивающую возможность изменения расстояния между двумя ветрогенераторными башнями и регулирования скорости воздушного потока в пространстве между ними с обеспечением возможности регулирования выработки электрической энергии. Скорость воздушного потока в пространстве между ветрогенераторными башнями больше, чем за пределами этого пространства, поэтому и боковое давление, возникающее благодаря конструкции ветротурбинных устройств и ветрогенераторных башен, в этом пространстве больше, чем за его пределами, при этом с помощью этого опорного устройства между ветрогенераторными башнями при высокой скорости воздушного потока обеспечивается сопротивление этому боковому давлению - это называется "эффект Магнуса".
Ветрогенераторная башня в устройстве по предлагаемому изобретению имеет опорный стержень, который расположен вертикально, перпендикулярно поверхности земли. На ветрогенераторной башне установлена некоторая совокупность ветротурбинных устройств. Ось каждого из этих ветротурбинных устройств находится на одной прямой с осью ветрогенераторной башни. Когда возникает необходимость технического обслуживания одного из ветротурбинных устройств, для остановки вращения ветротурбинного устройства используется средство торможения. При сильном ветре во избежание повреждения всей системы генерирования электрической энергии ввиду ее перепроизводства из-за слишком быстрого вращения ветротурбинных устройств может быть остановлено вращение всех ветротурбинных устройств одной из ветрогенераторных башен, а сама эта ветрогенераторная башня может быть передвинута и помещена позади другой, неподвижной, ветрогенераторной башни.
Вышеописанное ветротурбинное устройство по своей конструкции полностью отличается от традиционных применяющихся в настоящее время устройств этого типа. В ветротурбинном устройстве по предлагаемому изобретению для его сопряжения с конструкцией ветрогенераторной башни применены достижения импульсной теории турбин, в результате чего создана новая ветротурбинная система. Ветротурбинное устройство имеет цилиндрическую форму и включает совокупность отражателей воздушного потока, которыми снабжена внешняя периферия турбины, совокупность опорных балок отражателей воздушного потока, газостатический подшипник с отверстиями наддува (поддува) типа кольцевой диафрагмы, первую кольцевую балку, вторую кольцевую балку, совокупность опорных колес, кольцевую дорожку, совокупность средств торможения и пылезащитное устройство. Газостатический подшипник установлен на теле ветрогенераторной башни таким образом, что ось этого газостатического подшипника находится на одной прямой с осью ветрогенераторной башни. Отражатель воздушного потока установлен на свободном конце опорной балки таким образом, что они образуют некоторый черпакообразный элемент для захвата воздушного потока, расположенный по окружности на ветрогенераторной башне. Совокупность таких черпакообразных элементов расположена по кругу на газостатическом подшипнике. Ниже каждого черпакообразного элемента установлены две кольцевые балки. Черпакообразный элемент жестко прикреплен к этим двум кольцевым балкам. Ниже первой кольцевой балки расположена совокупность опорных колес. Для поддержания ветротурбинного устройства на ветрогенераторной башне установлена кольцевая дорожка. Вторая кольцевая балка не имеет опорного колеса, ниже этой второй кольцевой балки расположена совокупность средств торможения. При необходимости средства торможения приводятся в действие для остановки ветротурбинного устройства и его блокирования. Оси обеих кольцевых балок, кольцевой дорожки, газостатического подшипника и ветрогенераторной башни находятся на одной прямой. Хвостовая часть ветротурбинного устройства снабжена вогнутой выемкой или имеет отверстие с гладкой поверхностью, которая предназначена для взаимодействия с импульсом воздушного потока. Головная часть ветротурбинного устройства имеет сужающуюся оконечность, которая предназначена для уменьшения аэродинамического сопротивления при вращении ветротурбинного устройства. Используемое таким образом ветротурбинное устройство имеет малый коэффициент быстроходности. Подобный принцип широко используется в гидроэнергетических установках, а и в паротурбинных агрегатах с механическим кпд более 80%, что примерно в два-три раза больше, чем в ветротурбинных устройствах лопастного типа. Обозначим диаметр ветротурбинного устройства через D, поперечный размер отражателя воздушного потока через d, а передаточное отношение ветротурбинного устройства - Ns. Тогда D/d=(30˜90)/Ns, где значение Ns находится в пределах от 2 до 6. Передаточное отношение Ns представляет собой отношение скорости воздушного потока к тангенциальной скорости ветротурбинного устройства. В предпочтительных вариантах значение Ns находится в пределах от 2 до 3. Такое ветротурбинное устройство может быть установлено на большом электрическом генераторе. Каждый из элементов устройства по предлагаемому изобретению может быть легко изготовлен в отдельности, а затем установлен при сборке ветроэнергетической установки на основании ветрогенераторной башни. При этом, свободный конец каждого черпакообразного элемента снабжен отражателем потока, а другой конец черпакообразного элемента установлен на ветрогенераторной башне с возможностью поворота.
Отражатель воздушного потока имеет форму пули, хвостовой конец которой снабжен чем-либо одним из следующего перечня: полусферической выемкой, вогнутой пластиной, изогнутой лопаткой, вогнутым полуконусом, пустотелой пирамидой, пустотелым конусом, пустотелым куполом, выемкой полуцилиндрической формы, пустотелой фигурой изогнутой формы, изогнутой под углом пластиной, или спиралеобразной фигурой. При этом вогнутая поверхность отражателя воздушного потока обращена навстречу воздушному потоку. Задняя сторона ветроколлекторного устройства имеет сужающуюся оконечность. В предпочтительных вариантах осуществления предлагаемого изобретения в качестве материала для ветротурбинного устройства 2 использован титановый сплав, или нержавеющая сталь, или угольное волокно, или стеклосталь, или же другой высокопрочный коррозионностойкий сплав. В предпочтительных вариантах осуществления предлагаемого изобретения отражатель 7 воздушного потока снабжен хвостовой частью с двумя симметрично расположенными чашеобразными элементами с гладкой поверхностью, обеспечивающими повышенную стабильность, и головной частью, направленной тангенциально вдоль поверхности вращения ветротурбинного устройства.
При этом, когда возникает напор воздушного потока между этими двумя чашеобразными элементами хвостовой части отражателя воздушного потока, обеспечивается максимальный механический кпд. В предлагаемом изобретении угол отражения воздушного потока - это угол, под которым происходит отражение струи воздушного потока, когда это отражение имеет место от поверхности выемки. Угол отражения воздушного потока находится в диапазоне от 120° до 180°, предпочтительно в диапазоне от 173° до 176°. Снабженная выемкой с гладкой поверхностью хвостовая часть отражателя воздушного потока ветротурбинного устройства установлена таким образом, что воздушный поток, попадающий в выемку, отражается с обеспечением максимального импульса. Таким образом, ветротурбинное устройство имеет большую реакцию, благодаря чему обеспечивается большой крутящий момент. Следовательно, электрический генератор вырабатывает больше электрической энергии. Задняя сторона хвостовой части отражателя воздушного потока снабжена иглообразной или сужающейся оконечностью. По отношению к хвостовой части отражателя воздушного потока сужающаяся оконечность является головной частью отражателя воздушного потока. Головная часть отражателя воздушного потока обращена навстречу направлению вращения отражателя воздушного потока. При вращении ветротурбинного устройства обеспечивается уменьшение аэродинамического сопротивления. Если при использовании отражателя воздушного потока пулеобразной формы скорость отражателя воздушного потока меньше, чем половина скорости звука, то аэродинамическое сопротивление отражателя воздушного потока уменьшается до менее 0,25. Если при использовании отражателя воздушного потока пулеобразной формы скорость ветротурбинного устройства больше скорости звука, то аэродинамическое сопротивление отражателя воздушного потока уменьшается до менее 0,5. Если при использовании отражателя воздушного потока пулеобразной формы скорость ветротурбинного устройства больше трех скоростей звука, то аэродинамическое сопротивление отражателя воздушного потока уменьшается до менее 0,3. Хвостовая часть отражателя воздушного потока пулеобразной формы снабжена выемкой полусферической формы с гладкой поверхностью. Когда воздушный поток попадает в эту выемку, происходит отражение воздушного потока. Как было установлено в результате обработки большого массива экспериментальных данных, при использовании выемки полусферической формы с гладкой поверхностью коэффициент отражения воздушного потока составляет 1,4. Действие воздушного потока на хвостовую часть отражателя воздушного потока всегда больше, чем его действие на головную часть отражателя воздушного потока, поэтому когда скорость отражателя воздушного потока равна скорости звука, ветротурбинное устройство все еще будет вращаться. Электрический генератор по предлагаемому изобретению все еще будет вырабатывать электрическую энергию. В предпочтительном варианте предлагаемого изобретения аэродинамическое сопротивление головной части отражателя воздушного потока меньше, чем 0,4 от аэродинамического сопротивления его хвостовой части.
В другом предпочтительном варианте осуществления ветротурбинного устройства по предлагаемому изобретению используются по меньшей мере два отражателя воздушного потока, которые расположены по периферии некоторого круга и установлены на опорном устройстве отражателя воздушного потока. В этом случае лучшая устойчивость ветротурбинного устройства обеспечивается при высоких скоростях его вращения. Отражатель воздушного потока имеет одну из следующих форм: дискообразную форму, круглую форму, форму колеса, цилиндрическую форму. Его наружная кромка имеет горизонтальные или вертикальные кольцеобразные элементы. Каждый из этих кольцеобразных элементов соединен по меньшей мере с двумя отражателями воздушного потока, которые расположены по периферии некоторого круга таким образом, что образовано ветротурбинное устройство. Если кольцеобразный элемент является горизонтальным, то верхняя и нижняя поверхности этого кольцеобразного элемента соединены с соответствующим отражателем воздушного потока таким образом, что обеспечивается возможность устойчивого вращения ветротурбинного устройства. Кроме того, на вертикальном кольцеобразном элементе может быть установлено пылезащитное устройство, прикрепленное к внешнему кольцу ветротурбинного устройства, с помощью которого обеспечивается предотвращение накопления приносимой ветром пыли в электрическом генераторе. Два набора отражателей воздушного потока расположены по периферии некоторого круга и соединены с кольцеобразными элементами таким образом, что образовано ветротурбинное устройство. При вращении ветротурбинного устройства под действием вертикальных кольцеобразных элементов пограничный слой ветротурбинного устройства будет двигаться с воздушным потоком таким образом, что обеспечивается значительное уменьшение аэродинамического сопротивления на этом верхнем слое и увеличение выработки электрической энергии. Ветротурбинные устройства этого типа пригодны для ветроэнергетической установки на основе малых или средних ветрогенераторных башен. В предпочтительных вариантах осуществления предлагаемого изобретения опорное устройство отражателя воздушного потока выполнено как единое целое с конструкцией ветроэнергетической установки. Ветротурбинное устройство установлено на ветрогенераторной башне. Отражатель воздушного потока имеет форму пули, хвостовой конец которой снабжен одним из элементов из следующего перечня: полусферической выемкой, вогнутой пластиной, изогнутой лопаткой, вогнутым полуконусом, пустотелой пирамидой, пустотелым конусом, пустотелым куполом, выемкой полуцилиндрической формы, пустотелой фигурой изогнутой формы, изогнутой под углом пластиной или спиралеобразной фигурой, благодаря чему обеспечивается уменьшение аэродинамического сопротивления. Хвостовая часть отражателя воздушного потока имеет выемку с гладкой поверхностью, так что обеспечено отражение воздушного потока и возможность получения ветротурбинным устройством большого импульса. Наружная поверхность отражателя воздушного потока является гладкой и имеет малое аэродинамическое сопротивление, так что при вращении ветротурбинного устройства на высокой скорости обеспечивается ограничение аэродинамического сопротивления. При воздействии воздушного потока на отражатели обеспечено принуждение ветровой турбины к вращению с обеспечением, тем самым, в возможности генерирования электрической энергии электрогенераторным устройством.
Вышеописанная ветроэнергетическая установка включает по меньшей мере одно ветротурбинное устройство, по меньшей мере одну вертикальную ветрогенераторную башню и по меньшей мере один электрический генератор. Ветротурбинное устройство установлено на ветрогенераторной башне горизонтально, при этом все ветровые турбины ориентированы горизонтально. Каждое ветротурбинное устройство выполнено с возможностью совершения вращения под действием воздушного потока. Каждый электрический генератор имеет набор магнитных полюсов и обмотку. При вращении ветротурбинного устройства в обмотке наводится электродвижущая сила.
Кроме того, ветроэнергетическая установка по предлагаемому изобретению имеет следующие признаки.
1. Нижняя часть конструкции ветрогенераторной башни по предлагаемому изобретению имеет форму тела вращения, выбранного из следующего перечня: цилиндр, параболоид вращения, гиперболоид вращения.
2. Ветроэнергетическая установка по предлагаемому изобретению имеет по меньшей мере одну куполообразную или арочную крышу, снабженную молниеотводом.
3. Ветроэнергетическая установка по предлагаемому изобретению снабжена лифтом, который расположен внутри конструкции ветрогенераторной башни.
4. Ветроэнергетическая установка по предлагаемому изобретению включает и опорную систему, имеющую средство ориентирования, назначение которого состоит в изменении положения для поддержания и установки конструкции башни. Это средство ориентирования может представлять собой вертикальную пластину, ветер или парусиновая форма и горизонтальное стабилизирующее устойчивое крыло могут быть добавлены.
5. Перед ветрогенераторной башней, с наветренной стороны, установлено по меньшей мере одно ветроколлекторное устройство. Ветрогенераторная башня установлена в месте выхода воздушного потока из ветроколлекторного устройства. Воздушный поток действует на отражатели воздушного потока ветроколлекторного устройства в тангенциальном направлении к ветротурбинному устройству таким образом, что обеспечивается быстрое вращение ветротурбинных устройств, и электрический генератор вырабатывает электрическую энергию. Ветроколлекторное устройство имеет подвижное основание для ориентирования направления сбора ветровой энергии. Кроме того, ветроэнергетическая установка включает по меньшей мере одну управляющую систему, предназначенную для управления подвижным основанием и ориентированием направления сбора ветровой энергии.
6. Ветроэнергетическая установка включает и по меньшей мере одну управляющую систему, предназначенную для одной из следующих операций: регулирование площади поперечного сечения в месте входа воздушного потока в ветроколлекторное устройство, регулирование площади поперечного сечения в месте выхода воздушного потока из ветроколлекторного устройства, изменение формы канала ветроколлекторного устройства.
7. Ветроэнергетическая установка включает и по меньшей мере одно направляющее устройство, предназначенное для направления воздушного потока и экранирования части воздушного потока, направляющегося на ветротурбинное устройство таким образом, что обеспечивается уменьшение аэродинамического сопротивления части, оказывающих сопротивление вращению ветротурбинного устройства.
8. Ветроэнергетическая установка включает по меньшей мере две ветрогенераторные башни. Чистое расстояние по прямой между этими двумя ветрогенераторными башнями не превышает двух диаметров конструкции башни. Между двумя ветрогенераторными башнями образован сужающийся канал, так что эти две ветрогенераторные башни выполняют функцию сбора ветровой энергии в качестве ветроколлекторного устройства.
9. Между двумя ветрогенераторными башнями расположено по меньшей мере одно опорное устройство, предназначенное для оказания сопротивления боковому давлению (действующему в силу эффекта Магнуса) со стороны ветрогенераторных башен при прохождении воздушного потока между ними. Длина опорного устройства является изменяемым параметром для регулирования расстояния между этими двумя ветрогенераторными башнями.
10. Одна из ветрогенераторных башен установлена на подвижном основании, благодаря чему обеспечена возможность изменения расстояния между двумя ветрогенераторными башнями и направления образуемого между ними канала ветроколлекторного устройства.
11. Ветроэнергетическая установка включает и подвижное основание, предназначенное для размещения на нем одной из ветрогенераторных башен, благодаря чему обеспечена возможность изменения расстояния между двумя ветрогенераторными башнями и направления образуемого между ними канала ветроколлекторного устройства.
12. Ветроэнергетическая установка включает передаточный механизм, предназначенный для передачи крутящего момента от ветротурбинного устройства к электрическому генератору.
13. Ветроэнергетическая установка включает электрический генератор. Этот электрический генератор имеет набор магнитных полюсов и обмотку, которые расположены на ветрогенераторной башне и ветротурбинном устройстве соответственно.
14. Конструкция ветрогенераторной башни имеет некоторую совокупность выступающих свешивающихся кольцеобразных элементов. Каждая пара этих кольцеобразных элементов имеет по меньшей мере одно ветротурбинное устройство. Эти ветротурбинные устройства установлены горизонтально на опорных валах ветрогенераторной башни. Совокупность ветротурбинных устройств ориентирована вдоль конструкции ветрогенераторной башни. Каждое ветротурбинное устройство выполнено с возможностью независимого вращения под действием воздушного потока с обеспечением возможности выработки генератором электрической энергии.
15. Ветроэнергетическая установка содержит по меньшей мере две группы, каждая из которых включает по меньшей мере одно электрогенераторное устройство, ветротурбинное устройство и ветроколлекторное устройство, при этом разные группы имеют одинаковый состав или же разный состав.
Далее будет описан принцип генерирования электрической энергии генератором. Электрический генератор по предлагаемому изобретению имеет набор магнитных полюсов и обмотку, которые установлены соответственно на ветротурбинном устройстве и ветрогенераторной башне, при этом для передачи крутящего момента от ветротурбинного устройства к электрическому генератору может быть использован передаточный механизм. При увеличении скорости вращения ветротурбинного устройства увеличивается площадь обмотки, пересекающая силовые линии магнитного поля в единицу времени, в результате чего имеет место увеличение общего магнитного потока и увеличение электродвижущей силы. Выработка электрической энергии осуществляется по принципу электромагнитной индукции, поэтому энергетические потери очень низки. Выход энергии намного больше, чем в случае других известных способов использования ветровой энергии. И этот выход энергии можно еще увеличить, если использовать магнитное ветротурбинное устройство плавающего типа. Электрический генератор другого типа имеет обмотку, содержащую магнитопроводный сердечник, который имеет индуктивный конец, и набор магнитных полюсов, которые установлены на ветрогенераторной башне и ветротурбинном устройстве соответственно, при этом, когда ветротурбинное устройство вращается, магнитные полюсы попеременно приближаются к индуктивному концу обмотки, так что магнитный поток, пересекающий индукционный конец обмотки, является переменным, в результате чего обеспечивается возникновение электродвижущей силы.
В двух вышеуказанных способах набор магнитных полюсов и обмотка могут быть установлены в соответствии со следующими двумя способами:
1. Один набор магнитных полюсов установлен на ветрогенераторной башне, а обмотка установлена на ветрогенераторном устройстве.
2. Набор магнитных полюсов установлен на ветротурбинном устройстве, а обмотка установлена на ветрогенераторной башне.
Кроме того, электрический генератор может быть установлен на ветрогенераторном устройстве в следующих положениях: (1) на опорном устройстве отражателя воздушного потока, (2) между двумя опорными балками отражателей воздушного потока, (3) на валу ветротурбинного устройства и (4) на подшипнике вращения ветротурбинного устройства.
Материал, из которого выполнены ветрогенераторная башня и ветротурбинное устройство, может быть выбран из следующего перечня: реактивно-порошковый бетон (reactive powder concrete - RPC) сверхвысокой прочности, или реактивно-порошковая комплексная сталь (reactive powder complex steel - RPCS) сверхвысокой прочности, изобретенные автором предлагаемого изобретения, или сплав, или другой высокоэффективный коррозионностойкий материал. Прочность реактивно-порошкового бетона и реактивно-порошковой комплексной стали превышает 180 МПа, при этом они не подвергаются коррозии, и их срок службы превышает 100 лет. Этот материал не трескается, является водонепроницаемым, может использоваться в широком температурном диапазоне. Характеристики этих материалов похожи на характеристики металлов.
В первом предпочтительном варианте осуществления предлагаемого изобретения ветроэнергетическая установка включает две ветрогенераторные башни: первую ветрогенераторную башню и вторую ветрогенераторную башню. Чистое расстояние по прямой между этими двумя ветрогенераторными башнями не превышает двух диаметров любой из этих ветрогенераторных башен. Одна ветрогенераторная башня неподвижна, а другая установлена на основании, выполненном с возможность изменения места его расположения. Между двумя ветрогенераторными башнями образован сужающийся канал, по меньшей мере одно поперечное сечение которого выполнено в виде раструба, в результате чего обеспечено выполнение такой парой ветрогенераторных башен функции сбора ветровой энергии в качестве некоего виртуального ветроколлекторного устройства. На двух ветрогенераторных башнях симметрично на двух их сторонах расположены ветротурбинные устройства. Когда на ветротурбинные устройства действует воздушный поток, они совершают вращение по часовой стрелке или против часовой стрелки в соответствии с направлением воздушного потока, так что обеспечивается возможность генерирования электрической энергии с помощью генераторов, работающих на принципе электромагнитной индукции. Перемещением одной из ветрогенераторных башен обеспечивается управление скоростью воздушного потока, благодаря чему обеспечивается возможность регулирования выработки электрической энергии. Кроме того, между двумя ветрогенераторными башнями установлено опорное устройство, с помощью которого обеспечивается оказание сопротивления боковому давлению (действующему в силу эффекта Магнуса) со стороны ветрогенераторных башен при прохождении воздушного потока между ними. Для обеспечения комнаты оператора показаниями скорости и давления воздушного потока ветроэнергетическая установка по предлагаемому изобретению может быть снабжена соответствующими измерительными приборами.
Во втором предпочтительном варианте осуществления предлагаемого изобретения используется поворотная опорная система со средством ориентирования. На этой поворотной опорной системе установлены ветротурбинное устройство и две ветрогенераторные башни. Чистое расстояние по прямой между этими двумя ветрогенераторными башнями не превышает двух диаметров любого из ветротурбинных устройств. Между двумя ветрогенераторными башнями образован сужающийся канал для воздушного потока, в результате чего обеспечено выполнение такой парой ветрогенераторных башен функции сбора ветровой энергии в качестве некоего виртуального ветроколлекторного устройства. На двух ветрогенераторных башнях симметрично на двух их сторонах расположены ветротурбинные устройства. Когда на ветротурбинные устройства действует воздушный поток, они совершают вращение по часовой стрелке или против часовой стрелки в соответствии с направлением воздушного потока, так что обеспечивается возможность генерирования электрической энергии с помощью генераторов, работающих на принципе электромагнитной индукции. На поворотной опорной системе могут быть установлены два подвижных основания, на каждом из которых установлена ветрогенераторная башня. Между двумя ветрогенераторными башнями установлено опорное устройство, так что для этих двух ветрогенераторных башен обеспечена возможность изменения положения друг относительно друга. Длина этого опорного устройства является изменяемым параметром для регулирования скорости потока между ветрогенераторными башнями. На опорном устройстве могут быть установлены приборы для измерения скорости и давления воздушного потока. Когда воздушный поток действует на средство ориентирования, опорная система может поворачиваться таким образом, что обеспечивается переориентирование ветрогенераторной башни или ветроколлекторного устройства и принятие ими ориентации, более предпочтительной с точки зрения сбора ветрового потока.
При применении способа и устройства для генерирования электрической энергии путем преобразования ветровой энергии по предлагаемому изобретению обеспечивается возможность уплотнения большого количества ветровой энергии. Когда скорость ветра сравнительно невелика, работа ветроэнергетической установки может поддерживаться при значительном увеличении кпд использования ветровой энергии. При применении способа и устройства по предлагаемому изобретению при сравнительно большой скорости ветра величина генерируемой электрической энергии может быть сделана пропорциональной третьей степени скорости ветра. Может быть обеспечена выработка энергии большой мощности. Предположим, что в определенной местности средняя скорость воздушного потока составляет 5 м/с. Будем считать, что при ураганном ветре скорость воздушного потока составляет 50 м/с. Тогда при применении способа и устройства по предлагаемому изобретению выработка электрической энергии в единицу времени при ураганном ветре будет в 1000 раз больше, чем при средней скорости ветра. При использовании современных технологий аккумулирования электрической энергии (например, технология высоковольтных электролитических систем или технология топливных элементов), обеспечивающих сохранение 50% выработанной электрической энергии, это означает, что за один день работы при ураганном ветре может быть запасено энергии столько же, сколько может быть произведено за 500 дней работы при средней скорости ветра. Таким образом, при использовании предлагаемого изобретения обеспечивается возможность производства большего количества электрической энергии, что в конечном итоге благоприятно сказывается на окружающей среде. Однако кпд при применении предлагаемого изобретения больше, чем при традиционных способах.
Для обеспечения большего эффекта уплотнения энергии ветра устройство по предлагаемому изобретению может быть размещено на берегу моря, на лугу и т.д. Кроме того, для аккумулирования и хранения избыточной на текущий момент энергии и повышения устойчивости выходной мощности ветроэнергетической установки могут быть использованы различные аккумуляторные устройства, такие как, например, маховики, топливные батареи, высоковольтные электролитические системы, теплообменники и т.д.
Различные цели и преимущества предлагаемого изобретения будут поняты лучше из дальнейшего подробного описания со ссылками на прилагаемые чертежи.
Краткое описание прилагаемых чертежей
![]() | ![]() |
![]() | ![]() |
На фиг.1А - фиг.1Е схематично проиллюстрирован первый вариант осуществления способа и устройства для преобразования ветровой энергии в электрическую по предлагаемому изобретению На фиг.1А схематично показана ветроэнергетическая установка по первому варианту осуществления предлагаемого изобретения, вид сверху. На фиг.1В схематично показана ветроэнергетическая установка по первому варианту осуществления предлагаемого изобретения, вид сверху, при этом показаны и линии воздушного потока. На фиг.1C схематично проиллюстрировано перемещение одной из ветрогенераторных башен ветроэнергетической установки по первому варианту осуществления предлагаемого изобретения. На фиг.1D схематично проиллюстрировано перемещение одной из ветрогенераторных башен ветроэнергетической установки по первому варианту осуществления предлагаемого изобретения для недопущения генерирования избыточной мощности при слишком сильном ветре. На фиг.1Е схематично проиллюстрировано регулирование сбора энергии воздушного потока путем перемещения ветрогенераторной башни при изменившемся направлении ветра. | |
![]() | ![]() |
На фиг.2А и фиг.2В схематично проиллюстрирован второй вариант осуществления способа и устройства для преобразования ветровой энергии в электрическую по предлагаемому изобретению. На фиг.2А показана схематично ветроэнергетическая установка по первому варианту осуществления предлагаемого изобретения, вид сверху, в сборе. На фиг.2В схематично проиллюстрировано регулирование сбора энергии воздушного потока путем перемещения ветрогенераторной башни при изменившемся направлении ветра. | |
![]() | ![]() |
![]() | ![]() |
На фиг.3А - фиг.3С схематично проиллюстрирован третий вариант осуществления способа и устройства для преобразования ветровой энергии в электрическую по предлагаемому изобретению. На фиг.3А схематично проиллюстрировано регулирование сбора энергии воздушного потока путем перемещения ветрогенераторной башни при изменившемся направлении ветра. На фиг.3В схематично проиллюстрировано регулирование сбора энергии воздушного потока путем перемещения ветрогенераторной башни при изменившемся направлении ветра. На фиг.3С схематично проиллюстрировано ветроколлекторное устройство, используемое в качестве ветрозащитного щита для защиты ветрогенераторной башни во время сильного ветра. | |
![]() | ![]() |
На фиг.4 схематично проиллюстрирован четвертый вариант осуществления способа и устройства для преобразования ветровой энергии в электрическую, в сборе. | |
![]() | ![]() |
На фиг.5А - фиг.5D схематично проиллюстрировано четыре способа регулирования скорости воздушного потока на выходе из ветроколлекторного устройства. На фиг.5А схематично проиллюстрировано регулирование скорости воздушного потока на выходе из ветроколлекторного устройства путем изменения направления ориентации ветроколлекторного устройства. На фиг.5В схематично проиллюстрировано регулирование скорости воздушного потока на выходе из ветроколлекторного устройства путем изменения площади поперечного сечения ветроприемного канала на входе в ветроколлекторное устройство. На фиг.5С схематично проиллюстрировано регулирование скорости воздушного потока на выходе из ветроколлекторного устройства путем изменения площади поперечного сечения ветроприемного канала на выходе из ветроколлекторного устройства. На фиг.5D схематично проиллюстрировано регулирование скорости воздушного потока на выходе из ветроколлекторного устройства путем изменения геометрической формы ветроколлекторного устройства. | |
![]() | ![]() |
![]() | ![]() |
На фиг.6 на виде спереди показан первый вариант осуществления ветроэнергетической установки по предлагаемому изобретению. На фиг.7А и фиг.7В показана ветроэнергетическая установка в этом варианте осуществления предлагаемого изобретения, в разрезе. На фиг.7А показана ветроэнергетическая установка в этом варианте осуществления предлагаемого изобретения, продольный разрез. На фиг.7В в поперечном разрезе показано подвижное основание для этого варианта осуществления ветроэнергетической установки по предлагаемому изобретения. На фиг.8 схематично проиллюстрирован один из вариантов осуществления ветротурбинного устройства по предлагаемому изобретению. | |
![]() | ![]() |
На фиг.9А - фиг.9С схематично проиллюстрирован один из вариантов осуществления отражателей воздушного потока и электрического генератора по предлагаемому изобретению. На фиг.9А схематично показаны отражатели воздушного потока и электрический генератор по предлагаемому изобретению, в разрезе. На фиг.9В схематично показаны отражатели воздушного потока по предлагаемому изобретению, в разрезе. На фиг.9С схематично показаны в разрезе первая кольцевая балка, вторая кольцевая балка, направляющая дорожка, опорное колесо, средство торможения и пылезащитное устройство по одному из вариантов осуществления предлагаемого изобретения. | |
![]() | ![]() |
![]() | ![]() |
На фиг.10А и фиг.10В схематично изображена однобашенная ветроэнергетическая установка со средством ориентирования и ветроколлекторным устройством по одному из вариантов осуществления предлагаемого изобретения. | |
![]() | ![]() |
На фиг.11А и фиг.11В схематично изображена двухбашенная ветроэнергетическая установка со средством ориентирования по одному из вариантов осуществления предлагаемого изобретения. На фиг.11А схематично показана двухбашенная ветроэнергетическая установка со средством ориентирования по одному из вариантов осуществления предлагаемого изобретения, вид сверху. На фиг.11В схематично показана двухбашенная ветроэнергетическая установка со средством ориентирования по одному из вариантов осуществления предлагаемого изобретения, вид спереди. | |
![]() | ![]() |
На фиг.12А и фиг.12В схематично изображена двухбашенная ветроэнергетическая установка со средством ориентирования и направляющим устройством для воздушного потока по одному из вариантов осуществления предлагаемого изобретения. На фиг.12А схематично показана двухбашенная ветроэнергетическая установка со средством ориентирования по одному из вариантов осуществления предлагаемого изобретения, вид сверху. На фиг.12В схематично показана двухбашенная ветроэнергетическая установка со средством ориентирования и направляющим устройством для воздушного потока по одному из вариантов осуществления предлагаемого изобретения, вид сверху. | |
![]() | ![]() |
На фиг.13 схематично изображена двухбашенная ветроэнергетическая установка со средством ориентирования и ветроколлекторным устройством по одному из вариантов осуществления предлагаемого изобретения. На фиг.14А и фиг.14В схематично изображено ветротурбинное устройство по другому варианту осуществления предлагаемого изобретения. На фиг.14А схематично показано ветротурбинное устройство по другому варианту осуществления предлагаемого изобретения, вид сверху. На фиг.14В показано в аксонометрии ветротурбинное устройство по другому варианту осуществления предлагаемого изобретения. | |
![]() | |
ПОДРОБНОЕ ОПИСАНИЕ ПРЕДЛОГАЕМОГО ИЗОБРЕТЕНИЯ
Далее будут описаны несколько возможных путей осуществления предлагаемого изобретения. В варианте осуществления предлагаемого изобретения, иллюстрируемом на фиг.1А - фиг.1Е, используются, как можно видеть, две ветрогенераторные башни. Установлены две ветрогенераторные башни 1. На правой и левой сторонах обеих ветрогенераторных башен 1 расположены ветротурбинные устройства 2. Обе ветрогенераторные башни 1 расположены очень близко друг к другу, так что ветрогенераторные башни 1 выполняют функцию уплотнения ветровой энергии. Воздушный поток в промежутке между двумя этими ветрогенераторными башнями 1 воздействует на ветротурбинное устройство 2.
Как показано на фиг.2А и фиг.2В, установка по предлагаемому изобретению может быть реализована с помощью одного ветроколлекторного устройства 3 и одной ветрогенераторной башни 1. Место выхода воздушного потока из ветроколлекторного устройства 3 находится вблизи ветрогенераторной башни 1. На ветрогенераторной башне 1 по периферии установлена некоторая совокупность ветротурбинных устройств 2. При вращении этих ветротурбинных устройств 2 обеспечивается возможность выработки электрической энергии электрогенераторным устройством 4 и обеспечивается возможность регулирования выходной мощности генераторного устройства.
Как можно видеть на фиг.3А - фиг.3С, установка по предлагаемому изобретению может быть реализована и с помощью одного ветроколлекторного устройства 3 и двух ветрогенераторных башен 1. Здесь применен тот же способ, что и проиллюстрированный на фиг.1А - фиг.1Е, при этом с наветренной стороны перед двумя ветрогенераторными башнями 1 установлено увеличивающее сечение сбора ветровой энергии ветроколлекторное устройство 3. Благодаря этому ветроколлекторному устройству 3 обеспечивается увеличение вырабатываемой мощности. Во время ураганного ветра ветроколлекторное устройство 3 может быть приведено в закрытое положение, то есть может быть использовано как средство защиты ветрогенераторных башен 1 от ветра разрушительной силы.
На фиг.4 реализация трех рассмотренных выше способов проиллюстрирована по группам.
На фиг.5А - фиг.5D проиллюстрировано четыре способа регулирования скорости воздушного потока в месте его выхода из ветроколлекторного устройства 3: (а) путем изменения направления сбора ветровой энергии, (б) путем изменения площади поперечного сечения входа 5 ветроколлекторного устройства 3, (в) путем изменения площади поперечного сечения выхода 6 ветроколлекторного устройства 3 и (г) путем изменения геометрической формы ветроколлекторного устройства 3.
На фиг.6 проиллюстрирован один из предпочтительных вариантов осуществления предлагаемого изобретения, в котором использованы две ветрогенераторные башни 1. Эти же две ветрогенераторные башни 1 одновременно выполняют функцию ветроколлекторного устройства 3.
На фиг.7А и фиг.7В проиллюстрирован один из предпочтительных вариантов осуществления предлагаемого изобретения, в котором использованы две ветрогенераторные башни 1. Эти же две ветрогенераторные башни 1 одновременно выполняют функцию ветроколлекторного устройства 3.
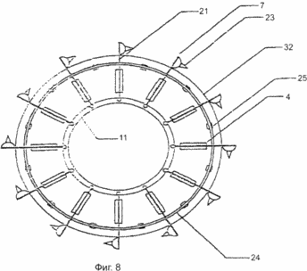
На фиг.8 изображен предпочтительный вариант ветротурбинного устройства 2 по предлагаемому изобретению.
На фиг.9А - фиг.9С изображены варианты осуществления отражателей 7 воздушного потока и электрогенераторного устройства 4 по предлагаемому изобретению.
На фиг.10А и фиг.10В схематично изображена однобашенная ветроэнергетическая установка по предлагаемому изобретению, снабженная средством ориентирования 8, направляющим устройством 9 для воздушного потока и ветроколлекторным устройством 3 по одному из вариантов осуществления предлагаемого изобретения.
На фиг.11А и фиг.11В схематично изображена двухбашенная ветроэнергетическая установка со средством ориентирования 8 по одному из вариантов осуществления предлагаемого изобретения.
На фиг.12А и фиг.12В схематично изображена двухбашенная ветроэнергетическая установка, снабженная средством ориентирования 8 и направляющим устройством 9 для воздушного потока по одному из вариантов осуществления предлагаемого изобретения.
На фиг.13 схематично изображена двухбашенная ветроэнергетическая установка, снабженная средством ориентирования 8 и ветроколлекторным устройством 3 по одному из вариантов осуществления предлагаемого изобретения.
На фиг.14А и фиг.14В схематично изображено ветротурбинное устройство 2 по другому варианту осуществления предлагаемого изобретения. Имеющие сужающуюся форму отражатели 7 воздушного потока расположены по периферии вокруг опорного устройства 10. Опорное устройство 10 имеет вертикальное кольцо. На опорном устройстве 10 установлена совокупность обмоток электрогенераторного устройства.
На фиг.1А - фиг.1Е изображен предпочтительный вариант ветроэнергетической установки по предлагаемому изобретению. Компоненты ветроэнергетической установки по предлагаемому изобретению изображены на фиг.6 и фиг.7. В рассматриваемом варианте осуществления предлагаемого изобретения ветроэнергетическая установка включает по меньшей мере две ветрогенераторные башни 1, ветроколлекторное устройство 3, два башенных каркаса 11, соединительное средство 12, установленное между двумя башенными каркасами 11, и по меньшей мере одно ветротурбинное устройство 2, которое установлено на ветрогенераторных башнях 1. Регулируемыми параметрами являются направление сбора ветровой энергии и площадь поперечного сечения входа в ветроколлекторное устройство 3.
Пара ветрогенераторных башен 1 выполняет функцию сбора ветровой энергии в качестве некоего виртуального ветроколлекторного устройства 3. Ветрогенераторная башня 1 может иметь форму любого тела вращения, в предпочтительных вариантах осуществления предлагаемого изобретения - форму цилиндра. Обе ветрогенераторные башни 1 имеют сравнительно большой диаметр, при этом одна из них неподвижна, а другая установлена с возможностью изменения ее относительного положения. Расстояние между двумя ветрогенераторными башнями может составлять несколько диаметров любой из ветрогенераторных башен. Когда ветер встречает на своем пути преграду из двух ветрогенераторных башен, воздушный поток устремляется в промежуток между этими двумя ветрогенераторными башнями 1. В этом промежутке происходит быстрое увеличение скорости воздушного потока, в результате чего увеличивается сила, действующая на горизонтальное ветротурбинное устройство 2. Благодаря этому обеспечивается возможность увеличения выработки электрической энергии имеющим низкие потери электрогенераторным устройством 4. Из-за пограничного эффекта в приземном слое воздушного потока, а и по причине порывистости естественного воздушного потока горизонтальная составляющая скорости воздушного потока имеет разное значение на разных высотах над поверхностью земли. Для использования естественной энергии ветра на обеих ветрогенераторных башнях 1 может быть установлено несколько десятков или несколько сотен независимых горизонтальных кольцеобразных ветротурбинных устройств 2. На выходе ветроколлекторного устройства воздушный поток проходит вдоль касательной к периферии ветротурбинного устройства и осуществляет воздействие воздушного потока на ветротурбинное устройство с обеспечением возможности его вращения.
Ветроэнергетическая установка по одному из предпочтительных вариантов осуществления предлагаемого изобретения включает следующие признаки. На вершине ветрогенераторной башни 1 установлена выполненная в форме купола крыша 13, которая предназначена для защиты от атмосферных осадков, а и, если ее сделать прозрачной, может образовывать помещение, которое может использоваться как наблюдательный пост, смотровая площадка или ресторан. На крыше 13 установлен молниеотвод 14.
Внутренняя поверхность башенного каркаса 11 каждой ветрогенераторной башни 1 облицована пластинами из нержавеющей стали, которые из соображений предотвращения утечки электрической энергии и обеспечения молниезащиты заземлены. Каждая из ветрогенераторных башен 1 снабжена подъемным устройством 15, которое предназначено для транспортировки обслуживающего персонала и оборудования. Размер этих подъемных устройств 15 составляет несколько метров. Подъемное устройство 15 установлено с возможностью перемещения внутри башенного каркаса 11. Башенный каркас 11 имеет отверстия и представляет собой полую турбообразную опорную структуру, в полость которой размещены электрические провода. В предпочтительных вариантах осуществления предлагаемого изобретения башенный каркас 11 выполнен из реактивно-порошкового бетона сверхвысокой прочности. Между шахтой 15а подъемного устройства 15 и опорной конструкцией башенного каркаса 11 имеется переходный канал 16. Между двумя образующими пару ветрогенераторными башнями установлено по меньшей мере одно соединительное средство 12, предназначенное для обеспечения сопротивления боковому давлению, возникающему между ветрогенераторными башнями 1 в силу эффекта Магнуса, и удержания ветрогенераторных башен 1 на заданном расстоянии. Между ветрогенераторными башнями 1 установлены прибор 17 для измерения скорости воздушного потока и прибор 18 для измерения давления воздушного потока в промежутке между двумя ветрогенераторными башнями 1. Соединительное средство 12 имеет телескопическое устройство, благодаря которому обеспечивается возможность регулирования расстояния между ветрогенераторными башнями 1. Одна из составляющих пару ветрогенераторных башен 1 установлена неподвижно, в то время как другая установлена с возможностью перемещения на подвижном основании 19. Перемещение подвижной ветрогенераторной башни 1 осуществляется с помощью большого зубчатого передаточного механизма и гидравлического устройства. Благодаря этой возможности перемещения одной из ветрогенераторных башен обеспечивается возможность регулирования выработки электрической энергии.
В предпочтительных вариантах осуществления ветротурбинного устройства 2 по предлагаемому изобретению, проиллюстрированных на фиг.6, фиг.7 и фиг.8, ветротурбинные устройства 2 установлены с возможностью вращения на ветрогенераторной башне 1. Отражатели 7 воздушного потока каждого ветротурбинного устройства 2 установлены с выступанием вовне от ветрогенераторной башни 1. На отражатели 7 воздушного потока действует сила воздушного потока, в результате чего ветротурбинное устройство 2 приводится во вращение. Ветротурбинное устройство 2 снабжено совокупностью черпакообразных элементов 20, которые расположены по его периферии кольцеобразно. В предпочтительных вариантах осуществления предлагаемого изобретения в качестве материала для ветротурбинного устройства 2 использован титановый сплав, или нержавеющая сталь, или углеродное волокно, или стеклосталь (glass steel), или же другой высокопрочный коррозионностойкий сплав. Каждый черпакообразный элемент 20 имеет отражатель 7 воздушного потока и опорную балку 21. В предпочтительных вариантах осуществления предлагаемого изобретения хвостовая часть отражателя 7 воздушного потока для повышения устойчивости снабжена впадиной с гладкой поверхностью. Для обеспечения максимального механического кпд при действии порыва ветра на эту впадину в хвостовой части отражателя 7 воздушного потока угол отражения 22 воздушного потока выбран в пределах от 173 градусов до 176 градусов. Задняя сторона отражателя 7 воздушного потока снабжена шпилькообразным или имеющим круглое сечение сужающимся противоветровым устройством 23, предназначенным для оказания сопротивления ветру. По отношению к впадине в хвостовой части отражателя 7 воздушного потока противоветровое устройство 23 является головной частью отражателя 7 воздушного потока. В предпочтительных вариантах осуществления предлагаемого изобретения опорная балка 21 отражателя 7 воздушного потока имеет форму длинного плоского стержня. Один конец опорной балки 21 прикреплен к отражателю 7 воздушного потока, а другой ее конец соединен с возможностью вращения с подшипником, установленным на внешней стороне башенного каркаса 11. Средняя часть опорной балки 21 соединена с электрогенераторным устройством 4. Для поддержания и обеспечения стабильной работы ветротурбинного устройства каждая опорная балка 21 может быть установлена в контакте с первой кольцевой балкой 24. Под первой кольцевой балкой 24 установлены опорные колеса 25. На нижней стороне опорного колеса 25 образована кольцевая дорожка 26. Кроме того, внешняя сторона первой кольцевой балки 24 установлена в контакте со второй кольцевой балкой 27. Радиус второй кольцевой балки 27 больше, чем радиус первой кольцевой балки 24. На второй кольцевой балке 27 могут быть установлены образующие некоторую совокупность средства торможения 28. Вблизи ветрогенераторных башен 1 могут быть установлены пылезащитные устройства 29, с помощью которых обеспечивается предотвращение скопления приносимой ветром пыли на деталях ветрогенераторного устройства. Ось ветротурбинного устройства 2 находится на одной линии с осью соответствующей ветрогенераторной башни 1.
Кроме того, для обеспечения удовлетворительного кпд желательно, чтобы соблюдалось соотношение D/d=(30˜90)/Ns, а в наиболее предпочтительном варианте - D/d=54/Ns, где через D обозначен диаметр ветротурбинного устройства 2, через d обозначен диаметр отражателя 7 воздушного потока, а через Ns обозначено отношение скоростей. В предпочтительных вариантах осуществления предлагаемого изобретения значение отношения скоростей Ns находится в диапазоне от 2 до 3. Отношение скоростей Ns - это отношение скорости воздушного потока к тангенциальной скорости наружной кромки ветротурбинного устройства 2. В предпочтительных вариантах осуществления предлагаемого изобретения коэффициент аэродинамического сопротивления головной части отражателя 7 воздушного потока меньше, чем 0,4 от аэродинамического сопротивления в его хвостовой части.
Кроме того, для обеспечения возможности технического обслуживания ветротурбинных устройств 2 предусмотрены средства торможения 28, которые задействуются при необходимости стопорения соответствующего ветротурбинного устройства 2. Кроме того, во избежание слишком быстрого вращения ветротурбинных устройств 2 и возможного выхода из строя электрогенераторного устройства 4 по причине перенапряжения при очень сильном ветре ветротурбинные устройства 2 одной ветрогенераторной башни 1 могут быть застопорены, а сама эта башня может быть перемещена на подветренную сторону другой ветрогенераторной башни 1. Если имеется ветроколлекторное устройство 3, то оно может быть приведено в закрытое положение, при котором обеспечивается защита ветрогенераторной башни 1 от сильного ветра и предотвращение выхода из строя всей системы генерирования электрической энергии.
Электрогенераторное устройство 4 по предлагаемому изобретению имеет набор магнитных полюсов 30 и обмотку 31, которые установлены на опорной балке 21 и кольцеобразной пластине 32 свешивающегося плеча опорной конструкции ветрогенераторной башни 1. При увеличении скорости вращения ветротурбинного устройства 2 увеличивается площадь обмотки 31, пересекающая силовые линии магнитного поля в единицу времени, в результате чего имеет место увеличение общего магнитного потока и увеличение электродвижущей силы.
В другом предпочтительном варианте осуществления предлагаемого изобретения, проиллюстрированном на фиг.13, имеется по меньшей мере средство ориентирования 8 и опорная система 33. Кроме того, имеются ветроколлекторное устройство 3 и две ветрогенераторные башни 1, которые конструктивно связаны с опорной системой 33. На опорной системе 33 размещено два подвижных основания 19. На этих подвижных основаниях 19 установлены упомянутые ветрогенераторные башни 1. Эти две ветрогенераторные башни 1 установлены с возможностью перемещения друг относительно друга. Чистое расстояние по прямой между этими двумя ветрогенераторными башнями 1 не превышает двух диаметров любого ветротурбинного устройства 2. Ветрогенераторные башни 1 установлены таким образом, что обращенная навстречу ветру лицевая поверхность пары ветрогенераторных башен 1 образует сужающийся канал, в котором имеет место уплотнение воздушного потока, то есть образуется некое виртуальное ветроколлекторное устройство 3. На правой и левой сторонах сужающегося канала, в котором происходит уплотнение воздушного потока, расположены ветротурбинные устройства 2, симметрично на обеих сторонах. Будучи приведены в движение, ветротурбинные устройства 2 совершают вращательное движение по часовой стрелке или против часовой стрелки. От этих ветротурбинных устройств 2 работает электрогенераторное устройство 4, выполненное с возможностью выработки электрической энергии. Между двумя ветрогенераторными башнями 1 может быть установлено соединительное средство 12, назначение которого состоит в противодействии боковому давлению, возникающему в силу эффекта Магнуса. Длина соединительного средства 12 является регулируемой величиной, благодаря чему обеспечивается возможность изменения расстояния между ветрогенераторными башнями 1 и регулирования, тем самым, скорости воздушного потока в пространстве сужающегося канала, обеспечивающего уплотнение воздушного потока. На соединительном средстве 12 могут быть установлены приборы для измерения скорости и давления воздушного потока. Опорная система 33 выполнена с возможностью совершения поворота при действии ветра на средство ориентирования 8, благодаря чему обеспечивается возможность ориентирования образуемого ветрогенераторными башнями 1 виртуального ветроколлекторного устройства 3 оптимальным образом с точки зрения сбора ветровой энергии.
Еще в одном предпочтительном варианте осуществления предлагаемого изобретения, проиллюстрированном на фиг.14А и фиг.14В, ветротурбинное устройство 2 содержит некоторую совокупность имеющих сужающуюся форму отражателей 7 воздушного потока, которые расположены на опорном устройстве 10. На опорном устройстве 10 отражатели 7 воздушного потока расположены симметрично на его верхней и нижней сторонах. Внутренняя сторона отражателя 7 воздушного потока снабжена вертикальным кольцом 34. Внешняя сторона вертикального кольца 35 установлена в контакте с отражателем 7 воздушного потока. На ветротурбинном устройстве 2 установлен набор магнитных полюсов или обмотки 31 электрогенераторного устройства 4. В рассматриваемом варианте на опорном устройстве 10 ветротурбинного устройства 2 установлены обмотки 31 электрогенераторного устройства 4.
В предпочтительных вариантах осуществления ветроэнергетической установки по предлагаемому изобретению используются две ветрогенераторные башни. Когда нет специального ветроколлекторного устройства 3, теоретическая выработка электрической энергии может быть рассчитана на основании принципов динамики жидкостей и газов. Если генераторное устройство расположено на высоте 1 м над поверхностью земли, то мощность ветрового колеса рассчитывается по формуле:
.Fu.h..QUVr(1.COS)
..A...d(1..)(1..)(1.COS)(1. D/d3)×(V10)×(h/10)3
Общая выходная мощность двух электрогенераторных устройств составит:
W.2..H.Fu.h
где
.Н - Сумма значений по высоте ветрогенераторных башен.
D - диаметр ветрогенераторной башни.
d - Чистое расстояние по прямой между ветрогенераторными башнями.
.. - Плотность воздуха.
Q - Воздушный поток, прикладываемый к отражателю воздушного потока.
.. - Угол отражения воздушного потока на отражателе воздушного потока, установленного на ветротурбинном устройстве.
А - Площадь поперечного сечения канала уплотнения воздушного потока в месте
входа воздушного потока в ветроколлекторное устройство.
.. - Механический кпд ветротурбинного устройства.
.. - Отношение площади поперечного сечения отражателя воздушного потока в месте приема воздушного потока к площади поперечного сечения промежутка между ветрогенераторными башнями.
.. - Отношение тангенциальной скорости ветротурбинного устройства к скорости ветра в промежутке, обратное отношению для Мз.
h - высота над поверхностью земли.
.. - коэффициент неровности почвы.
V10 - горизонтальная скорость ветра.
Vh - горизонтальная скорость ветра на высоте h метров над поверхностью земли; V10(h/10).
Vs - Скорость ветра в промежутке между ветрогенераторными башнями; Vh(1.D/d).
U - Скорость вращения ветротурбинного устройства; ..Vs.. Vh×(1.D/d).
УГ - Относительная скорость; ..Уз.и.(1..)Уз.(1..)Уь(1.0/а).
Q - Воздушный поток, прикладываемый к отражателю воздушного потока; )VsA.
Тем самым, известно, что другое, нежели прямо пропорционально третьей степени скорости ветра, диаметру ветрогенераторной башни; чистому расстоянию по прямой с) между ветрогенераторными башнями. По мере увеличения значения отношения D/d происходит уплотнение воздушного потока в промежутке между ветрогенераторными башнями, что ведет к увеличению выходной мощности.
При инженерном применении принципа движущейся лопасти к импульсно-турбинному колесу ряд лопастей устанавливают по периферии вращающегося колеса. Эти лопасти обычно расположены с такими промежутками, что ими обеспечивается отклонение полного расхода Qjструи. Поэтому общая выходная мощность импульсной турбины без учета трения составляет
.Fu. h..Qj.Vs.U.(1.COS.)U
Кроме того, ветроколлекторное устройство имеет вход. Ширина этого входа равна 2(d.D). А именно, с помощью ветроколлекторного устройства осуществляется уплотнение воздушного потока, поступающего от воспринимающих ветер поверхностей ветрогенераторных башен таким образом, что обеспечивается увеличение выработки электрической энергии. По мере приближения угла, под которым воздушный поток отражается от отражателя воздушного потока, к значению 180 градусов, выходная мощность увеличивается. Чем больше аэродинамическое сопротивление отражателей воздушного потока, тем ниже механический кпд ветротурбинного устройства. Поэтому в предлагаемом изобретении используются отражатели воздушного потока с низким аэродинамическим сопротивлением. Это и способствует повышению выходной мощности. Отношение тангенциальной скорости отражателей воздушного потока к скорости воздушного потока в промежутке между ветрогенераторными башнями равно величине, обратной Ns. В предпочтительных вариантах осуществления предлагаемого изобретения значение Ns находится в пределах от 2 до 3. При Ns=2 величина. (1..) достигает максимума. По мере приближения значения Ns к 2 выработка электрической энергии увеличивается. Отношение площади поперечного сечения воздушного потока, принимаемого отражателями воздушного потока, к площади поперечного сечения воздушного потока в промежутке между ветрогенераторными башнями близко к 1, и, таким образом, обеспечивается выработка электрической энергии, близкая к максимальной.
Предлагаемое изобретение описано выше только на некоторых примерах осуществления, однако для среднего специалиста соответствующего профиля очевидно, что оно может быть осуществлено и во многих других вариантах. Такие варианты не должны рассматриваться как отклонение от духа предлагаемого изобретения и как выходящие за его объем, и все такие варианты и модификации должны охватываться приводимой ниже формулой изобретения.
ФОРМУЛА ИЗОБРЕТЕНИЯ
1. Способ генерирования электрической энергии путем преобразования энергии уплотненного воздушного потока, применяемый в ветроэнергетической установке, содержащей по меньшей мере одну ветрогенераторную башню (1), по меньшей мере одно ветротурбинное устройство (2), установленное на упомянутой по меньшей мере одной ветрогенераторной башне (1), ветроколлекторное устройство (3) и электрогенераторное устройство (4), включающий следующие стадии: кольцеобразное расположение каждого из упомянутых ветротурбинных устройств (2) по периферии по меньшей мере одной ветрогенераторной башни (1), при этом ось каждого ветротурбинного устройства (2) перпендикулярна поверхности земли и расположена на одной прямой с осью ветрогенераторной башни (1), на которой ветротурбинное устройство (2) установлено, и ориентирование направления сбора ветровой энергии и уплотнение воздушного потока с помощью ветроколлекторного устройства (3) или с помощью ветрогенераторных башен (1) для увеличения крутящих моментов, действующих на ветротурбинные устройства (2), и скорости воздушного потока, так что обеспечивается увеличение скорости вращения ветротурбинных устройств (2), установленных на ветрогенераторных башнях (1), с приведением во вращение электрогенераторных устройств (4), выполненных с возможностью генерирования электрической энергии.
2. Способ генерирования электрической энергии по п.1, в котором используют опорную систему (33), предназначенную для обеспечения опоры для по меньшей мере одного ветроколлекторного устройства (3), и по меньшей мере одну ветрогенераторную башню (1), при этом опорная система (33) снабжена средством ориентирования (8), а опорная система (33) выполнена с возможностью поворота при действии воздушного потока на средство ориентирования (8), с обеспечением возможности придания ветроколлекторному устройству (3) или ветрогенераторной башне (1) положения, предпочтительного с точки зрения сбора ветровой энергии.
3. Способ генерирования электрической энергии по п.1, в котором используют две ветрогенераторные башни (1) - первую ветрогенераторную башню и вторую ветрогенераторную башню, при этом каждая ветрогенераторная башня (1) снабжена ветротурбинным устройством (2) и электрогенераторным устройством (4), причем ветротурбинное устройство (2) установлено на соответствующей ветрогенераторной башне (1) с возможностью совершения вращения, а компоненты электрогенераторного устройства (4) установлены на соответствующем ветротурбинном устройстве (2) и на конструкции ветрогенераторной башни (1), с обеспечением при вращении ветротурбинного устройства (2) индуцирования электродвижущей силы, при этом чистое расстояние по прямой между двумя электрогенераторными устройствами (4) не превышает двух диаметров любого из ветротурбинных устройств (2), а между двумя ветрогенераторными башнями (1) образован сужающийся канал для обеспечения уплотнения воздушного потока с помощью этих двух ветрогенераторных башен, в результате чего такая пара ветрогенераторных башен (1) выполняет функцию сбора ветровой энергии как некое виртуальное ветроколлекторное устройство, причем ветротурбинные устройства (2), установленные на ветрогенераторной башне (1), расположены на двух сторонах ветрогенераторных башен (1) симметрично, при этом под действием воздушного потока обеспечена возможность вращения ветротурбинных устройств (2) по часовой стрелке или против часовой стрелки в зависимости от направления ветра и генерирования при этом электрического тока электрогенераторными устройствами (4) в результате электромагнитной индукции.
4. Способ генерирования электрической энергии по п.3, в котором первая ветрогенераторная башня (1) установлена неподвижно, а вторая ветрогенераторная башня (1) снабжена подвижным основанием (19) с обеспечением возможности перемещения второй ветрогенераторной башни (1) для изменения скорости воздушного потока между двумя ветрогенераторными башнями (1) и регулирования электрической мощности, вырабатываемой электрогенераторным устройством (4) в результате преобразования ветровой энергии.
5. Способ генерирования электрической энергии по п.2, в котором используют две ветрогенераторные башни (1) - первую ветрогенераторную башню и вторую ветрогенераторную башню, при этом каждая ветрогенераторная башня (1) снабжена ветротурбинным устройством (2) и электрогенераторным устройством (4), ветротурбинное устройство (2) установлено на соответствующей ветрогенераторной башне с возможностью совершения вращения, а компоненты электрогенераторного устройства (4) установлены на соответствующем ветротурбинном устройстве (2) и на конструкции ветрогенераторной башни (1) с обеспечением при вращении ветротурбинного устройства (2) индуцирования электродвижущей силы, при этом чистое расстояние по прямой между двумя электрогенераторными устройствами (4) не превышает двух диаметров любого из ветротурбинных устройств (2), при этом между двумя ветрогенераторными башнями (1) образован сужающийся канал для обеспечения уплотнения воздушного потока с помощью этих двух ветрогенераторных башен, в результате чего такая пара ветрогенераторных башен (1) выполняет функцию сбора ветровой энергии как некое виртуальное ветроколлекторное устройство, при этом ветротурбинные устройства (2), установленные на ветрогенераторной башне (1), расположены на двух сторонах ветрогенераторных башен (1) симметрично, при этом под действием воздушного потока обеспечена возможность вращения ветротурбинных устройств (2) по часовой стрелке или против часовой стрелки в зависимости от направления ветра и генерирования при этом электрического тока электрогенераторными устройствами (4) в результате электромагнитной индукции.
6. Способ генерирования электрической энергии по п.5, в котором первая ветрогенераторная башня (1) установлена неподвижно, а вторая ветрогенераторная башня (1) снабжена подвижным основанием (19) с обеспечением возможности перемещения второй ветрогенераторной башни (1) для изменения скорости воздушного потока между двумя ветрогенераторными башнями (1) и регулирования электрической мощности, вырабатываемой электрогенераторным устройством (4) в результате преобразования ветровой энергии.
7. Способ генерирования электрической энергии по п.1, в котором площадь поперечного сечения входа (5) ветроколлекторного устройства (3) больше, чем площадь поперечного сечения выхода (6) ветроколлекторного устройства (3), при этом ветротурбинное устройство (2) установлено на соответствующей ветрогенераторной башне (1) с возможностью вращения, а компоненты электрогенераторного устройства (4) установлены на соответствующем ветротурбинном устройстве (2) и на конструкции ветрогенераторной башни (1) с обеспечением при вращении ветротурбинного устройства (2) индуцирования электродвижущей силы, при этом ветрогенераторная башня (1) установлена на выходе (6) ветроколлекторного устройства (3) с обеспечением возможности приведения во вращение ветротурбинных устройств (2) под действием воздушного потока от выхода (6) ветроколлекторного устройства (3).
8. Способ генерирования электрической энергии по п.2, в котором площадь поперечного сечения входа (5) ветроколлекторного устройства (3) больше, чем площадь поперечного сечения выхода (6) ветроколлекторного устройства (3), при этом ветротурбинное устройство (2) установлено на соответствующей ветрогенераторной башне (1) с возможностью вращения, а компоненты электрогенераторного устройства (4) установлены на соответствующем ветротурбинном устройстве (2) и на конструкции ветрогенераторной башни (1) с обеспечением при вращении ветротурбинного устройства (2) индуцирования электродвижущей силы, при этом ветрогенераторная башня (1) установлена на выходе (6) ветроколлекторного устройства (3) с обеспечением возможности приведения во вращение ветротурбинных устройств (2) под действием воздушного потока от выхода (6) ветроколлекторного устройства (3).
9. Способ генерирования электрической энергии по п.3, в котором, в целях уплотнения воздушного потока, площадь поперечного сечения входа (5) ветроколлекторного устройства (3) больше, чем площадь поперечного сечения выхода (6) ветроколлекторного устройства (3), при этом ветроколлекторное устройство (3) установлено с наветренной стороны перед ветрогенераторными башнями (1) таким образом, что выход (6) ветроколлекторного устройства (3) расположен вблизи входа (5) сужающегося канала, предназначенного для уплотнения воздушного потока.
10. Способ генерирования электрической энергии по п.4, в котором, в целях уплотнения воздушного потока, площадь поперечного сечения входа (5) ветроколлекторного устройства (3) больше, чем площадь поперечного сечения выхода (6) ветроколлекторного устройства (3), при этом ветроколлекторное устройство (3) установлено с наветренной стороны перед ветрогенераторными башнями (1) таким образом, что выход (6) ветроколлекторного устройства (3) расположен вблизи входа (5) сужающегося канала, предназначенного для уплотнения воздушного потока.
11. Способ генерирования электрической энергии по п.5, в котором, в целях уплотнения воздушного потока, площадь поперечного сечения входа (5) ветроколлекторного устройства (3) больше, чем площадь поперечного сечения выхода (6) ветроколлекторного устройства (3), при этом ветроколлекторное устройство (3) установлено с наветренной стороны перед ветрогенераторными башнями (1) таким образом, что выход (6) ветроколлекторного устройства (3) расположен вблизи входа (5) сужающегося канала, предназначенного для уплотнения воздушного потока.
12. Способ генерирования электрической энергии по п.6, в котором, в целях уплотнения воздушного потока, площадь поперечного сечения входа (5) ветроколлекторного устройства (3) больше, чем площадь поперечного сечения выхода (6) ветроколлекторного устройства (3), при этом ветроколлекторное устройство (3) установлено с наветренной стороны перед ветрогенераторными башнями (1) таким образом, что выход (6) ветроколлекторного устройства (3) расположен вблизи входа (5) сужающегося канала, предназначенного для уплотнения воздушного потока.
13. Способ генерирования электрической энергии по любому из пп.7, 8, 9, 10, 11 или 12, в котором скорость воздушного потока на выходе (6) ветроколлекторного устройства (3) является регулируемой величиной, при регулировании которой обеспечена возможность регулирования выходной мощности электрогенераторного устройства (4).
14. Способ генерирования электрической энергии по п.2, в котором ветроэнергетическая установка дополнительно включает направляющее устройство (9), предназначенное для направления воздушного потока и экранирования воздушного потока, направленного на ветротурбинное устройство (2), для уменьшения аэродинамического сопротивления частей, оказывающих сопротивление вращению ветротурбинного устройства (2) при его вращении.
15. Способ генерирования электрической энергии по п.3, в котором ветроэнергетическая установка дополнительно включает направляющее устройство (9), предназначенное для направления воздушного потока и экранирования воздушного потока, направленного на ветротурбинное устройство (2), для уменьшения аэродинамического сопротивления частей, оказывающих сопротивление вращению ветротурбинного устройства (2) при его вращении.
16. Способ генерирования электрической энергии по п.4, в котором ветроэнергетическая установка дополнительно включает направляющее устройство (9), предназначенное для направления воздушного потока и экранирования воздушного потока, направленного на ветротурбинное устройство (2), для уменьшения аэродинамического сопротивления частей, оказывающих сопротивление вращению ветротурбинного устройства (2) при его вращении.
17. Способ генерирования электрической энергии по п.5, в котором ветроэнергетическая установка дополнительно включает направляющее устройство (9), предназначенное для направления воздушного потока и экранирования воздушного потока, направленного на ветротурбинное устройство (2), для уменьшения аэродинамического сопротивления частей, оказывающих сопротивление вращению ветротурбинного устройства (2) при его вращении.
18. Способ генерирования электрической энергии по п.6, в котором ветроэнергетическая установка дополнительно включает направляющее устройство (9), предназначенное для направления воздушного потока и экранирования воздушного потока, направленного на ветротурбинное устройство (2), для уменьшения аэродинамического сопротивления частей, оказывающих сопротивление вращению ветротурбинного устройства (2) при его вращении.
19. Способ генерирования электрической энергии по любому из пп.2-12 или 14-18, в котором ветроэнергетическая установка содержит по меньшей мере две группы, каждая из которых включает по меньшей одно электрогенераторное устройство (4), ветротурбинное устройство (2) и ветроколлекторное устройство (3), при этом разные группы имеют одинаковый состав или же разный состав.
20. Способ генерирования электрической энергии по п.13, в котором, с целью регулирования скорости воздушного потока на выходе (6) ветроколлекторного устройства (3) с обеспечением тем самым возможности регулирования выходной мощности электрогенераторного устройства (4), изменяют направление сбора ветровой энергии с помощью ветроколлекторного устройства (3).
21. Способ генерирования электрической энергии по п.13, в котором, с целью регулирования скорости воздушного потока на выходе (6) ветроколлекторного устройства (3) с обеспечением тем самым возможности регулирования выходной мощности электрогенераторного устройства (4), изменяют площадь поперечного сечения входа (5) ветроколлекторного устройства (3).
22. Способ генерирования электрической энергии по п.13, в котором, с целью регулирования скорости воздушного потока на выходе (6) ветроколлекторного устройства (3) с обеспечением тем самым возможности регулирования выходной мощности электрогенераторного устройства (4), изменяют форму ветроколлекторного устройства (3).
23. Способ генерирования электрической энергии по любому из пп.1-3, 5, 7 или 8, в котором электрогенераторное устройство (4) содержит обмотку и набор магнитных полюсов, установленных на конструкции ветрогенераторной башни (1) и на ветротурбинном устройстве (2) соответственно, при этом при вращении ветротурбинного устройства (2) имеет место движение ветротурбинного устройства (2) относительно конструкции ветрогенераторной башни (1) и пересечение витками обмотки силовых линий магнитного поля, в результате чего возникает электромагнитная индукция, приводящая к возникновению электродвижущей силы.
24. Способ генерирования электрической энергии по любому из пп.1-3, 5, 7 или 8, в котором электрогенераторное устройство (4) включает обмотку, содержащую магнитопроводный сердечник с индукционным концом, и набор магнитных полюсов, которые установлены на конструкции ветрогенераторной башни (1) и на ветротурбинном устройстве (2) соответственно, при этом при вращении ветротурбинного устройства (2) имеет место попеременное приближение магнитных полюсов к индукционному концу обмотки, вызывающее периодическое изменение проходящего через магнитопроводный сердечник обмотки магнитного потока, в результате чего возникает электромагнитная индукция, приводящая к возникновению электродвижущей силы.
25. Способ генерирования электрической энергии по любому из пп.7-12, в котором обеспечивают прохождение воздушного потока на выходе (6) ветроколлекторного устройства (3) вдоль касательной к периферии ветротурбинного устройства (2) и воздействие воздушного потока на ветротурбинное устройство с обеспечением возможности вращения ветротурбинного устройства (2).
26. Способ генерирования электрической энергии по любому из пп.7-12, в котором по меньшей мере одно поперечное сечение на выходе (6) ветроколлекторного устройства (3) выполнено в виде сужающегося канала для воздушного потока.
27. Способ генерирования электрической энергии по любому из пп.3 или 4, в котором осуществлено прохождение воздушного потока на выходе (6) ветроколлекторного устройства (3) вдоль касательной к периферии ветротурбинного устройства (2) и воздействие воздушного потока на ветротурбинное устройство с обеспечением возможности вращения ветротурбинного устройства (2).
28. Способ генерирования электрической энергии по любому из пп.3 или 5, в котором по меньшей мере одно поперечное сечение сужающегося канала для воздушного потока выполнено в виде раструба.
29. Способ генерирования электрической энергии по любому из пп.3 или 5, в котором для регулирования расстояния между ветрогенераторными башнями (1) используют опорное устройство (10), установленное между ветрогенераторными башнями (1).
30. Ветротурбинное устройство для ветроэнергетической установки, включающее по меньшей мере одну ветровую турбину, по меньшей мере одну кольцевую балку, предназначенную для фиксирования и обеспечения опоры для ветротурбинного устройства (2), совокупность опорных колес, расположенных под первой кольцевой балкой, и по меньшей мере одну кольцевую дорожку, предназначенную для обеспечения опоры для первой кольцевой балки, при этом каждая ветровая турбина снабжена совокупностью черпакообразных элементов, расположенных по окружности на ветрогенераторной башне (1), причем каждый черпакообразный элемент имеет опорный стержень, при этом свободный конец каждого черпакообразного элемента снабжен отражателем (7) воздушного потока, а другой конец черпакообразного элемента установлен на ветрогенераторной башне (1) с возможностью поворота.
31. Ветротурбинное устройство по п.30, дополнительно включающее вторую кольцевую балку, предназначенную для фиксирования и обеспечения опоры для ветротурбинного устройства (2), и средства торможения, установленные под второй кольцевой балкой.
32. Ветротурбинное устройство по п.30, дополнительно включающее пылезащитное устройство, прикрепленное к внешнему кольцу ветротурбинного устройства (2).
33. Ветротурбинное устройство по п.30, в котором соблюдено соотношение D/d=(30˜90)/Ns, где D - диаметр ветротурбинного устройства (2), d - поперечный размер отражателя воздушного потока, Ns - передаточное отношение ветровой турбины, представляющее собой отношение скорости воздушного потока к тангенциальной скорости ветровой турбины, при этом значение Ns находится в пределах от 2 до 6.
34. Ветротурбинное устройство по п.30, в котором каждый отражатель воздушного потока снабжен двумя чашеобразными элементами, причем отражение струи воздушного потока обеспечено под углом от 120 до 180° относительно поступающего воздушного потока, при этом задняя сторона отражателя (7) воздушного потока снабжена иглообразной или сужающейся оконечностью.
35. Ветротурбинное устройство по п.27, в котором отражатель (7) воздушного потока выполнен в форме пули, хвостовой конец которой снабжен одним из элементов, выбранных из перечня: полусферической выемкой, вогнутой пластиной, изогнутой лопаткой, вогнутым полуконусом, пустотелой пирамидой, пустотелым конусом, пустотелым куполом, выемкой полуцилиндрической формы, пустотелой фигурой изогнутой формы, изогнутой под углом пластиной, или спиралеобразной фигурой, при этом вогнутая поверхность отражателя (7) воздушного потока обращена навстречу воздушному потоку, а задняя сторона отражателя (7) воздушного потока снабжена иглообразной или сужающейся оконечностью.
36. Ветрогенераторная башня для ветроэнергетической установки, содержащая по меньшей мере одно ветротурбинное устройство (2), по меньшей мере один башенный каркас ветрогенераторной башни (1) и по меньшей мере одно электрогенераторное устройство (4), при этом ветротурбинное устройство (2) снабжено совокупностью отражателей (7) воздушного потока, которые расположены последовательно вдоль башенного каркаса, а ветротурбинные устройства (2) расположены горизонтально вдоль башенного каркаса с возможностью независимого вращения каждого ветротурбинного устройства, причем каждое электрогенераторное устройство содержит набор магнитных полюсов и обмотку, при этом при вращении ветротурбинного устройства обеспечена возможность наведения в обмотке электродвижущей силы в результате ее взаимодействия с магнитными полюсами.
37. Ветрогенераторная башня по п.36, в которой нижняя часть башенного каркаса имеет форму тела вращения, выбранного из следующего перечня: цилиндр, параболоид вращения, гиперболоид вращения.
38. Ветрогенераторная башня по п.36, дополнительно снабженная по меньшей мере одной арочной крышей с молниеотводом.
39. Ветрогенераторная башня по п.36, дополнительно снабженная лифтом, расположенным внутри конструкции ветрогенераторной башни.
40. Ветрогенераторная башня по п.36, дополнительно снабженная опорной системой (33) со средством ориентирования, предназначенным для изменения положения, поддержания и установки конструкции башни.
41. Ветрогенераторная башня по п.36, дополнительно снабженная по меньшей мере одним ветроколлекторным устройством (3), при этом ветрогенераторная башня (1) установлена на выходе (6) ветроколлекторного устройства (3), а от выхода (6) ветроколлекторного устройства (3) обеспечено действие воздушного потока на отражатели (7) воздушного потока ветротурбинного устройства (2) в направлении по касательной к ветротурбинному устройству (2), с обеспечением возможности быстрого вращения ветротурбинных устройств и возможности генерирования в результате этого электрической энергии электрогенераторным устройством (4).
42. Ветрогенераторная башня по п.41, в которой ветроколлекторное устройство (3) включает подвижное основание (19), предназначенное для регулирования направления сбора ветровой энергии.
43. Ветрогенераторная башня по п.42, дополнительно содержащая по меньшей мере одну систему управления, предназначенную для управления подвижным основанием (19) и регулирования направления сбора ветровой энергии.
44. Ветрогенераторная башня по п.41, дополнительно содержащая по меньшей мере одну систему управления, предназначенную для выполнения одного из следующих действий: регулирование площади поперечного сечения входа (5) ветроколлекторного устройства (3), регулирование площади поперечного сечения выхода (6) ветроколлекторного устройства (3), изменение формы ветроколлекторного устройства (3).
45. Ветрогенераторная башня по п.41, дополнительно содержащая по меньшей мере одно направляющее устройство (9), предназначенное для направления воздушного потока и экранирования части воздушного потока, направленного на ветротурбинное устройство (2), для уменьшения аэродинамического сопротивления, являющегося причиной уменьшения скорости вращения ветротурбинного устройства (2).
46. Ветрогенераторная башня по любому из пп.36 или 40, содержащая два башенных каркаса, при этом чистое расстояние по прямой между двумя башенными каркасами не превышает двух диаметров башенного каркаса, при этом этими двумя ветрогенераторными башнями (1) образован сужающийся канал для прохождения воздушного потока, так что обеспечено выполнение такой парой ветрогенераторных башен (1) функции сбора ветровой энергии в качестве некоего виртуального ветроколлекторного устройства (3).
47. Ветрогенераторная башня по п.46, дополнительно содержащая по меньшей мере одно опорное устройство (10), расположенное между двумя башенными каркасами для противодействия давлению на эти башенные каркасы, являющегося результатом эффекта Магнуса при высокой скорости воздушного потока между двумя башенными каркасами.
48. Ветрогенераторная башня по п.47, в которой длина опорного устройства (10) является регулируемой величиной для изменения расстояния между двумя ветрогенераторными башнями (1).
49. Ветрогенераторная башня по любому из пп.47 или 48, дополнительно содержащая подвижное основание (19), предназначенное для размещения на нем одной из двух ветрогенераторных башен (1) с возможностью изменения расстояния между двумя ветрогенераторными башнями (1) и их взаимного расположения.
50. Ветрогенераторная башня по любому из пп.36 или 41, включающая две ветрогенераторные башни (1), при этом чистое расстояние по прямой между этими двумя ветрогенераторными башнями (1) не превышает двух диаметров ветрогенераторной башни (1), при этом этими двумя ветрогенераторными башнями (1) образован сужающийся канал для прохождения воздушного потока, так что обеспечено выполнение такой парой ветрогенераторных башен (1) функции сбора ветровой энергии в качестве некоего виртуального ветроколлекторного устройства (3).
51. Ветрогенераторная башня по п.40, в которой средство ориентирования выполнено в виде вертикальной пластины, крыла или паруса.
52. Ветрогенераторная башня по п.51, дополнительно содержащая горизонтальное стабилизирующее крыло, прикрепленное к средству ориентирования.
53. Ветрогенераторная башня по любому из пп.36 или 40, в которой ветровая турбина имеет цилиндрическую форму, причем внешняя периферия ветровой турбины снабжена отражателями (7) воздушного потока, при этом при действии воздушного потока на отражатели (7) воздушного потока обеспечено принуждение ветровой турбины к вращению с обеспечением тем самым возможности генерирования электрической энергии электрогенераторным устройством (4).
54. Ветрогенераторная башня по любому из пп.36 или 40, в которой ветротурбинное устройство (2) включает по меньшей одну ветровую турбину, при этом каждая ветровая турбина снабжена совокупностью черпакообразных элементов, расположенных по периферии ветрогенераторной башни (1), причем каждый черпакообразный элемент имеет опорную балку, при этом свободный конец каждого черпакообразного элемента снабжен отражателем (7) воздушного потока, при этом имеется по меньшей мере одна кольцевая балка, предназначенная для крепления на ней черпакообразных элементов и поддержки ветротурбинного устройства (2), при этом под первой кольцевой балкой установлена совокупность опорных колес и по меньшей мере одна кольцевая дорожка для поддержания первой кольцевой балки.
55. Ветрогенераторная башня по любому из пп.36 или 40, дополнительно содержащая передаточный механизм, предназначенный для передачи крутящего момента от ветротурбинного устройства (2) при вращении последнего к электрогенераторному устройству (4).
56. Ветрогенераторная башня по любому из пп.36 или 40, в которой набор магнитных полюсов и обмотка установлены на башенном каркасе и ветротурбинном устройстве (2) соответственно.
57. Ветрогенераторная башня по п.53, в которой отражатель (7) воздушного потока имеет форму пули, хвостовой конец которой снабжен одним из элементов из следующего перечня: полусферической выемкой, вогнутой пластиной, изогнутой лопаткой, вогнутым полуконусом, пустотелой пирамидой, пустотелым конусом, пустотелым куполом, выемкой полуцилиндрической формы, пустотелой фигурой изогнутой формы, изогнутой под углом пластиной, или спиралеобразной фигурой, при этом вогнутая поверхность отражателя (7) воздушного потока обращена навстречу воздушному потоку, а задняя сторона отражателя (7) воздушного потока снабжена иглообразной или сужающейся оконечностью.
58. Ветрогенераторная башня по п.54, в которой отражатель (7) воздушного потока имеет форму пули, хвостовой конец которой снабжен одним из элементов из следующего перечня: полусферической выемкой, вогнутой пластиной, изогнутой лопаткой, вогнутым полуконусом, пустотелой пирамидой, пустотелым конусом, пустотелым куполом, выемкой полуцилиндрической формы, пустотелой фигурой изогнутой формы, изогнутой под углом пластиной, или спиралеобразной фигурой, при этом вогнутая поверхность отражателя (7) воздушного потока обращена навстречу воздушному потоку, а задняя сторона отражателя (7) воздушного потока снабжена иглообразной или сужающейся оконечностью.
59. Ветрогенераторная башня по любому из пп.57 или 58, в которой отражатель (7) воздушного потока имеет головную часть и хвостовую часть, при этом головная часть имеет гладкую поверхность и направлена тангенциально вдоль поверхности вращения ветротурбинного устройства (2).
60. Ветрогенераторная башня по любому из пп.57 или 58, в которой коэффициент аэродинамического сопротивления головной части отражателя (7) воздушного потока составляет менее 0,4 от аэродинамического сопротивления хвостовой части отражателя (7) воздушного потока при действии на эту хвостовую часть отражателя (7) воздушного потока струи воздушного потока.
61. Ветрогенераторная башня по п.60, в которой хвостовая часть отражателя (7) имеет отверстие или выемку с гладкой поверхностью.
62. Ветрогенераторная башня по п.53, в которой опорное устройство (10) отражателя (7) воздушного потока выполнено в форме, выбранной из перечня: форма колеса, дискообразная форма, цилиндрическая форма.
63. Ветрогенераторная башня по любому из пп.36 или 40, в которой башенный каркас представляет собой полую трубообразную опорную структуру, в полости которой размещены электрические провода.
64. Ветрогенераторная башня по любому из пп.36 или 40, дополнительно содержащая средство торможения, предназначенное для стопорения ветротурбинного устройства (2).
Версия для печати
Дата публикации 11.01.2007гг
Created/Updated: 25.05.2018
|































