| Начало раздела Производственные, любительские Радиолюбительские Авиамодельные, ракетомодельные Полезные, занимательные | Хитрости мастеру Электроника Физика Технологии Изобретения | Тайны космоса Тайны Земли Тайны Океана Хитрости Карта раздела | |
| Использование материалов сайта разрешается при условии ссылки (для сайтов - гиперссылки) | |||
Навигация: => | На главную/ Каталог патентов/ В раздел каталога/ Назад / |
|
ИЗОБРЕТЕНИЕ
Патент Российской Федерации RU2184266
![]()
ПАРУСНАЯ ВЕТРЯНАЯ ГИРЛЯНДНО-ГОРИЗОНТАЛЬНАЯ ЭЛЕКТРОСТАНЦИЯ
Имя изобретателя: Гинкулов Георгий Владимирович
Имя патентообладателя: Гинкулов Георгий Владимирович
Адрес для переписки: 666534, Иркутская обл., Казачинско-Ленский р-н, пос. Улькан, ул. Спортивная, 6-10, Г.В.Гинкулову
Дата начала действия патента: 2000.07.12
Изобретение относится к области ветроэнергетики, а именно к парусным ветряным электростанциям. Технический результат, заключающийся в повышении мощности станции, уменьшении затрат на ее строительство и эксплуатацию и упрощении конструкции, достигается за счет того, что в парусной ветряной гирляндно-горизонтальной электростанции, содержащей четыре паруса на каждом из ветродвижителей, смонтированных на его валу, являющихся рабочими лопастями, причем движители сформированы в гирлянды, вращающие тихоходные электрогенераторы, согласно изобретению ветродвижители смонтированы на трубчатых опорных столбах, а горизонтальные прямолинейные гирлянды исходят веером от здания электростанции, причем каждая гирлянда содержит трубчатые валы, концы которых жестко связаны между собой зажимами, образуя общие силовые валы.
ОПИСАНИЕ ИЗОБРЕТЕНИЯ
Изобретение относится к области ветроэнергетики, а именно к парусным ветряным электростанциям.
Известна парусная ветряная гирляндно-горизонтальная электростанция, содержащая четыре паруса на каждом ветродвижителе, смонтированных на его валу, являющихся рабочими лопастями, причем движители сформированы в гирлянды, вращающие тихоходные электрогенераторы (см. RU 2115018 С1, кл. F 03 D 3/00, 10.07.1998), по совокупности существенных признаков принятая за ближайший аналог изобретения (прототип).
Для известной электростанции характерна небольшая единичная мощность установки, сложность конструкции и высокие затраты средств на ее эксплуатацию и монтаж.
Технический результат, заключающийся в повышении мощности станции, уменьшении затрат на ее строительство и эксплуатацию и упрощении конструкции, достигается за счет того, что в парусной ветряной гирляндно-горизонтальной электростанции, содержащей четыре паруса на каждом ветродвижителе, смонтированных на его валу, являющихся рабочими лопастями, причем движители сформированы в гирлянды, вращающие тихоходные электрогенераторы, согласно изобретению ветродвижители смонтированы на трубчатых опорных столбах, а горизонтальные прямолинейные гирлянды исходят веером от здания электростанции, причем каждая гирлянда содержит трубчатые валы, концы которых жестко связаны между собой зажимами, образуя общие силовые валы.
![]() | ![]() | ![]() | ![]() | |
![]() | ![]() | ![]() | ||
![]() | ![]() | На фиг.1 изображена парусная ветряная гирляндно-горизонтальная электростанция, вид
сверху; | ||
Парусная ветряная гирляндно-горизонтальная электростанция, содержит четыре паруса 1 на каждом ветродвижителе 2, смонтированных на его трубчатом валу 3, являющихся рабочими лопастями, причем движители 2 сформированы в горизонтально-прямолинейные гирлянды, вращающие тихоходные электрогенераторы 4, при этом ветродвижители 2 смонтированы на трубчатых опорных столбах 5, а горизонтальные прямолинейные гирлянды движителей 2 исходят веером от здания 6 электростанции, причем концы трубчатых валов 3 жестко связаны между собой зажимами 7, образуя общие силовые валы.
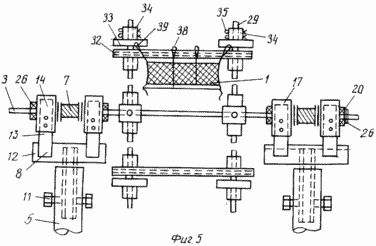
На каждый трубчатый опорный столб 5 сверху надеты опорные вилки 8, на которые монтируются ветродвижители 2.
Вилка 8 изготовлена из балок 9 и пластин 10. Двутавровая балка 9 имеет длину 50 см и в
смонтированном состоянии находится внутри столба 5. В нижней части балки 9
перпендикулярно к ее внутренним поверхностям приварены две толстые пластины-перемычки
10. Эти две пластины 10 и два стопорных винта 11 удерживают вилку 8 от выброса ее из столба 5
в случае сильного восходящего вихря. К балке 9 сверху приварена перпендикулярно
- образная балка 12 длиною 94 см. К наружным бортам балки 12 приварены две пары пластин 13
длиною 60 см и шириною 10 см, а расстояние между каждой парой пластин 13 должно быть 70 см. В
верхней части, между каждой парой пластин 13 монтируются по одному подшипнику 14, между
которыми и расстояние 70 см, так как пластины 13 параллельны между собой. Каждый
подшипник 14 - это
- образная балка 15 длиной 10 см (приваренная между пластинами 13) и вкладыш 16 в верхней
части этих пластин 13. Балка 12 и балка 15 имеют одинаковую форму профиля и его размеры, но
балка 12 имеет длину 94 см, а балка 15 имеет длину 10 см. В каждой балке 15 подогнан вкладыш 16,
верхние кромки которого упираются в крышку 17 подшипника 14, т.е. вкладыш 16 не приварен к
балке 15. На одном вкладыше 16 лежит вал 3 одного ветродвижителя 2, а на другом вкладыше 16
лежит вал 3 соседнего с ним ветродвижителя 2 и расстояние между концами этих двух валов
13 не превышает 20 см. Крышка 17, в которую упирается вкладыш 16, крепится к пластинам 13
двумя сквозными болтами 18. На концах валов 3 должны быть приварены четыре "шлицы" 19
- отрезки проволоки длиною ~4 см. На каждый
из двух валов 3 надо нанизать по равному набору шайб 20, приблизив их вплотную к
вкладышам 16, но так, чтобы расстояние между двумя наборами шайб 20 оказалось равным 60 см.
В промежуток между шайбами 20 надо на оба вала 3 наложить дюритовый шланг 21,
предварительно разрезанный пополам вдоль всей длины, равной 60 см, и обе половины шланга
21 сжать зажимом 7. Для удобства монтажа зажима 7 в полевых условиях надо все восемь гаек
22 приварить к деталям зажима 7, т.е. к полуцилиндру 23, а стяжку выполнять вращением
болтов 24 со стороны другой детали - толстой пластины 25 длиною 60 см и шириной, равной
ширине полуцилиндра 23 с его отбортовкой, в которой просверлены отверстия под болты 24.
Итак, вкладыши 16 с внутренней стороны опорной вилки 8 зажаты дюритовым шлангом 21, а с
наружной стороны опорной вилки 8 вкладыши 16 закрыты такими же шайбами 20 и зафиксированы
на валах 3 хомутиками 26. Но операцию с хомутиком 26 и шайбами 20 надо выполнять при монтаже
валов 3, т. е. тогда, когда они еще не лежат на вкладышах 16. Четыре паруса 1 монтируются на
валу 3 с помощью двух ступиц 27, приваренных к валу 3 на расстоянии 100 см от его концов.
Ступица 27 - это отрезок толстостенной трубы длиной 10 см с внутренним диаметром, равным
наружному диаметру вала 3. К каждой ступице 27 с помощью резьбового соединения крепятся
четыре накрест расположенных трубчатых переходника 28, в которые вставляются трубчатые
спицы 29, фиксируемые в переходнике 28 двумя толстыми шплинтами 30. Переходники 28 имеют
длину 15 см.
На концах вала 3 из этих спиц 29 образованы две крестовины 31. На концах всех восьми спиц 29 монтируются четыре легкие трубчатые перекладины 32 и восемь роликов 33.
Перекладины 32 параллельны между собой и параллельны валу 3. Каждая перекладина 32 и ролик 33, прижатые вместе на спице 29, фиксируются на ней с обоих сторон двумя трубчатыми муфтами 34, которые, в свою очередь, контрятся к спице 29 двумя толстыми шплинтами 35. В каждом ролике 33 просверлены по четыре отверстия большого диаметра 36, за которые привязываются к каждой крестовине 31 и все четыре ленторасчалки 37 и все четыре паруса 1. К каждому углу паруса 1 прочно пришиты угловые поводки 38 и 39. Нижняя часть паруса 1 имеет только угловые поводки 38, и привязываются они за ролики 33, причем поводки 38 не привязаны. "Рабочая" длина поводков 38 примерно равна длине спицы 29, а ширина паруса 1 при этом равна (3/4 спицы 29. При длине паруса 1, равной 12 м, а ширине 6 м, "рабочая" длина поводков 38 (которые идут позади по ходу вращения) и длина каждой спицы 29 будут по 8 м.
Если вал 3 изготавливать из металла, то необходимо предусмотреть его смазку (через подшипник 14), для этого в крышке 17 предусмотрена мини-масленка 40 с фетровым фитилем (не показан). Внутрь каждого опорного столба 5 устанавливают жердь (не показана), равную длине столба 5.
Это предохранит столб 5 от разрыва при замерзании в нем воды, накопившейся за лето и осень.
Принцип действия парусной ветряной гирляндно-горизонтальной электростанции
следующий:
При попадании потока воздуха на паруса 1, являющиеся рабочими лопастями
ветродвижителей 2, они приводятся во вращение, причем тот парус 1, который находится
вверху в данный момент времени (плоскость его полотна - перпендикулярна направлению
ветра), получает наибольший вращающий момент (поворачивается по часовой стрелке), при
этом три другие паруса 1 "готовятся" к рабочему ходу (плоскости их полотен
параллельны направлению ветра). Попеременное чередование "рабочего хода" всех
лопастей (парусов) 1 вызывает непрерывное вращение вала 3 и затем передается через общие
силовые валы тихоходным электрогенераторам 4, приводя их во вращение, с последующей
подачей электроэнергии потребителю.
Порядок монтажа гирлянды движителей
Начинать монтаж надо с установки столбов 5 от здания 6 электростанции. Ямки для опорных столбов 5 надо сверлить буровой машиной на таком расстоянии друг от друга, чтобы это расстояние точно равнялось длине трубчатого вала 3, положенного на землю между этими уже вкопанными двумя трубчатыми столбами 5, а не между их геометрическими осями. После установления первых двух столбов 5 надо смонтировать на них и опорную вилку 8, и трубчатый вал 3, и все спицы 29. Затем установить третий столб 5, смонтировать на нем и вилку 8, вал 3, спицы 29 и проверить в проеме опорной вилки 8 расстояние между концами каждого вала 3, (оно не должно превышать 20 см), иначе зажим 7 не даст надежного соединения между валами 3. Но сами зажимы 7 не монтировать на валы 3. После монтажа опорных вилок 8 валов 3 и спиц 29 на всех столбах 5 данной гирлянды можно начинать монтаж парусов 1, но предварительно надо обязательно затянуть хомутики 26 на всех валах 3. Этим самым мы зафиксируем валы 3 от продольного их смещения в подшипниках 14. Зажимы 7 монтируются только после монтажа всех парусов 1. Привязывать паруса 1 надо в безветренную погоду, но при этом надо на все время монтажа каждый вал 3, уже со смонтированными парусами 1, застопорить отрезком фала: один его конец привязать за основание столба 5, а другой - за одно из отверстий того ролика 33, который находится ближе к земле, а значит, и ближе к основанию столба 5. После монтажа всех парусов 1 провести монтаж зажимов 7. Монтаж всей гирлянды закончен. Пуск ее производится быстрым освобождением у всех фал концов, которые привязаны к роликам 33 и все ветродвижители 2 начнут вращаться, вращая тихоходный генератор 4, установленный в здании 6 электростанции.
ФОРМУЛА ИЗОБРЕТЕНИЯ
Парусная ветряная гирляндно-горизонтальная электростанция, содержащая четыре паруса на каждом ветродвижителе, смонтированных на его валу, являющихся рабочими лопастями, причем движители сформированы в гирлянды, вращающие тихоходные электрогенераторы, отличающаяся тем, что ветродвижители смонтированы на трубчатых опорных столбах, а горизонтальные прямолинейные гирлянды исходят веером от здания электростанции, причем каждая гирлянда содержит трубчатые валы, концы которых жестко связаны между собой зажимами, образуя общие силовые валы.
Версия для печати
Дата публикации 31.01.2007гг
Created/Updated: 25.05.2018
|









