| Начало раздела Производственные, любительские Радиолюбительские Авиамодельные, ракетомодельные Полезные, занимательные | Хитрости мастеру Электроника Физика Технологии Изобретения | Тайны космоса Тайны Земли Тайны Океана Хитрости Карта раздела | |
| Использование материалов сайта разрешается при условии ссылки (для сайтов - гиперссылки) | |||
Навигация: => | На главную/ Каталог патентов/ В раздел каталога/ Назад / |
|
ИЗОБРЕТЕНИЕ
Патент Российской Федерации RU2211950
![]()
БЕЗРЕДУКТОРНЫЙ ВЕТРОАГРЕГАТ
Имя изобретателя: Кирсанов Александр Викторович; Кирсанов Денис Александрович
Имя патентообладателя: Кирсанов Александр Викторович; Кирсанов Денис Александрович
Адрес для переписки: 432072, г.Ульяновск, пр-т Ульяновский, 18, кв.364, Э.В. Жданову
Дата начала действия патента: 2001.11.06
Изобретение относится к ветроэнергетике и может быть использовано в автомобиле-, самолето-, яхто-, вертолетостроении и других отраслях техники. Технический результат, заключающийся в усилении ветровых потоков за счет наличия обратно-возвратной системы воздушного потока ветра и обеспечении возможности работы агрегата при малой скорости ветра, достигается за счет того, что безредукторный ветроагрегат, содержащий магнитоэлектрический генератор с ротором и круговым статором и опору для крепления ветроагрегата, согласно изобретению содержит формирователь потока из четырех одинаковых обечаек, имеющих углубление на лицевой стороне каждой обечайки, сужающееся с наклоном к центру, и образующих замкнутый контур по периметру сопряженных боковых сторон, в левом верхнем и правом нижнем углах обечайки смонтированы каналы обратного возврата воздушного потока, изогнутые лопасти, на осевой прямой части которых закреплены катушки возбуждения, статор содержит не менее восьми диффузоров, не менее шестнадцати магнитных пластин, генератор установлен вертикально, выполнен составным, первая ступень - внутри сопряженных между собой четырех обечаек, вторая верхняя ступень - в полости между крышей ветроагрегата и верхней задней поверхностью обечаек, третья - в полости между опорой и нижней задней поверхностью обечаек, ветроагрегат имеет шестнадцать клапанов со створками и камерами, на каждой лицевой стороне обечаек по два одинаково расположенных клапана, первый - в нижнем левом углу напротив отверстия канала обратного возврата воздушного потока, второй - в верхнем правом углу канала, и имеются четыре клапана в полости между крышей ветроагрегата и верхней задней поверхностью обечаек, плавно сопряженные с внутренней полостью верхних каналов обратного возврата потока, между опорой и нижней задней поверхностью обечаек выполнены четыре клапана, сопряженные с внутренней полостью нижних каналов обратного возврата потока.
ОПИСАНИЕ ИЗОБРЕТЕНИЯ
Изобретение относится к энергетике и может найти применение в быту в обогревании и освещении квартир, автомобилестроении, самолетостроении, яхтостроении, транспорте, вертолетостроении и других отраслях техники.
Наиболее близким из аналогов уровня техники к заявляемому изобретению - прототипом может быть принято изобретение "Безредукторный ветроагрегат, содержащий магнитоэлектрический генератор с ротором и круговым статором и опору для крепления ветроагрегата" (SU 861715, кл. F 03 D 1/00, заявка 2762834/25-06 от 07.05.79 г. авторов Копылова И.П., Лядовой Т.В., заявитель Московский ордена Ленина энергетический институт, опубликованное 07.09.81 г. в Бюллетене 33).
Недостатком данного изобретения является необходимость большого ветра, не менее 5 м/сек, чтобы безредукторный ветроагрегат заработал, а и его меньшие эксплуатационные возможности по сравнению с заявляемым изобретением.
Технический результат заявляемого изобретения - возможность работы агрегата при малой скорости ветра V=1 м/сек, за счет собирания встречных потоков в одну точку в пучок в обечайках, и возможность усилить ветровые потоки путем наличия в безредукторном ветроагрегате обратно-возвратной системы воздушного потока ветра. Достигается тем, что по сравнению с изобретением, принятым за прототип "Безредукторным ветроагрегатом", содержащим магнитоэлектрический генератор с ротором и круговым статором и опору для крепления ветроагрегата, заявляемый безредукторный ветроагрегат содержит формирователь потока, выполненный в виде четырех одинаковых обечаек, имеющих на лицевой стороне каждой обечайки углубление, сужающееся с наклоном к центру, и образующих замкнутый контур по периметру сопряженных между собой боковых сторон. При этом в левом верхнем и правом нижнем углах на лицевой стороне каждой обечайки смонтированы одинаково расположенные каналы обратного возврата воздушного потока, причем на валу упомянутого ротора выполнены изогнутые лопасти, по крайней мере не менее шести, на осевой прямой части которых закреплены катушки возбуждения, а упомянутый круговой статор содержит, по крайней мере не менее восьми диффузоров, не менее шестнадцати магнитных пластин, закрепленных по две в каждом диффузоре, при этом упомянутый магнитоэлектрический генератор установлен вертикально и выполнен составным из отдельных, последовательно установленных ступеней, по крайней мере не менее трех, включающих ступени ротора и облегчающих их ступени статора, причем первая - средняя ступень магнитоэлектрического генератора расположена внутри упомянутых, сопряженных между собой четырех обечаек, вторая верхняя ступень расположена в полости между крышей ветроагрегата и верхней задней поверхностью обечаек, а третья нижняя ступень расположена в полости между опорой и нижней задней поверхностью обечаек, ветроагрегат имеет, по меньшей мере шестнадцать клапанов, содержащих створки и камеры, при этом на каждой лицевой стороне всех четырех обечаек выполнены по два одинаково расположенных клапана, один из которых расположен в нижнем левом углу лицевой стороны обечаек, напротив отверстия упомянутого канала обратного возврата воздушного потока, смонтированного в верхнем левом углу лицевой стороны обечаек, а второй клапан расположен в верхнем правом углу, напротив отверстия канала обратного возврата воздушного потока, смонтированного в нижнем правом углу лицевой стороны обечаек, при этом в полости между крышей ветроагрегата и верхней задней поверхностью обечаек выполнены четыре клапана, плавно сопряженных с внутренней полостью верхних каналов обратного возврата воздушного потока, а в полости между опорой и нижней задней поверхностью обечаек выполнены четыре клапана, плавно сопряженных с внутренней полостью нижних каналов обратного воздушного потока.
На чертежах изображены:
![]() | ![]() | |||||||
![]() | ![]() | ![]() | ||||||
![]() | ![]() | |||||||
| ||||||||
Сведения, подтверждающие возможность осуществления изобретения
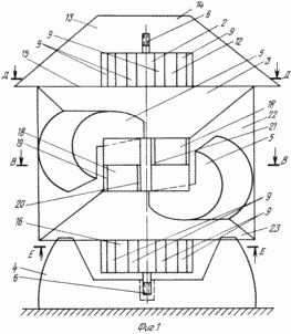
Безредукторный ветроагрегат содержит вертикально установленный
магнитоэлектрический генератор с ротором 1 (фиг.2, 3, 6) и круговым статором 2 (фиг.1, 2, 3, 6, 7),
и формирователь потока, выполненный в виде четырех одинаковых сопряженных между собой
обечаек 3 (фиг.1-6), имеющих на лицевой стороне углубление, сужающееся с наклоном к центру
и выполненных с возможностью концентрации воздушного потока, попавшего на переднюю
лицевую сторону обечаек 3 (фиг. 1-6) в пучок. При этом обечайки 3 (фиг.1-6) образуют замкнутый
контур по периметру, сопряженных между собой боковых сторон. Обечайки 3 (фиг.1-6)
закреплены снизу на опоре 4 (фиг.1). В левом верхнем и правом нижнем углах на лицевой
стороне каждой обечайки 3 (фиг.1), имеющей углубление с наклоном к центру, смонтированы
одинаково расположенные каналы 5 (фиг.1, 4, 5) обратного возврата воздушного потока. Ротор
1 (фиг.1, 3, 6) состоит из вала 6 (фиг. 1, 2, 3, 6, 7), на котором в зависимости от размеров диаметра
закреплено от шести до энного количества изогнутых под углом лопастей 7 (фиг. 2, 3, 6). При
этом на осевой прямой части каждой лопасти 7 (фиг.2, 3, 6) закреплена катушка возбуждения 8 (фиг.2,
3, 6). А каждая изогнутая часть лопасти 7 (фиг.2, 3, 6) выполнена к осевой части лопасти 7 (фиг.2,
3, 6) под углом. Круговой статор 2 (фиг.1, 2, 3, 6, 7) содержит по крайней мере не менее восьми
диффузоров 9 (фиг.1, 2, 3, 6, 7), расположенных по кругу и служащих для прохождения воздушных
потоков. Причем, чем больше размеры кругового статора 2 (фиг. 1, 2, 3, 6, 7,) тем большее
количество диффузоров 9 (фиг. 1, 2, 3, 6, 7) содержит по крайней мере не менее шестнадцати
магнитных пластин 10 (фиг.2, 3, 6), закрепленных по две в каждом диффузоре 9 (фиг.1, 2, 3, 6, 7).
Магнитоэлектрический генератор выполнен составным из отдельных, последовательно
установленных ступеней, по крайней мере не менее трех, включающих ступеней 11 (фиг.7)
ротора 1 (фиг.2, 3, 6) и облегчающих их ступени статора 2 (фиг.2, 3, 6, 7), с возможностью
составления ступеней магнитоэлектрического генератора в вертикальной плоскости, по
меньшей мере от трех до энного количества. Ступени магнитоэлектрического генератора
выполнены с возможностью устанавливаться в вертикальной плоскости, как в виде
отдельных самостоятельных ступеней, так и в виде закрепленных между собой посредством
шпонок (на чертеже не показаны). Увеличение или уменьшение количества ступеней 11 (фиг.7)
в магнитоэлектрическом генераторе соответственно увеличивает или уменьшает скорость
оборотов ротора 1 (фиг.2, 3, 6), его электродвижущую силу и изменяет мощность
магнитоэлектрического генератора. При трехступенчатом магнитоэлектрическом
генераторе первая - средняя ступень 11 (фиг. 7) расположена внутри четырех сопряженных
между собой обечаек 3 (фиг. 1), имеющих углубление наклоном к центру, на одну из которых, в
зависимости от направления ветра, попадает воздушный поток. Вторая - верхняя ступень 12 (фиг.1,
7) расположена в полости 13 (фиг.1) между крышей 14 (фиг. 1) ветроагрегата и верхней задней
поверхностью 15 (фиг.1, 2) обечаек 3 (фиг. 1, 2). Третья - нижняя ступень 15 (фиг.1, 7) расположена в
полости 17 между опорой 4 (фиг.1) и нижней задней поверхностью 17 (фиг.6) обечаек 3 (фиг.6).
Ветроагрегат имеет по меньшей мере шестнадцать клапанов, содержащих створки 18 (фиг.1-6)
клапанов и камеры 19 (фиг.1-6).
Для собирания ветра в пучок на каждой лицевой передней стороне всех четырех обечаек 3 (фиг.1-6) средней ступени 11 (фиг.1) выполнено по два одинаково расположенных клапана. Один клапан 20 (фиг.1) расположен в нижнем левом углу лицевой передней стороны обечаек 3 (фиг.1), напротив отверстия канала 5 (фиг. 1) обратного возврата воздушного потока, смонтированного в верхнем левом углу лицевой передней стороны обечаек 3 (фиг.1), а второй клапан 21 (фиг. 1) расположен в верхнем правом углу лицевой передней стороны обечаек 3 (фиг.3), напротив отверстия канала 5 (фиг.1) обратного воздушного потока, смонтированного в нижнем правом углу лицевой передней стороны обечаек 3 (фиг.1).
В полости 13 (фиг.1) второй верхней ступени 12 (фиг.1) магнитоэлектрического генератора между крышей 14 (фиг.1) ветроагрегата и верхней задней поверхностью 15 (фиг.2) обечаек 13 (фиг.2) выполнены четыре клапана 22 (фиг. 2), плавно сопряженных с внутренней полостью верхних каналов 5 (фиг.1) обратного возврата воздушного потока. В полости третьей ступени 16 (фиг.1, 7) магнитоэлектрического генератора, между опорой 4 (фиг.1) и нижней задней поверхностью 17 (фиг.6) обечаек 3 (фиг.1-6) выполнено четыре клапана 23 (фиг. 6), плавно сопряженных с внутренней полостью нижних каналов 5 (фиг.1) обратного возврата воздушного потока ветра.
Ветроагрегат выполнен таким образом, чтобы воздушный поток ветра в каждой ступени возвращался в первоначальное положение и тем самым увеличивал коэффициент полезного действия безредукторного ветроагрегата при малом ветре. Ветроагрегат работает следующим образом.
Воздушный поток, в зависимости от направления ветра, попадает на одну из четырех обечаек 3, давит на створки 18 клапанов 20, 21 в первой средней ступени 11 магнитоэлектрического генератора и попадает в средние клапана камеры 19, собираясь в пучок, где находятся диффузоры 9 статора 2 первой ступени 11 магнитоэлектрического генератора. Затем собранный в пучок воздушный поток попадает на лопасти 6 ротора 1 первой средней ступени 11 и приводит ее во вращение. При этом створки клапанов 20, 21 первой ступени 11 магнитоэлектрического генератора открыты и открыты каналы 5 обратного воздушного потока первой ступени 11. Остальные створки 18 камеры 19 и каналы 5 обратного возврата воздушного потока первой средней ступени 11 закрыты. Воздушный поток, надавив на ротор 1 первой ступени 11 магнитоэлектрического генератора попадает в диффузоры 9 статора 2 нижней ступени 16 и верхней 12 и затем попадает на лопасти 6 ротора 1 нижней 16 и верхней 12 ступеней магнитоэлектрического генератора и приводит во вращение ротор 1 нижней верхней 12 ступеней. Одновременно воздушный поток, открывая правую верхнюю створку 18 и левую нижнюю створку 18 первой ступени 11, через камеры 19 соответственно попадает на нижние и верхние каналы 5 обратного воздушного потока и усиливает давление на лопасти 6 ротора 1, увеличивая число оборотов и позволяет осуществлять работу ветроагрегата при скорости ветра V=1 м/сек, за счет того, что потоки встречного ветра собираются в пучок в обечайках 3 и обратно-возвратной системе каналов 5 обратного возврата воздушного потока возвращаются в первоначальное направление. Увеличивая размеры и число ступеней магнитоэлектрического генератора, ветроагрегат позволяет достичь желаемой мощности. При вращении ротора 6, катушки возбуждения 8 на лопасти 7 взаимодействуют с магнитными пластинами 10 статора 2 вырабатывают ток и это дает безредукторный ветродвигатель, то есть магнитоэлектрический генератор с ротором 1 и статором.
ФОРМУЛА ИЗОБРЕТЕНИЯ
Безредукторный ветроагрегат, содержащий магнитоэлектрический генератор с ротором и круговым статором и опору для крепления ветроагрегата, отличающийся тем, что ветроагрегат содержит формирователь потока, выполненный в виде четырех одинаковых обечаек, имеющих на лицевой стороне каждой обечайки углубление, сужающееся с наклоном к центру, и образующих замкнутый контур по периметру сопряженных между собой боковых сторон, при этом в левом верхнем и правом нижнем углах на лицевой стороне каждой обечайки смонтированы одинаково расположенные каналы обратного возврата воздушного потока, причем на валу упомянутого ротора выполнены изогнутые лопасти по крайней мере не менее шести, на осевой прямой части которых закреплены катушки возбуждения, а упомянутый круговой статор содержит по крайней мере не менее восьми диффузоров, не менее шестнадцати магнитных пластин, закрепленных по две в каждом диффузоре, при этом упомянутый магнитоэлектрический генератор установлен вертикально и выполнен составным из отдельных, последовательно установленных ступеней, по крайней мере не менее трех, включающих ступени ротора и облегчающих их ступени статора, причем первая - средняя ступень магнитоэлектрического генератора расположена внутри упомянутых сопряженных между собой четырех обечаек, вторая верхняя ступень расположена в полости между крышей ветроагрегата и верхней задней поверхностью обечаек, третья - нижняя ступень расположена в полости между опорой и нижней задней поверхностью обечаек, ветроагрегат имеет, по меньшей мере, шестнадцать клапанов, содержащих створки и камеры, при этом на каждой лицевой стороне всех четырех обечаек выполнены по два одинаково расположенных клапана, один из которых расположен в нижнем левом углу лицевой стороны обечаек, напротив отверстия упомянутого канала обратного возврата воздушного потока, смонтированного в верхнем левом углу лицевой стороны обечаек, а второй клапан расположен в верхнем правом углу, напротив отверстия канала обратного возврата воздушного потока, смонтированного в нижнем правом углу лицевой стороны обечаек, при этом в полости второй верхней ступени магнитоэлектрического генератора между крышей ветроагрегата и верхней задней поверхностью обечаек выполнены четыре клапана, плавно сопряженные с внутренней полостью верхних каналов обратного возврата воздушного потока, а в полости третьей ступени магнитоэлектрического генератора между опорой и нижней задней поверхностью обечаек выполнены четыре клапана, плавно сопряженные с внутренней полостью нижних каналов обратного возврата воздушного потока.
Версия для печати
Дата публикации 02.02.2007гг
Created/Updated: 25.05.2018
|










