| Начало раздела Производственные, любительские Радиолюбительские Авиамодельные, ракетомодельные Полезные, занимательные | Хитрости мастеру Электроника Физика Технологии Изобретения | Тайны космоса Тайны Земли Тайны Океана Хитрости Карта раздела | |
| Использование материалов сайта разрешается при условии ссылки (для сайтов - гиперссылки) | |||
Навигация: => | На главную/ Каталог патентов/ В раздел каталога/ Назад / |
|
ИЗОБРЕТЕНИЕ
Патент Российской Федерации RU2242635
![]()
ВЕТРОУСТАНОВКА
Имя изобретателя: Антонов Е.Г. (RU); Баклунов А.М. (RU); Бритвин Л.Н. (RU); Бритвин Э.Н. (RU); Москаленко Д.С. (RU); Щепочкин А.В.
Имя патентообладателя: Общество с ограниченной ответственностью "Научно-производственная фирма "ТГМ"
Адрес для переписки: 111673, Москва, а/я № 60, ООО "НПФ "ТГМ"
Дата начала действия патента: 2002.12.05
Изобретение относится к области ветроэнергетики, а именно к ветроустановкам, преобразующим энергию воздушного потока в механическую энергию, подводимую к электрогенератору. Технический результат заключается в повышении кпд (коэффициента полезного действия), установки и упрощении ее конструкции. Ветроустановка вихревого типа содержит башню, воздухозаборник, воздухоотвод и вращательный рабочий орган, сообщенный с электрогенератором. При этом башня выполнена ориентируемой по направлению ветра, рабочий орган выполнен в виде параллельно установленных цилиндрических роторов так, что плоскость, проходящая через оси их вращения, расположена параллельно плоскости входного сечения воздухозаборника тангенциального типа, выполненного в виде двух симметрично расположенных каналов, переходящих в спиральные воздухоподводы, а воздухоотвод башни сообщен с внутренней полостью обоих роторов и выполнен выходящим наружу на тыльную сторону башни в зону пониженного давления воздуха через воздухоотводные каналы.
ОПИСАНИЕ ИЗОБРЕТЕНИЯ
Предложенное техническое решение относится к ветроэнергетике, а точнее к ветроустановкам для преобразования энергии воздушного потока в механическую энергию, подводимую, например, к электрогенератору.
Известны лопастные ветроустановки, в которых трех - или более лопастной горизонтальный ротор расположен на высокой опоре с возможностью самоустановки (поворота) по ветру и кинематическим валом связан с электрогенератором [1] - аналог.
Установки этого типа нашли широкое применение в районах с достаточно высокой скоростью ветра и успешно работают при скоростях ветра 8 м/с и более.
При низких скоростях ветра, например, 3-4 м/с указанные установки практически неэффективны, хотя потребность в ветроустановках, успешно работающих при малых скоростях, особенно актуальна для континентальных участков суши, где такие скорости ветра являются преобладающими.
Более эффективны на малых скоростях ветроустановки вихревого типа, содержащие башню с воздухозаборником, воздухоотводом и вращательным рабочим органом, расположенным в канале движения воздуха через башню и сообщенным с потребителем механической энергии, например, электрогенератором [2] - прототип.
Прототип имеет сложную конструкцию, обладает большим сопротивлением натекающему потоку воздуха при малой рабочей поверхности воздухозаборника по отношению к общей поверхности башни, что в целом не обеспечивает достаточной эффективности преобразования энергии ветрового потока, натекающего на башню, в механическую энергию, передаваемую потребителю. Это приводит к увеличению общих габаритов башни, возникновению трудно воспринимаемого опорами опрокидывающего момента, существенному утяжелению всей конструкции и в целом - к существенному недоиспользованию энергии воздушного потока, натекающего на башню. На прохождение воздушного потока по вертикальной оси башни тратится дополнительная энергия как за счет большой поверхности трения внутренних протяженных по оси башни рабочих каналов, так и за счет гидродинамического несовершенства вращательного рабочего органа. В результате подводимая к рабочему органу энергия существенно меньше энергии воздушного потока, натекающего на башню.
В описываемом техническом решении указанные недостатки устраняются за счет того, что: башня выполнена ориентируемой по направлению ветра, рабочий орган выполнен в виде параллельно установленных цилиндрических взаимодействующих между собой роторов так, что плоскость, проходящая через оси их вращения, расположена параллельно плоскости входного сечения воздухозаборника тангенциального типа, выполненного в виде двух симметрично расположенных каналов, переходящих в спиральные расположенные по периферии роторов воздухоподводы с противоположной друг другу закруткой ветрового потока, а воздухоотвод башни сообщен с внутренней полостью обоих роторов и выполнен выходящим наружу на тыльную по отношению к воздухозаборнику сторону башни в зону пониженного давления воздуха через воздухоотводные каналы; воздухоотводной канал связи внутренней полости ротора с воздухоотводом выполнен в виде каналов округлого сечения с плавным увеличением площади этого сечения в направлении выходного сечения воздухоотвода; в воздухоотводном канале связи внутренней полости каждого ротора с воздухоотводом расположена дополнительная по меньшей мере одна лопастная система; ротор и дополнительная лопастная система выполнены как единый рабочий орган с общим валом; воздухоотвод гидравлически сообщен с внутренней полостью роторов через воздухоотводные каналы, расположенные в торцевых частях роторов; воздухоотвод гидравлически сообщен с внутренней полостью каждого ротора через воздухоотводные каналы, расположенные в центральной средней части роторов; воздухозаборник снабжен оппозитно расположенными поворотными воздухозаборными пластинами, оси поворота которых закреплены на корпусе башни и установлены компланарно осям вращения роторов и симметрично им; оси вращения роторов расположены компланарно оси поворота башни; оси вращения роторов расположены горизонтально, а ось поворота башни вертикально; валы роторов кинематически связаны друг с другом и по меньшей мере с одним электрогенератором; вал каждого ротора сообщен с автономным генератором, а все электрогенераторы электрически связаны с потребителем электроэнергии через поворотный коллектор, установленный на оси поворота башни; башня выполнена в виде отдельных по высоте секций с возможностью их установки друг на друга; башня установлена на поворотной платформе и снабжена реверсивным приводом установки ее по ветру; башня установлена на поворотной оси и снабжена жестко связанным с ней выносным взаимодействующим с ветровым потоком килем приведения башни по ветру; на выходе воздухоотвода установлены дополнительные отклоняющие поток от башни обтекатели.
На фиг.1-5 даны примеры реализации предложенного технического решения ветроустановки.
![]() | ![]() |
![]() | ![]() |
![]() | Ветроустановка по фиг.1, 2 состоит из поворотной по направлению ветра башни 1, расположенной, например, на опорной плите 2 крыши здания с возможностью ее поворота реверсивным приводом приведения по ветру, состоящим из мотор-редуктора 3, реверсируемого по датчику направления ветра, выполненного, например, по типу флюгера в виде поворотной пластины 4, см. фиг.2, взаимодействующей при отклонении ветра от оси воздухозаборника тангенциального типа 5 с конечными выключателями 6 и 7, связанными с реверсивным пускателем мотор-редуктора 3. |
В канале связи воздухозаборника 5, переходящего в спиральные, расположенные по периферии роторов 9, воздухоподводы 14, с воздухоотводом 8 установлен вращательный рабочий орган, выполненный в виде параллельно установленных в непосредственной близости друг от друга и взаимодействующих между собой вращательных рабочих органов - цилиндрических роторов 9, кинематически связанных с валом электрогенератора 10 механическими передачами 11. Ротора могут быть снабжены автономными электрогенераторами. При установке электрогенераторов 10 непосредственно во вращающейся башне 1 их электрическая связь с внешней электросистемой может осуществляться любым известным способом, например, посредством электроколлектора 20, корпус которого закреплен на основании, а его поворотный элемент установлен по оси поворота башни. Роторы 9 снабженны установленными по периферии лопатками 12, образующими кольцевую лопастную систему по всей поверхности ротора. Роторы 9 установлены так, что плоскость, проходящая через оси 13 их вращения, расположена параллельно плоскости входного сечения воздухозаборника 5, который в свою очередь выполнен в виде двух симметрично расположенных тангенциальных каналов, прилегающих к периферийной поверхности башни 1, плавно переходящих в спиральные расположенные по периферии роторов воздуховоды 14 с противоположной друг другу закрутой ветрового потока.
Воздухоотвод 8 сообщен с внутренней полостью обоих роторов 9 через отводные каналы 15, выполненные округлого сечения с площадью плавно увеличивающейся к выходному сечения воздухоотвода 8.
В варианте по фиг.1 связь роторов по ветровому потоку осуществлена через торцы роторов 9. Воздухоотвод 8 выполнен выходящим наружу на тыльную по отношению к воздухозаборнику 5 сторону башни 1 в зону пониженного давления воздуха, которая образуется при обтекании башни ветровым потоком. Для обеспечения отрывного потока за башней и расширения тем самым зоны вакуума за башней, т.е. для увеличения вакуума на выходе воздухоотвода 8 он может быть снабжен дополнительными отклоняющими поток от башни 1 обтекателями 16, преимущественно обеспечивающими закрутку обтекающего башню потока в направлении циркуляции потока, выходящего из воздухоотвода 8.
В вариантах исполнения воздухозаборник 5 может быть снабжен оппозитно расположенными воздухозаборными пластинами 17, которые могут быть связаны механизмом их синхронизации и углового перемещения (на чертеже на показан) при регулировании положения пластин и изменения проходного входного сечения воздухозаборника 5.
Управление величиной живого сечения воздухозаборника 5, с целью изменения подводимой к роторам 9 ветровой энергии, может быть необходимо при существенном изменении погодных условий и скорости ветра, что может осуществляться вручную через указанный механизм синхронизации пластин 17 или автоматически.
Оси 18 поворота пластин 17 закреплены на корпусе башни 1 и установлены компланарно осям вращения роторов 9 и симметрично им.
В варианте исполнения по фиг.3 воздухоотвод 8 сообщен с внутренним пространством роторов 9 посредством воздухоотводных каналов 15, выполненных в центральной средней части роторов 9 для чего каждый ротор выполнен в виде двух установленных со смещением друг от друга секций, расположенных на общей оси 13.
При этом для сокращения высоты башни кинематическая связь роторов между собой и электрогенератором может быть выполнена через среднюю часть роторов посредством механической передачи 19, а сам электрогенератор 10 может быть установлен в кожухе обтекателя 21 (см. фиг.2), располагаемом в средней части воздухозаборника 5. Электрогенератор 10 может быть и установлен в полости опорной плиты 2 башни 1, где может и располагаться механическая передача 11 (см. фиг.4) для синхронизации роторов 9 с элекрогенераторами 10.
Для повышения КПД установки особенно при малых скоростях воздушного потока внутренняя полость каждого ротора может быть сообщена с воздухоотводом 8 через установленные в воздухоотводных каналах 15 дополнительные лопастные рабочие колеса 22, механически или электрически связанные с потребителем энергии. Рабочее дополнительное колесо аналогичным образом может быть и установлено и непосредственно в выходном сечении воздухоотвода 8, см. варианты выполнения по фиг.1 и 4.
Рационально для упрощения конструкции ветроустановки ротора 9 и дополнительные рабочие колеса 22 выполнить как единый рабочий орган, имеющий общий для него вал 13, см. фиг.4. Здесь дополнительные лопастные колеса 22 установлены с периферийных торцев роторов 9 и выходят в соответствующие воздухоотводные каналы, образующие на своем выходе общий для них выходной канал воздухоотвода 8, в выходном сечении которого и установлено дополнительное лопастное колесо 23. При этом вытекающий из роторов поток поступит на выход воздухоотвода 8 через указанные дополнительные лопастные рабочие колеса 22 и 23, что в целом существенно увеличит энергию, передаваемую электрогенераторам от проходящего через башню воздушного потока, особенно при малых скоростях ветра в 2-4 м/с.
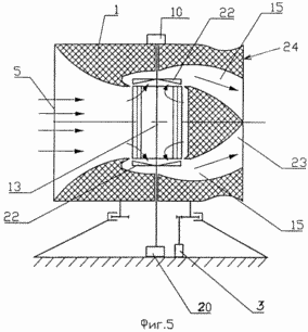
На фиг.5 показан вариант поворота башни 1 посредством вынесенного по потоку воздуха с тыльной стороны башни 1 специального киля 24, что при выполнении ветростанции на малые мощности позволяет обойтись без специального приводного механизма, показанного в вариантах исполнения по фиг.1,3,4. Здесь дополнительные лопастные колеса 22 установлены с торцев роторов 9 непосредственно на входе каналов 15 и механически не связаны с роторами. Лопастные колеса 22 автономно приводят дополнительные электрогенераторы 10.
Возможны варианты исполнения ветроустановки когда оси 13 вращения роторов 9 расположены горизонтально, а ось поворота башни - вертикально.
РАБОТАЕТ УСТАНОВКА СЛЕДУЮЩИМ ОБРАЗОМ
При возникновении ветра башня 1 устанавливается посредством привода 3 или киля 24 по ветру и воздушный поток поступает во входное сечение тангенциального воздухозаборника 5 и далее поступает в спиральные воздухоподводы 14, по всей периферийной поверхности облегающие основную лопастную систему роторов 9, и затем, взаимодействуя с лопатками 12, перетекает по ним во внутренние полости роторов, передавая свою энергии роторам. Далее воздушный поток перетекает по воздухоотводным канала 15 к воздухоотводу 8 и вытекает наружу с тыльной стороны башни 1, в зону пониженного давления, которая там имеет место за счет организованного посредством обтекателей 16 отрывного обтекания тела башни. При этом ветровой поток оказывает прямое воздействие на лопастную систему рабочего органа. Это воздействие усиливается за счет организованного геометрией башни существенного перепада давления между входным сечением воздухозаборника 5 и выходным сечением воздухоотвода 8, что приводит к повышению скорости вращения роторов и увеличению их энергоотдачи.
При протекании воздушного потока через башню за счет тангенциального подвода и вихревого движения воздуха вокруг роторов и в воздухоотводных округлых по сечению каналах обеспечивается как наименьшее сопротивлению протекающему через башню ветровому потоку (что увеличивает массу проходящего через башню воздуха за счет минимизации потерь на трение о стенки и подвода по центру вихревого потока низкого давления с тыльной стороны башни непосредственно во внутренние полости роторов), так и обеспечивается наиболее полное взаимодействие воздуха с лопастной системой роторов, имеющей наиболее простую (плоскую) и эффективную конфигурацию лопаток. Снижению потерь энергии и способствует взаимное расположение роторов в их непосредственной близости друг от друга, поскольку на участке их взаимодействия отсутствует какая-либо поверхность, приводящая к торможению ветрового потока, а и и дополнительная закрутка, как выходящего из воздухоотвода, так и обтекающего башню потоков.
Дополнительное взаимодействие ветрового потока с рабочим органом осуществляется за счет использования дополнительных лопастных колес 22, что особенно важно при низких скоростях ветра. При этом и существенно повышается эффективность ветроустановки в диапазоне изменения скоростей ветра от самых низких до средних.
При заданной геометрии ветроустановки входное сечение воздухозаборника равно поперечному сечению башни или даже превышает его, что позволяет существенно повысить поступающую на роторы ветровую энергию на 1 м2 поперечного сечения башни, которая при этом принимает минимально возможные габариты и имеет форму наиболее удобную для монтажа ветроустановок на крышах зданий.
Имеющая место в предложенной ветроустановке организация протекающего через башню потока в виде вихревого потока способствует более полному “вхождению” натекающего потока непосредственно на рабочие органы и снижению доли подходящего к башне потока, обтекающего башню без прохождения через рабочие органы.
Этот эффект способствует эффективной работе установки в широком диапазоне скоростей ветра и приводит к повышению общего количества вырабатываемой электроэнергии на 1 м2поперечного сечения ветроустановки.
ИСТОЧНИКИ ИНФОРМАЦИИ
1. Ветроустановка ВВЭУ-0,5 – аналог.
2. Патент RU 2024781 C1, F 03 D 9/00, от 15.12.1994 г. - прототип.
ФОРМУЛА ИЗОБРЕТЕНИЯ
1. Ветроустановка вихревого типа, содержащая башню с воздухозаборником, воздухоотводом и вращательным рабочим органом, расположенным в канале движения воздуха через башню и сообщенным с потребителем механической энергии, например электрогенератором, отличающаяся тем, что башня выполнена ориентируемой по направлению ветра, рабочий орган выполнен в виде параллельно установленных цилиндрических взаимодействующих между собой роторов так, что плоскость, проходящая через оси их вращения, расположена параллельно плоскости входного сечения воздухозаборника тангенциального типа, выполненного в виде двух симметрично расположенных каналов, переходящих в спиральные расположенные по периферии роторов воздухоподводы с противоположной друг другу закруткой ветрового потока, а воздухоотвод башни сообщен с внутренней полостью обоих роторов и выполнен выходящим наружу на тыльную по отношению к воздухозаборнику сторону башни в зону пониженного давления воздуха через воздухоотводные каналы.
2. Ветроустановка по п.1, отличающаяся тем, что воздухоотводные каналы связи внутренних полостей роторов с воздухоотводом выполнены в виде округлых по сечению каналов с плавным увеличением площади их сечений в направлении выходного сечения воздухоотвода.
3. Ветроустановка по п.2, отличающаяся тем, что в по меньшей мере одном воздухоотводном канале установлено дополнительное лопастное рабочее колесо.
4. Ветроустановка по любому из пп.1 и 2, отличающаяся тем, что ротор и по меньшей мере одно дополнительное лопастное колесо выполнены как единый рабочий орган с общим валом.
5. Ветроустановка по любому из пп.1-4, отличающаяся тем, что воздухоотводные каналы расположены со стороны торцевых частей роторов.
6. Ветроустановка по любому из пп.1-4, отличающаяся тем, что воздухоотводные каналы расположены в центральной средней части роторов.
7. Ветроустановка по любому из пп.1-6, отличающаяся тем, что воздухозаборник снабжен оппозитно расположенными поворотными воздухозаборными пластинами, оси поворота которых закреплены на корпусе башни и установлены компланарно осям вращения роторов и симметрично им.
8. Ветроустановка по любому из пп.1-7, отличающаяся тем, что оси вращения роторов расположены компланарно оси поворота башни.
9. Ветроустановка по любому из пп.1-7, отличающаяся тем, что оси вращения роторов расположены горизонтально, а ось поворота башни вертикально.
10. Ветроустановка по любому из пп.1-9, отличающаяся тем, что башня выполнена в виде отдельных по высоте секций с возможностью их установки друг на друга.
11. Ветроустановка по любому из пп.1-10, отличающаяся тем, что валы роторов кинематически связаны друг с другом и с по меньшей мере одним электрогенератором.
12. Ветроустановка по любому из пп.1-10, отличающаяся тем, что вал каждого ротора автономно связан с электрогенератором, а все электрогенераторы электрически сообщены с потребителем электроэнергии через установленный по оси поворота башни поворотный коллектор.
13. Ветроустановка по любому из пп.1-12, отличающаяся тем, что башня установлена на поворотной платформе и снабжена реверсивным приводом установки ее по ветру.
14. Ветроустановка по любому из пп.1-12, отличающаяся тем, что башня установлена на поворотной оси и снабжена жестко связанным с ней килем приведения башни по ветру.
15. Ветроустановка по любому из пп.1-14, отличающаяся тем, что на выходе воздухоотвода установлены дополнительные отклоняющие поток от башни обтекатели.
Версия для печати
Дата публикации 02.02.2007гг
Created/Updated: 25.05.2018
|





