| Начало раздела Производственные, любительские Радиолюбительские Авиамодельные, ракетомодельные Полезные, занимательные | Хитрости мастеру Электроника Физика Технологии Изобретения | Тайны космоса Тайны Земли Тайны Океана Хитрости Карта раздела | |
| Использование материалов сайта разрешается при условии ссылки (для сайтов - гиперссылки) | |||
Навигация: => | На главную/ Каталог патентов/ В раздел каталога/ Назад / |
|
ИЗОБРЕТЕНИЕ
Патент Российской Федерации RU2239091
![]()
ВЕТРЯНАЯ ГИРЛЯНДНО-ГОРИЗОНТАЛЬНАЯ ФЛАЖКОВО-ПРОПЕЛЛЕРНАЯ
РОТОРНАЯ ЭЛЕКТРОСТАНЦИЯ
Имя изобретателя: Гинкулов Георгий Владимирович
Имя патентообладателя: Гинкулов Георгий Владимирович
Адрес для переписки: 666534, Иркутская обл., Казачинско-Ленский р-н, пос. Улькан, ул. Спортивная, 6-10, Г.В. Гинкулову
Дата начала действия патента: 2003.04.02
Изобретение относится к ветроэнергетике, а именно к роторным электростанциям. Технический результат заключается в повышении мощности и КПД электростанции, а и в упрощении конструкции электростанции. Ветряная гирляндно-горизонтальная роторная электростанция содержит ветродвижители, трубчатые опорные столбы, объединенные в гирлянды, электрогенератор. Опорные столбы выполнены металлическими, два роторных вала ветродвижителей соединены отрезком стального троса, электростанция содержит флажки из древка, тканевые полотнища, ограничители из упругого полотна, два соседних флажка, расположенных по разные стороны вала, образуют воздушный винт, а гирлянды ветродвижителей устанавливают либо параллельно друг другу, либо под углом друг к другу.
ОПИСАНИЕ ИЗОБРЕТЕНИЯ
Изобретение относится к ветроэнергетике, а именно к роторным электростанциям.
Известна ветряная гирляндно-горизонтальная роторная электростанция, содержащая ветродвижители, смонтированные на трубчатых опорных столбах, объединенных в несколько прямолинейно-горизонтальных гирлянд, каждая вращает только один электрогенератор (см., например, RU 2182257 С2, кл. F 03 D 3/00, 10.05.2002), по совокупности существенных признаков принятая за ближайший аналог изобретения (прототип).
К недостаткам известного устройства относятся громоздкость конструкции и ее высокая стоимость, а и низкая надежность.
Технический результат, заключающийся в повышении мощности и КПД электростанции, а и в упрощении конструкции электростанции, обеспечивается за счет того, что в ветряной гирляндно-горизонтальной роторной электростанции, содержащей ветродвижители, смонтированные на трубчатых опорных столбах, объединенных в несколько прямолинейно-горизонтальных гирлянд, каждая вращает только один электрогенератор, согласно изобретению опорные столбы выполнены металлическими, два роторных вала ветродвижителей соединены между собой отрезком стального троса, зажатого винтами к внутренним поверхностям этих двух валов, а перпендикулярно к поверхностям прикреплены флажки, каждый из которых состоит из одного древка, на котором болтиками закреплены два тканевых полотнища под углом 90º друг к другу и ограничителей, изготовленных из упругого полотна, поддерживающих полотнища под углом 90º друг к другу, причем все флажковые древки закреплены на валу так, что по ходу вращения вала, флажковые древки двух соседних флажков расположены перпендикулярно валу и перпендикулярны между собой, при этом, если угол между роторным валом и направлением ветра меньше 45º, то два соседних флажка, расположенных по разные стороны вала, образуют воздушный винт, причем на местности гирлянды ветродвижителей устанавливают либо параллельно друг другу, либо под углом друг к другу.
![]() | ||
![]() | ![]() | |
![]() | ![]() | |
![]() | ||
![]() | ![]() | ![]() |
На фиг.1 изображена ветряная гирляндно-горизонтальная роторная электростанция с одним ветродвижителем, расположенным между двумя опорными столбами (общий вид);
на фиг.2 изображена флажковая пара (два флажка, закрепленные по разные стороны роторного вала);
на фиг.3 – вид сбоку на фиг.2;
на фиг.4 – вид сверху на флажок с полотнищами, распахнутыми навстречу ветру под углом 90º друг к другу;
на фиг.5 – пропеллерное положение флажковых полотнищ при горизонтальном направлении ветра;
на фиг.6 – два соседних роторных вала, смонтированных на одном опорном столбе соединенных отрезком троса;
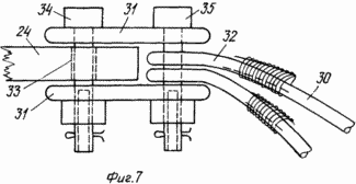
на фиг.7 – крепление к подшипниковой площадке верхних концов оттяжек;
на фиг.8 – вертикальный столбик оттяжки, изготовленный из лиственницы;
на фиг.9 – столбик оттяжки из металла.
Предлагаемая электростанция состоит из большого числа ветродвижетелей, монтируемых на опорных столбах 1, образуя прямолинейно-горизонтальные гирлянды ветродвижетелей, вращающих всего один, но мощный тихооборотный электрогенератор. На каждом роторном валу 2 ветродвижетеля крепятся по несколько десятков флажков 3, которые выполняют роль лопастей у этих ветродвижетелей. Каждый флажок имеет одно древко 4, к которому крепятся два полотнища 5, изготовленные из тонкой прочной ткани. Все четыре кромки полотнища 5 усилены путем отгибания и приклеивания этих кромок к полотнищу 5. Приклеивать их можно клеем “Спрут” или подобным ему.
Все древки 4 крепятся перпендикулярно к валу 2, а оба полотнища 5 скреплены с древком 4 таким образом, что между плоскостями этих полотнищ 5 образуется угол 90º. Такой угол сохраняется между полотнищами 5 благодаря тому, что к этому же древку 4 поверх каждого полотнища 5 накладываются еще и ограничители 6, удерживающие при ветре приблизительно 10 метров в секунду оба полотнища 5 перпендикулярно друг к другу. Для закрепления полотнищ 5 и ограничителей 6 к древку 4 используются металлические полосовые накладки 7 и болтики 8: два болтика 8 в верхней части древка 4 и два болтика 8 в нижней части древка 4. Второе полотнище 5 к этому же древку 4 крепится аналогично, но уже с другой его стороны под углом 90º по отношению к первому полотнищу 5, с помощью четырех болтиков 8, перпендикулярных с четырьмя предыдущими, но не касающихся их, а скрещивающихся с ними.
Ограничители 6 вырезаются (штампуются) из упругого (кордового или иного) полотна, ему придается пилообразная форма с узкими выступами и широкими впадинами. Упругость выступов должна быть такой, чтобы при ветре до 10 метров в секунду оба полотнища 5 еще должны удерживаться ограничителями 6, сохраняя между полотнищами 5 угол приблизительно 90º, но уже при ветре более 10 метров в секунду и с резкими порывами и ограничители 6, и полотнища 5 должны под давлением полотнищ 5 на ограничители 6 сразу же принять параллельное положение с направлением ветра и все полотнища 5 сбросят с себя сразу же повышенное давление воздуха, предохраняя этим сбросом от поломки детали всех ветродвижетелей данной электростанции.
Пропеллерное свойство флажков 3 заключается в том, что если угол, образованный между направлением ветра и гирляндным валом 2, станет меньше 45º, то одно из полотнищ 5 каждого флажка 3 развернется ветром в сторону соседнего полотнища 5 этого же флажка 3 и сомкнется с ним, образуя одну полотняную пропеллерную лопасть, аналогично образуется и вторая лопасть, но уже с другой стороны гирляндного вала 2 и другим флажком 3. Таким образом, каждая пара флажков 3 (флажковая пара), расположенная по разные стороны гирляндного вала 2, образует при таком направлении ветра один двухлопастной пропеллер – воздушный винт. А это значит, что для любого направления ветра гирляндный вал 2 и электрогенератор будут вращаться, не изменяя своего направления вращения.
Крепление древка 4 к роторному валу 2 осуществляется с помощью втулки 9 и отрезка профиля 10 П-образной формы. Втулка 9 и профиль 10 соединены между собою сварным швом.
Профиль 10 крепится к роторному валу 2 одним болтом 11, а древко 4, вставленное вовнутрь втулки 9, контрится шплинтом или отрезком проволоки 12, концы которой загибаются в разные стороны. На профиле 10 еще имеются два винта 13, устраняющие качание профиля 10 на роторном валу 2 путем вворачивания винтов 13 до соприкосновения их с валом 2. Винты 13 между собою контрятся попарно одним отрезком проволоки. Подобные два винта 14 должны быть и на втулке 9 для того, чтобы вворачивая их, прижать древко 4 к внутренней поверхности втулки 9 и этим устранить качание древка 4 относительно втулки 9.
Крепление двух соседних роторных валов 2 между собой осуществляется с помощью отрезка невитого стального троса 15. Диаметр его поперечного сечения должен быть немного меньше внутреннего диаметра роторного вала 2.
Середину троса 15 следует обозначить меткой 16 (изолентой) для того, чтобы трос 15 поровну распределить внутри этих двух соединяемых валов 2. Теперь надо зафиксировать это положение троса 15 с помощью восьми силовых винтов 17, расположенных на валах 2 над тросом 15. А чтобы это соединение было очень большой прочности как на растяжение, так и на скручивание, надо винты 17 вворачивать с большим усилием, придавая тросу 15 зигзагообразную форму внутри этих валов 2.
Вворачивание надо начинать с первых винтов 17 от торца каждого вала 2. Контрятся винты 17 отрезками толстой проволоки 18. Если стенки соединяемых валов 2 будут недостаточны по толщине для нарезания надежной резьбы для винтов 17, то надо на каждый вал 2 приварить втулку 19, внутренний диаметр которой равен наружному диаметру вала 2.
От продольного смещения роторные валы 2 удерживаются опорно-упорными подшипниками 20.
Подшипники 20 соединены с опорным столбом 1 следующим образом. К днищу каждого подшипника 20 приварена деталь, состоящая из подпятника 21 и перпендикулярно к нему приваренной толстой оси 22. Ось 22 вставляется в отверстие 23, выполненное на общей подшипниковой площадке 24 и фиксируется крепежной гайкой 25 снизу, то есть под площадкой 24. Аналогично крепится на этой площадке 24 и соседний подшипник 20. Между этими двумя гайками 25 приварен отрезок толстой трубы – цилиндр 26. Цилиндр 26, надетый на опорный столб 1, удерживает подшипниковую площадку 24 в горизонтальном положении.
Сварочный шов, соединяющий ось 22 с подпятником 21, выполнен не снизу подпятника 21, а сверху, так как ось 22 вставлена в просверленное в середине подпятника 21 отверстие, а на верхней кромке этого отверстия выполнена широкая фаска для сварного шва, соединяющего ось 22 с подпятником 21.
На той части поверхности опорного столба 1, которая находится внутри цилиндра 26, приварены два опоясывающих кольца 27, изготовленных из толстой проволоки (10 мм). Сварной шов выполняют по всей длине кольца 27, чередуя его то с одной стороны кольца 27, то с другой стороны. Внутренний диаметр цилиндра 26 должен быть больше наружного диаметра опорного столба 1 на 20 мм. На цилиндре 26 предусмотрены четыре винта 28. Если ввернуть все четыре винта 28 до соприкосновения (вворачивание выполнять постепенно, то есть вворачивать попеременно по одному обороту для каждого винта) их с поверхностью столба 1, то тогда устраняется не только качание цилиндра 26 относительно столба 1, но и аварийный сброс цилиндра 26 со столба 1, например, при восходящем вихре. Винты 28 контрятся между собой попарно отрезками проволоки 29, а их концы отгибаются.
Если опорные столбы изготавливаются из лиственницы, то в том месте, где должно находиться опоясывающее кольцо 27 надо выпилить опоясывающую канавку глубиной 20 мм, при этом наружный диаметр столба 1 должен равняться внутреннему диаметру цилиндра 26.
Опорные столбы 1 прочно удерживаются в грунте, но, несмотря на это, надо укреплять каждый столб 1 четырьмя оттяжками 30, натянутыми от подшипниковой площадки 24 каждого столба 1 в разные стороны под углом 90º друг к другу, а относительно поверхности земли под углом 45º.
При этом две оттяжки 30 натягиваются с одной стороны гирляндного вала 2 и две – с другой его стороны. Верхние концы каждой пары оттяжек 30 крепятся к подшипниковой площадке 24 с использованием двух толстых прямоугольной формы пластинок 31, которые с помощью двух болтов связывают между собой площадку 24 и верхние концевые петли 32 двух оттяжек 30. Каждая пластинка 31 имеет по два отверстия под болты. Аналогично крепятся и две другие оттяжки 30, но уже за противоположную кромку этой подшипниковой площадки 24. Отверстие 33 около кромки площадки 24 предназначено для болта 34, удерживающего обе пластинки 31 за площадку 24, а болт 35 удерживает верхние концевые петли двух оттяжек 30.
Нижние концевые петли 36 оттяжек 30 крепятся к вертикальным столбикам 37 следующим
образом. Петля 36 накидывается на столбик 37 и два монтажника оттягивают ногами петлю 36
вниз с помощью металлической двухплечевой подножки 38, имеющей форму буквы
,
в оттянутом вниз положении петля 36 фиксируется цилиндрической чекой 39 на столбике 37, но
уже с помощью третьего монтажника, так как первые два монтажника стоят на подножке 38 по
разные стороны оттяжки 30, держась за столбик 37. На чеку 39 с обеих сторон надеваются
шайбы 40, которые контрятся толстыми шплинтами или толстой проволокой, концы которой
загибаются в разные стороны. К нижним торцам столбиков 37, если они изготовлены из
металла, привариваются толстые пластины 41, размером немного большего размера диаметра
столбика 37. Вовнутрь столбика 37 надо опустить колышек 42, изготовленный из лиственницы,
и тогда столбик 37 не разорвет при замерзании в нем воды.
Пластины 41 и привариваются и к нижним торцам опорных столбов 1.
Если же столбики 37 изготавливать из лиственницы, то надо вертикально к боковой поверхности столбика 37 прикрутить проволокой два или четыре лиственничных колышка 44 так, как соединяют два или четыре телеграфных столба с помощью двух проволочных хомутиков с закруткой их ломиком.
ФОРМУЛА ИЗОБРЕТЕНИЯ
Ветряная гирляндно-горизонтальная роторная электростанция, содержащая ветродвижители, смонтированные на трубчатых опорных столбах, объединенных в несколько прямолинейно-горизонтальных гирлянд, каждая вращает только один электрогенератор, отличающаяся тем, что опорные столбы выполнены металлическими, два роторных вала ветродвижителей соединены между собой отрезком стального троса, зажатого винтами к внутренним поверхностям этих двух валов, а перпендикулярно к поверхностям прикреплены флажки, каждый из которых состоит из одного древка, на котором болтиками закреплены два тканевых полотнища под углом 90º друг к другу и ограничителей, изготовленных из упругого полотна, поддерживающих полотнища под углом 90º друг к другу, причем все флажковые древки закреплены на валу так, что по ходу вращения вала флажковые древки двух соседних флажков расположены перпендикулярно валу и перпендикулярны между собой, при этом, если угол между роторным валом и направлением ветра меньше 45º, то два соседних флажка, расположенных по разные стороны вала, образуют воздушный винт, причем, на местности, гирлянды ветродвигателей устанавливают либо параллельно друг другу, либо под углом друг к другу.
Версия для печати
Дата публикации 02.02.2007гг
Created/Updated: 25.05.2018
|









