| Начало раздела Производственные, любительские Радиолюбительские Авиамодельные, ракетомодельные Полезные, занимательные | Хитрости мастеру Электроника Физика Технологии Изобретения | Тайны космоса Тайны Земли Тайны Океана Хитрости Карта раздела | |
| Использование материалов сайта разрешается при условии ссылки (для сайтов - гиперссылки) | |||
Навигация: => | На главную/ Каталог патентов/ В раздел каталога/ Назад / |
|
ИЗОБРЕТЕНИЕ
Патент Российской Федерации RU2013652
![]()
ЭНЕРГОУСТАНОВКА
Имя изобретателя: Маркелов Василий Фотеевич
Имя патентообладателя: Маркелов Василий Фотеевич
Адрес для переписки:
Дата начала действия патента: 1991.03.29
Использование: для получения энергии. Сущность изобретения: энергоустановка содержит вертикальный ветродвигатель с лопастями, установленный на цилиндрическом поплавке, расположенном в резервуаре с жидкостью, и кинематически связанный с рабочей машиной, размещенной на основании. Ротор выполнен в виде связанных треугольных каркасов, вершины которых смещены в окружном направлении друг относительно друга. Лопасти попарно установлены на ребре каждого каркаса при помощи шарниров с упругой связью, а площадь каждой пары лопастей равна площади стороны каркаса. Поплавок снабжен элементом качения, размещенными на его вертикальных образующих, и противовесом. Внутренняя поверхность резервуара выполнена сферической, причем элементы качения контактируют с последней.
ОПИСАНИЕ ИЗОБРЕТЕНИЯ
Изобретение относится к энергетике и может быть использовано для обеспечения потребителей энергией, запасенной в воде и воздухе.
Уже известна ветроэнергетическая установка, содержащая ветродвигатель и приводящий воздушный компрессор, сжатый воздух которого питает пневмодвигатель. В схеме использованы пневмоаккумулятор и электрогенератор (заявка Великобритании N 2112463, кл. F 03 D 9/02, 1983). Однако в этой установке применен поршневой пневмодвигатель и поэтому не импользуется отбор теплоты от жидкости, когда происходит всплытие расширяющегося объема газа внутри поплавка-колокола, что снижает КПД.
Известна солнечная установка, использующая парниковый эффект и представляющая солнечный коллектор для нагрева воды в солнечном коллекторе, используемой для теплоснабжения. КПД такой установки близок к 100% . Но саккумулированная в воде теплота при существующих способах преобразования не используется для получения энергии.
Наконец, известна установка, содержащая пневмогидродвигатель, соединенный с
источником сжатого воздуха. Хотя в прототипе использован поплавковый
пневмогидродвигатель, содержащий плавающий цилиндрический корпус с закрепленным в
нем при помощи гибких связей колоколообразного поплавка, способного совершать
вертикальные перемещения внутри корпуса на длину связей и при этом совершать работу,
но ограниченность хода поплавка гибкими связями и отсутствие расчетной формулы
действующего объема сжатого воздуха, первоначально подаваемого под поплавок не
позволяет определять параметры установки и приводят к снижению КПД
В предложенной установке существенно то, что, кроме традиционного преобразования
различных проявлений энергии, предусмотрено наиболее эффективное извлечение
аккумулированной в воде и воздухе солнечной энергии. Энергоизвлекающие свойства
обусловлены следующими фактами.
Используются свойства химических элементов и из соединений (смесь газов, составляющих воздух и соединение водорода и кислорода, составляющих воду), определяющих как изначальную, так и приобретенную их неравномерность, необходимое условие для создания постоянно действующей машины.
Закон Архимеда рассматривается как следствие закона сохранения энергии, когда выталкивающая сила при равных температурах жидкости и тела рассматривается как следствие действия разности затрат энергии на создание или фазовый переход из одного состояния в другое с изменением плотности тела при неизменной плотности жидкости и которая определяет степень плавучести - положительную, когда выталкивающая сила больше силы вытягивания, нулевую, когда сила выталкивания и сила втягивания равны и отрицательную, когда сила выталкивания меньше силы втягивания. Формула закона Архимеда предлагается в следующей редакции: "На тело, погруженное в жидкость, действует сила, определенная разностью затрат энергии на создание жидкости и тела или на переход в иное агрегатное состояние, сопровождающееся изменением плотностей (если жидкость не вода), а и количеством энергии, аккумулированной жидкостью и телом в пределах температур образования или перехода в иное агрегатное состояние (растопление, затвердевание, газообразование".
Выталкивающая сила, действующая на подведенный под столб воды или другой жидкости начальный объем газа или воздуха, обладающего положительной плавучестью, больше силы, необходимой для преодоления давления жидкости над напорным патрубком источника сжатого газа на величину силы, обеспечивающей положительную плавучесть.
Выталкивающая сила, действующая на обладающий положительной плавучестью объем газа, подведенный под столб воды при равных температурах воды и газа, увеличивается по мере всплытия и уменьшения давления над ним с увеличением объема газа на величину первоначального объема через каждые 10 м всплытия (1 ат).
Выталкивающая сила увеличивается практически при неизменной плотности воды в пределах температур от 0 до 100оС, тогда как газ увеличивает свой объем на 1/273 первоначального объема на каждый градус повышения температуры, т. е. меняет плотность в зависимости от количества затраченной энергии интенсивнее воды, нарушая равновесие энергопотенциалов воды и воздуха и наблюдается, когда есть разность температур жидкости и газа.
Выталкивающая сила увеличивается, т. к. подвод воздуха практически происходит в изолированной системе воды с низкой ее теплопроводностью (адиабатный процесс), когда при падении давления на 1 ат происходит понижение температуры воздуха примерно на 24оС, т. е. воздух практически всегда подается под воду с температурой ниже температуры воды, что позволяет эффективно извлекать энергию при равных температурах воды и воздуха и близких к 0оС.
Полезную работу совершает средний действующий объем воздуха, который при
взаимодействии с водой определяется из соотношения![]()
При этом коэффициент (1 + 0,5 Р) отражает изначальную неравновесность, а (
) - приобретенную, где Vд- действующий объем газа, Vп - объем сжатого газа при абсолютном давлении, Р -
коэффициент давления, зависящий от высоты столба воды, t - температура воды, t1 -
температура воздуха.
Все вышеизложенное подтверждается следующими выводами и опытами.
Обратим внимание на расположение химических элементов в периодической системе. Нельзя не заметить, что все они расположены по мере увеличения их атомных весов, т. е. по неравновесности. Невозможно отрицать, что на их создание природой затрачено разное количество энергии и эта разность определила и свойства элементов, таких как плотность, теплоемкость и теплопроводность. В этом ряду есть водород, железо и ртуть. В ртути всплывут и водород и железо, но количество произведенной при этом работы будет больше у водорода, чем у железа. Но и стоят они в системе не рядом и обладают разной плотностью, теплоемкостью и теплопроводностью. Это пример того, когда работа совершается за счет изначальной неравновесности.
Но вот когда подведенный под столб воды объем воздуха увеличивается не только за счет увеличения давления над ним при всплытии, а еще и за счет положительной разности температур между водой и воздухом, то в этом случае работа производится за счет как изначальной неравновесности, так и приобретенной.
Известно, что на расположение 1 г льда, взятого при 0оС, необходимо затратить 80 кал. На растопление 1 т льда, взятого при 0оС, требуется 93 кВтч, при этом вода будет иметь температуру близкую к 0оС (точка фазового перехода из твердого состояния в жидкое и наоборот). А это значит, что в 1 т воды при температуре, близкой к 0оС, аккумулировано не менее 93 кВт/ч энергии.
Что такое вода? Это одно из состояний воды как вещества (жидкое), но вода еще и расплав льда, и лед в ней плавает. Но в своем расплаве плавают и свинец и железо, твердое состояние вещества плавает в своем расплаве. В обоих случаях на приготовление расплава была затрачена энергия, создавая разницу в энергиях жидкого и твердого состояния вещества. Если на приготовление расплава свинца мы расходуем искусственно полученную энергию, то расплав льда (воду) и сам лед нам приготовила природа, которая поддерживает необходимый энергетический режим, при котором вода находится в жидком состоянии, а количество энергии саккумулированное в 1 м3 воды при температуре близкой к 0оС сравнима с количеством энергии выделяемом при сжигании 1 м3 дров.
К горлышку бутылки привяжем груз так, чтобы бутылка в воде плавала и занимала
вертикальное положение. Выпустим часть воздуха заменив его водой и добьемся такого
положения, когда бутылка только начнет тонуть и заткнем под водой бутылку пробкой,
превратив ее в герметичный поплавок. Сменив воду на горячую, опустим бутылку в воду.
Температура холодной воды 20оС, горячей - +45оС. Бутылка так же, как и в первом
случае, когда вода холодная, затонет. При этом объем воздуха, масса, плотность остались
неизменны, но изменилась внутренняя энергия воздуха. Вынем под водой пробку, превратив
бутылку в поплавок-колокол, бутылка всплывет и выступит над водой около 10 мм. Перед
опусканием бутылки в воду резиновым кольцом отметим уровень воды в бутылке. Под
горячей водой заткнем пробку и вынем бутылку из воды. Расширившийся объем воздуха
вытеснил воду из бутылки. Зная первоначальный объем воздуха в бутылке, полученный
объем и температуру холодной и горячей воды, при расчете получим, что увеличение
первичного объема воздуха счоставило 1/273 на каждый градус повышения темпепратуры
воздуха, а это формула закона Гей-Люссака, которая выглядит следующим образом:
,
где t - разность температур воды и воздуха;
Vо - первичный объем воздуха.
Когда мы отрегулировали бутылку на начало момента погружения, создав условия занятия бутылкой безразличного положения, мы таким образом уровняли две силы - силу притяжения и силу вытакивания, т. е. приблизили эти условия к условиям невесомости. Отрегулированную таким образом бутылку или емкость с открытой нижней частью опустим утром в холодную воду естественного водоема (вода за ночь успела остыть, а перепады температур, например, в степях Казахстана достигают 25-30оС, который мы можем увеличить за счет подключения солнечного коллектора, нагревающего воду в дневное время и охлаждающего в ночное). Бутылка или емкость затонет. По мере прогрева водоема солнцем, а мощность солнечного излучения в среднем равна 1 кВт/м2, воздух в бутылке или емкости одновременно с водой водоема начнет прогреваться и из-за разности теплоемкостей воды и воздуха и связанной с ней коэффициента объемного расширения начнет увеличиваться в объеме больше чем вода, вытесняя ее из бутылки. Бутылка или емкость всплывет и в зависимости от размеров бутылки или емкости, перепад температур произведет работу. Вечером вода начнет остывать, и к утру бутылка или емкость не просто затонет, а будет втянута в воду. При этом, если перепад температур будет равным, то будет произведено и равное количество энергии, что и при выталкивании. С началом прогрева водоема солнцем начнется всплытие, и цикл повторится. Мы получим довольно эффективную постоянно действующую солнечную установку типа работающий вечный двигатель второго рода, в которой разность энергий двух изначально неравновесных сред способствует извлечению солнечной энергии, создавшей приобретенную неравновесность взаимодействующих веществ и сред.
Когда мы отрегулировали бутылку в холодной воде на начало момента погружения, заменив часть воздуха водой, мы таким образом убрали часть выталкивающей силы, обеспечивающей всплытие (положительная плавучесть), и одновременно уравняли количество вещества вытесненной бутылкой воды и самой бутылкой с прицепленным к ней грузом и ее содержимым (вода, воздух), т. е. вес бутылки с водой, грузом и воздухом в ней равен весу вытесненной воды, т. е. выталкивающая сила равна нулю (нулевая плавучесть), разность энергопотенциалов наружной воды и системы - груз, стекло бутылки, воздух и вода в бутылке тоже равна нулю. Но чтобы добиться такого положения, мы убрали не часть силы притяжения, а часть выталкивающей силы, а это значит, что если бы сила притяжения в этом случае и существовала, то для тела с положительной плавучестью она была бы все равно меньше выталкивающей силы, т. е. ее в данном случае нет, и она не может возникнуть, пока отрегулированная на нулевую плавучесть бутылка будет находится в воде, а разность энергопотенциалов будет равна нулю, т. к. выталкивающая сила, действующая на неизменяемый объем тела, не зависит от глубины погружения, тем более, когда вместо твердого тела применяется газ с его положительной плавучестью, способностью увеличиваться в объеме по мере всплытия и изменения температуры.
На тело находящееся в условиях нулевой плавучести действуют две противоположно направленные и равные силы - сила выталкивания направленная вверх и сила втягивания направленная вниз. Сила выталкивания увеличивается при увеличении положительной разности энергопотенциалов воды и воздуха при полном отсутствии силы притяжения, а сила втягивания - при ее отрицательной разности. Проследим сделанные выводы на формулах.
На поверхности Земли сила притяжения равна F = mq, где m - масса тела, q - ускорение свободного падения равное 9,81 м/с2.
На поверхности Земли выталкаивающая сила равна F = V' D'q, где V - объем тела, D - плотность жидкости (в данном случае воды), q - ускорение свободного падения равное 9,81 м/c2. Но VD равно m. Таким образом, на любой объем жидкости в столбе этой жидкости на любой глубине действует выталкивающая сила, равная силе притяжения, а это то же самое безразличное положение тела в жидкости, как в случае с бутылкой, и это тот случай, если бы мы закачивали под столб воды воду и при возврате вытесненной воды через турбину, имеющую КПД = 1, получили количество энергии, равное затраченному, но мы закачиваем под воду не воду, а обладающий положительной плавучестью воздух.
Рассмотрим более подробно следствие, вытекающее из закона Архимеда. Плавающее тело погружено некоторой своей частью в жидкость: погруженная часть вытесняет по весу столько жидкости, сколько весит все тело. Мы можем сказать, что на плавающее тело действует выталкивающая сила, равная весу жидкости, вытесненной погруженной частью, и ошибемся. Ведь находящийся над поверхностью воды воздух, так же обладающий положительной плавучестью, можно принять за плавающее тело. Однако при постоянном количестве растворенного в воде воздуха (втянутого) никакого погружения воздуха в воду нет, но он и выталкивается из нее без остатка, т. е. с большей силой, хотя столб воздуха над этим телом может превышать вес тела. Но вот если погружать на какую-то глубину плавающее тело и столб воздуха над этим телом, то на погружение столба воздуха закрыты энергии значительно больше, чем на погружение тела. В обоих случах пришлось бы преодолевать силу плавучести (положительную), т. е. когда выталкивающая сила больше нуля. А мы убедились, что выталкивающая сила на этапе всплытия при равных температурах воды и воздуха больше силы притяжения. Неравновесность - необходимое условие для создания периодически действующей машины, что не противоречит второму закону термодинамики так и закону сохранения энергии. Но если твердое тело невозможно подвести под столб жидкости, не преодолев силу (погружение тела мы вынуждены вести с поверхности водоема), то воздух можно подвести, минуя затраты энергии на преодоление плавучести. Это еще одно доказательство, почему на подвод объема воздуха под столб воды энергии требуется меньше, чем на преодоление давления воды над напорным патрубком источника сжатого воздуха, что хорошо видно на фиг. 8. Так как и первичный подведенный объем воздуха обладает положительной плавучестью, то понятно, что при всплытии получим выигрыш в энергии за счет отобранной у воды теплоты и разности затрат энергии на создание жидкости и тела.
Возьмем воронку, перевернем ее соском вверх и опустим в воду так, чтобы нижняя
расширенная часть не доходила до дна, а верхняя была на уровне воды или чуть выше.
Трубкой подведем под воронку воздух. Убедимся в том, что вытесненная из воронки вода не
просто переливается из соска, а фонтанирует на значительную высоту, т. е. почти не
увеличивающийся объем воздуха за счет силы плавучести создает выталкивающую силу,
которая не наблюдается при подводе такого же объема воды, когда при КПД = 1 мы могли бы
получить количество энергии равное затраченному. Но на подвод воздуха мы тратим
энергии меньше, чем на подвод воды, тем не менее получаем выигрыш в энергии. Это не
принцип на котором основано действие инжектора или эжектора, а явление обусловленное
разностью затрат энергии на создание воды и воздуха (изначальная неравновесность),
которая определяет их свойства. Известно, что объем воздуха при падении давления на 1а
увеличивается на величину первоначального объема, т. е. первоначальное увеличение
объема воздуха происходит или, вернее, равно увеличению в 2 раза, но работает на
производство энергии средний действующий объем воздуха (фиг. 8), который выражается
уравнением
, где Vо - объем воздуха первичного заполнения на глубине Н при одинаковых
температурах воды и воздуха;
Н - высота столба воды,
Р - коэффициент давления, зависящий от высоты столба воды (Нм/10 м = Р) на уровне нижнего
поплавка-колокола или кольцевого распределителя сжатого воздуха.
Тогда![]()
Полученное уравнение позволяет вести расчет получения энергии за счет изначальной неравновесности при равных температурах воды и воздуха, а закон Гей-Люссака - расчет получения дополнительного энергии за счет приобретенной неравновесности, когда температуры воды и воздуха не равны. Выше изложенные выводы относятся к пневмогидродвигателям, но для их запуска необходим дополнительный источник энергии, своего рода стартер. Таким источником энергии мог бы стать один из экологически чистых преобразователей нетрадиционных источников энергии. В данном случае выбрана в качестве такого преобразователя ветроэнергическая установка с увеличенной площадью съема ветровой нагрузки, представляющая вертикальный ротор.
Известно, что в равностороннем треугольнике точка пересечения биссектрисы находится на 1/3 высоты треугольника и если изготовить каркас, представляющий призму, основания которой представляют равносторонний треугольник, а часть сторон призмы обшить непроницаемым для воздуха материалом и через точку пересечения биссектрис пропустить ось, то мы получим элемент ротора ветровой электростанции. Установив несколько таких элементов друг на друга со смешением в радиальном направлении вокруг оси, получим ротор, получим ротор, а установив дополнительные шарнирно закрепленные на вертикальных образующих равные по площади основным площадкам подпружиненные парусные лопасти, способные при действии ветра раскрываться, получим дополнительную площадь съема ветровой нагрузки. Установив такой ротор на поплавок, получим ветровую энергоустановку, способную работать при буревых скоростях ветра. Соединим верхнюю площадку поплавка с колесом, закрепленным на стойке, имеющей возможность вертикального и окружного перемещения, с установленным на ней и соединенным промежуточной передачей с колесом копрессором, который трубопроводом соединен с энергоизвлекающим пневмогидродвигателем, пополнение энергии в воде которого осуществляется за счет подсоединенного е нему солнечного коллектора, использующего парниковый эффект. Энергоизвлекающий пневмогидродвигатель и соединен с компрессором, который трубопроводом соединен с энергоизвлекающей установкой водометного типа, представляющей вращающийся на опорах качения в закрепленном на дне водоема наружном цилиндрическом неподвижном корпусе внутренний корпус, закрытый в верхней и открытый в нижней части, имеющий в верхней части сопла, а в нижней с внутренней стороны - закрепленные под углом пластины, выполняющие роль турбинных лопаток, и расположенной в реке или канале замкнутом с водоемом, которая извлекает энергию саккумулированную в водоеме.
Таким образом, основными отличительными признаками энергоустановок являются энергоизвлекающие свойства в отличие от преобразователей одного проявления энергии в другое.
![]() | ![]() | ||
| |||
![]() | ![]() | ||
| |||
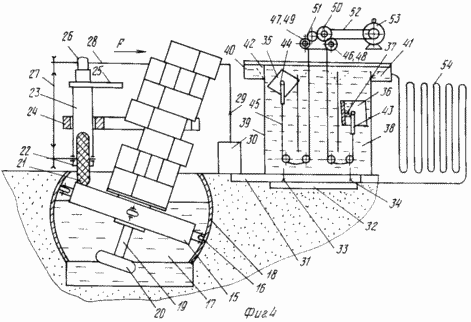
На фиг. 1 показана схема энергоустановки; на фиг. 2 - элемент ротора ветроэнергетической установки; на фиг. 3 - многоступенчатый ротор ветроэнергетической установки; на фиг. 4 - ветроэнергетическая установка; на фиг. 5 - то же, с подпружиненной платформой и противовесами; на фиг. 6 - вид А на фиг. 5; на фиг. 7 - энергоизвлекающая установка водометного типа; на фиг. 8 - схема работы объема воздуха, подведенного под столб воды, при равных температурах (правая часть представляет график среднего действующего объема воздуха).
Энергоизвлекающая ветроэнергетическая установка 1.1 соединена воздуховодом 1 с энергоизвлекающей установкой водометного типа 1.2, установленной в канале 2, замкнутом с водоемом 3, соединенной с употребителем энергии, например, компрессорная станция 4 и вентиляторная 5. Компрессор соединен воздуховодом 6 с холодильной установкой 7, расположенной над каналом и предназначенное для конденсации паров воды атмосферного воздуха. Парусные лопасти 8 и 9 (фиг. 2) между которыми находится упругий элемент 10, шарнирно соединенный с вертикальными образующими 11 пространственных призматических каркасов 12, представляющих треугольную призму и соединеных основаниями между собой со смещением относительно друг друга вокруг геометрической оси 13 призмы и составляющих вертикальный ротор 14 (фиг. 3) закрепленный на цилиндрическом поплавке 15 (фиг. 4), имеющий на вертикальной образующей элементы качения 16 и помещенный в резервуар 17, заполненный жидкостью и имеющий внутреннюю сферическую поверхность 18. На дне поплавка закреплен стержень 19 с грузом 20 на конце. Верхняя поверхность поплавка взаимодействует с колесом 21, закрепленным в опорах 22 на вертикальной стойке 23, имеющей возможность вертикального перемещения в кольцевой направляющей 24 с одновременным перемещением в окружном направлении. На верхней части стойки расположена площадка 25 с компрессором 26, который через промежуточную передачу 27 взаимодействует с колесом. Компрессор воздуховодом 28 через обратный клапан 29 соединен с аккумулятором сжатого воздуха 30, который воздуховодом 31 через двухпозиционный распределитель 32 и клапана 33 и 34 поочередно соединяется с поплавками-колоколами 35 и 36, каждый и которых полой горизонтальной перегородкой заполненной воздухом разделен на две равные по объему части. Поплавки-колокола асимметричны относительно вертикальной оси. Поплавки-колокола взаимодействуют с направляющими частями 38 и 39 корпуса пневмогидродвигателя, заполненного водой и переходящие в расширенную разгрузочную часть 40 в верхней части корпуса. Поплавки-колокола взаимодействуют с закрепленными в верхней части корпуса на границе перехода направляющей части в разгрузочную с упругими элементами возврата 41 и 42 и с шарнирно закрепленными на поплавках в точке центра тяжести с рамами 43 и 44, которые трособлочной передачей 45 соединены между собой общим тросом. Трос трособлочной передачи взаимодействует с барабанами 46 и 47, свободно посаженных на две параллельные оси и взаимодействующих с барабанами через обгонные муфты 48 и 48. Барабаны взаимодействуют через зубчатое колесо 50 и паразитную шестерню 51, а через промежуточную передачу 52 - с компрессором 53. Заполненный водой корпус пневмогидродвигателя соединен с солнечным коллектором 54. В зависимости от условий эксплуатации ротор 14 может быть установлен на вращающейся на элементах качения 55 платформе 56 (фиг. 5), взаимодействующей с основанием 57. Основание опирается на пружины 58 и имеет противовесы 59, которые через блок соединены с ним тросом 60. Аккумулятор сжатого воздуха 61 через клапан впуска 62 и шток 63 с педалью первичного запуска 64 через кулачковый распределительный механизм 65, соединенный через промежуточную передачу 66, через обгонную муфту 67, шестерню 68 с зубчатой рейкой 69 и инерционным маховиком 70. Зубчатая рейка составляет одно целое с рамой 71, шарнирно соединенной с поплавком-колоколом 72, разделенном перегородкой 73 на две равные по объему части. Поплавок-колокол взаимодействует через цапфы 74 (фиг. 6) с коробчатыми направляющими 75, со стенками заполненного водой корпуса 76 и упругими элементами возврата 77, установленных на границе перехода направляющей части в разгрузочную часть 78. Заполненный жидкостью корпус пневмогидродвигателя соединен с солнечным коллектором 79, поплавок-колокол трубопроводом 80 - с клапаном впуска, а инерционный маховик - с компрессором 53. Компрессор 53 через воздуховод 80 (фиг. 7) с обратным клапаном 81 взаимодействует с кольцевым трубным воздушным разбрызгивателем 82 и многокольцевым трубным распределителем воздуха 83, расположенным внутри и выше нижней части опирающегося на элементы качения 84 закрытого в верхней части и расположенного нижне уровня воды цилиндрического корпуса 85, имеющего в верхней закрытой части на вертикальной образующей на наружной стороне сопла 86, суммарная площадь поперечного сечения которых не меньше площади поперечного сечения корпуса. В нижней части корпуса 85 на образующей с внутренней стороны под углом закреплены пластины 87. Корпус 85 взаимодействует через элементы качения с открытым в верхней и нижней части неподвижным наружным цилиндрическим корпусом 88, закрепленным сваями 89 в дне канала и имеющим выход воды на уровне сопел внутреннего корпуса, взаимодействующего с генератором электрической энергии 91. Верхняя часть корпуса 85 выше, а нижняя ниже верхней и нижней части внутреннего корпуса. Потребителями электрической энергии могут быть, например, компрессорная 4 и вентиляторная станция 5, работающая в квомплексе с холодильной установкой 7.
ЭНЕРГОУСТАНОВКА РАБОТАЕТ СЛЕДУЮЩИМ ОБРАЗОМ
Энерогоизвлекающая ветроэнергетическая установка 1.1 (фиг. 1), вырабатывающая сжатый воздух трубопроводом 1 соединена с энергоизвлекающей установкой водометного типа 1.2, установленной в канале 2, замкнутого с водоемом 3. Возможность получения неограниченного количества энергии позволяет в качестве потребителей энергии подключать компрессорную 4 и вентиляторную станцию 5, работающих в комплексе с холодильной установкой 7 с целью получения пресной воды за счет конденсации паров атмосферного воздуха. Энергия, необходимая для обеспечения работы компрессора и вентилятора или других потребителей, получена за счет преобразования ветровой энергии в энергию сжатого воздуха с дальнейшим наращиванием количества сжатого воздуха за счет энергии извлеченной в энергоизвлекающих пневмогидродвигателях, соединенных с ветровой энергоустановкой и солнечным коллектором, за счет использования сжатого воздуха в энергоизвлекающей установке водометного типа, в которой извлекается энергия саккумулированная в воде водоема. Электроэнергия, полученная предложенным способом, экологически чиста.
Ветроэнергетическая установка работает следующим образом. Парусные лопасти 8 и 9, между которыми находится упругий элемент 10, шарнирно соединенные с вертикальными образующими 11 пространственных каркасов 12, представляющих треугольную призму и соединенных между собой основаниями со смещениями относительно друг друга вокруг воображаемой геометрической оси 13, и составляющих вертикальный безвальный ротор 14, закрепленный на цилиндрическом поплавке 15, который имеет элементы качения 16 на окружной вертикальной стенке и помещенный в резервуар 17, заполненный жидкостью, имеющий внутреннюю сферическую поверхность 18, а поплавок имеет стержень 19, на конце которого закреплен груз 20, одновременно с поплавком, выполняющим роль инерционного маховика, представляют конструкцию безвального вертикального ротора, в котором под действием воздушного потока и упругого элемента раскрываются парусные лопасти, приводя во вращение сборный вертикальный ротор и соединенный с ним поплавок, который при усилении ветра может наклоняться, не выходя из сферической поверхности резервуара, и при ослаблении ветра за счет пониженного центра тяжести, обеспечиваемого грузом, снова принимает вертикальное положение. Таким образом, происходит саморегулирование нагрузки на ротор, что обеспечивает работу установки при буревых скоростях ветра. Верхняя поверхность поплавка соприкасается с колесом 21, закрепленным в опорах качения 22 на стойке 23, имеющей возможность под собственным весом вертикального и окружного перемещения направляющей 24. На верхней части стойки расположена площадка 25 с компрессором 26, который через промежуточную передачу 27 взаимодействует с валом колеса. Таким образом, вращение поплава передается на колесо, которое через промежуточную передачу передает его на привод компрессора, который трубопроводом 28 через обратный клапан 29 соединен с аккумулятором сжатого воздуха 30, из которого воздух по трубопроводу 31 через двухпозиционный распределитель 32 и клапаны 33 и 34 поочередно подается под поплавки колокола 35 и 36, имеющие запас полезного объема, каждый из которых перегородкой 37, полость которой заполнена воздухом, разделен на две равные по объему части. Воздух в полости перегородки уравновешивает вес поплавка и соединенных с ним элементов установки. Нижняя часть погруженного поплавка заполняется воздухом так, что к моменту всплытия весь объем этой части заполняется воздухом и при выходе из направляющей части позволяет ему переворачиваться на 180о и залпом освобождаться от воздуха, и снова заполняться водой в подводном положении в расширенной разгрузочной части 40. При этом имеющий запас полезного объема поплавок-колокол по мере всплытия и уменьшения давления жидкости и разности температур воды и подводимого воздуха увеличивает усилие всплытия за счет увеличения объема воздуха, сопровождающегося отбором теплоты менее теплоемким воздухом от более теплоемкой воды (фиг. 8). Всплывший и перевернувшийся поплавок-колокол упругими элементами возврата 41 и 42 фиксируется в вертикальном рабочем положении. Поплавки колокола соединены между собой через шарнирносоединенные с поплавками рамы 43 и 44, которые трособлочной передачей 45 соединены между собой общим тросом. Трособлочная передача взаимодействует с барабанами 46 и 48 свободно вращающихся на двух параллельных валах и взаимодействующих с барабанами через обгонные муфты 47 и 49. Барабаны взаимодействуют между собой через зубчатое колесо 50 и паразитную шестерню 51, что обеспечивает одностороннее вращение зубчатого колеса. Вращение зубчатого колеса передается через промежуточную передачу 52 на компрессор 53. Для пополнения энергии в воде пневмогидродвигателя последний соединен с солнечным коллектором 54 в котором вода может быть нагрета до температуры близкой к 100оС. При установке ротора 14 (фиг, 5) на подпружиненную платформу роль жидкости выполняют пружины сжатия 58, нагрузку на которую уменьшают противовесы 59. Преимущество данной конструкции в том, что колесо, передающее вращение на компрессор, соприкасается с сухой поверхностью платформы, что увеличит силу трения, так и при использовании установки при дефиците воды, например в пустыне. В связи с тем, что применен однопоплавковый пневмогидродвигатель, впуск воздуха под поплавок-колокол осуществляется автоматическим кулачковым распределителем, шток которого связан с клапаном впуска. Для пополнения запасов энергии пневмогидродвигатель и соединен с солнечным коллектором. Компрессор 53 ветроэнергетических установок через воздуховод 80 при открытии клапана 81 подает воздух в кольцевой трубный рыбозаградитель 82 и многокольцевой трубный распределитель воздуха 83 (фиг. 7), расположенный внутри и выше нижней открытой части, опирающийся на элементы качения 84, закрытый в верхней части и расположенный ниже уровня воды цилиндрического корпуса 85, имеющего в верхней закрытой части на вертикальной образующей с наружной стороны сопла 86. Суммарная площадь поперечного сечения не меньше площади поперечного сечения корпуса, а в нижней части закреплены под углом пластины 82 с внутренней стороны корпуса 85. Корпус 85 взаимодействует через элементы качения с открытым в верхней и нижней частях неподвижным наружным цилиндрическим корпусом 88, закрепленным сваями 89 в дне водоема и имеющим выход воды 90 на уровне сопел внутреннего корпуса, взаимодействующего с генератором электрической энергии 91. При поступлении воздуха в кольцевой рыбный заградитель, воздух выходит из него через отверстия, образуя отпугивающую рыбу воздушную завесу, предотвращая попадание рыбы в установку. Воздух, поступивший в многокольцевой распределитель, находящийся внутри внутреннего корпуса, выходя из отверстия, обладая плавучестью, увеличивает свой объем на величину первоначального объема через каждые 10 м всплытия и на 1/273 на каждый градус повышения температуры, начинает всплывать, увеличивая свой объем до момента выхода из воды, вытесняя при этом воду через сопла. При этом происходит отбор теплоты от воды из расчета, что при понижении давления воздуха на 1 ат температура воздуха понижается на 24оС. Выхода воды и воздуха из под цилиндрического корпуса наблюдаться не будет, т. к. выход воздуха из многокольцевого распределителя осуществляется выше нижней части корпуса, а суммарная площадь поперечных сечений сопел не меньше площади поперечного корпуса, т. е. давление воды до нижней части корпуса больше давления воды до распределителя, а равная или большая площадь сечений сопел и корпуса обеспечивает равноценный вход и выход воды из корпуса. Выброшенная из сопел вода приводит во вращательное движение корпус и связанный с ним генератор. Вращение корпуса будет иметь постоянную скорость. Выброшенная в зазор между наружным и внутренним корпусами вода выбрасывается в водоем через имеющийся в наружном корпусе направленный выход, создавая направленное поверхностное течение аэрированной воды. Одновременно создается придонное течение, направленное внутрь вращающегося внутреннего корпуса, и, действуя на наклонные пластины, водный поток создает дополнительный вращающий момент. При этом происходит постоянная замена энергоносителя, что дает возможность получать равномерный поток электроэнергии. Расчет дополнительной мощности за счет придонного течения можно производить по формулам для гидравлических турбин. Разделенный в многокольцевом распределителе на малые объемы воздух имеет большую площадь соприкосновения с водой, что способствует наиболее полному отбору теплоты от воды, а значит, согласно закону Гей-Люссака и наибольшему увеличению объема воздуха, что повышает количество произведенной работы, а значит, увеличивается и количество извлеченной энергии.
Технико-экономическая эффективность выразится в использовании практически готовой энергии для нужд народного хозяйства, дешевизна, неисчерпаемость и абсолютная чистота которой позволяет не только восстановить утраченное равновесие на планете, но и улучшить его.
ФОРМУЛА ИЗОБРЕТЕНИЯ
1. ЭНЕРГОУСТАНОВКА, содержащая вертикальный ветродвигатель с лопастями, установленный на цилиндрическом поплавке, расположенном в резервуаре с жидкостью, и кинематически связанный с рабочей машиной, размещенной на основании, отличающаяся тем, что, с целью повышения эффективности использования энергии ветра, ротор выполнен в виде связанных треугольных каркасов, вершины которых смещены в окружном направлении одна относительно другой, лопасти попарно установлены на ребре каждого каркаса при помощи шарниров с упругой связью, а площадь каждой пары лопастей равна площади стороны каркаса, поплавок снабжен элементами качения, размещенными на его вертикальных образующих, и противовесом, внутренняя поверхность резервуара выполнена сферической, причем элементы качения контактируют с последней.
2. Энергоустановка по п. 1, отличающаяся тем, что она снабжена стойкой с колесом, установленной с возможностью вертикального перемещения по кольцевой направляющей, рабочая машина выполнена в виде компрессора, закрепленного на площадке и кинематически связанного с колесом, установленным с возможностью взаимодействия с поверхностью поплавка.
3. Энергоустановка по пп. 1 и 2, отличающаяся тем, что она снабжена заполненным жидкостью баком с направляющими и верхней разгрузочной частью, упругими элементами возврата, двумя связанными трособлочной передачей поплавками-колоколами, установленными в баках на направляющих, солнечным коллектором, соединенным с баком, двумя параллельными барабанами, взаимодействующими с трособлочной передачей, связанными с компрессором промежуточной передачей, трубопроводом с обратным клапаном, связанным с компрессором, и аккумулятором сжатого воздуха, сообщенным трубопроводом с двухпозиционными распределителями с поплавками-колоколами.
4. Энергоустановка по пп. 1 - 3, отличающаяся тем, что каждый поплавок-колокол снабжен горизонтальной перегородкой, установленной с образованием двух камер равного объема, и расположен асимметрично относительно вертикальной оси.
5. Энергоустановка по п. 4, отличающаяся тем, что горизонтальная перегородка выполнена полой.
6. Энергоустановка по пп. 1 - 5, отличающаяся тем, что каждый поплавок-колокол снабжен шарнирными рамами, соединенными с трособлочной передачей, и упругими элементами возврата.
7. Энергоустановка по пп. 1 - 6, отличающаяся тем, что ротор размещен на платформе, взаимодействующей через элементы качения с основанием, выполненным подпружиненным и соединенным с противовесами при помощи трособлочной передачи.
8. Энергоустановка по пп. 1 - 7, отличающаяся тем, что она снабжена расположенными в водоеме наружным цилиндрическим корпусом и укрепленным на дне внутренним цилиндрическим корпусом, установленным с возможностью вращения относительно вертикальной оси и связанным с генератором и аккумулятором сжатого воздуха.
9. Энергоустановка по п. 8, отличающаяся тем, что верхняя часть наружного корпуса снабжена горизонтальным выпускным патрубком, нижняя часть расположена над дном водоема, а корпуса связаны между собой при помощи подшипников.
10. Энергоустановка по п. 9, отличающаяся тем, что внутренний корпус снабжен расположенными по касательной к внешней поверхности корпуса соплами и лопатками, закрепленными в нижней части внутренней поверхности корпуса, при этом площадь поперечных сечений сопл больше площади поперечного сечения корпуса, а нижняя часть корпуса связана с аккумулятором сжатого воздуха.
11. Энергоустановка по п. 10, отличающаяся тем, что она снабжена кольцевым воздушным ограждением, связанным с аккумулятором сжатого воздуха и размещенным на дне водоема вокруг внутреннего корпуса.
Версия для печати
Дата публикации 11.02.2007гг
Created/Updated: 25.05.2018
|








