| Начало раздела Производственные, любительские Радиолюбительские Авиамодельные, ракетомодельные Полезные, занимательные | Хитрости мастеру Электроника Физика Технологии Изобретения | Тайны космоса Тайны Земли Тайны Океана Хитрости Карта раздела | |
| Использование материалов сайта разрешается при условии ссылки (для сайтов - гиперссылки) | |||
Навигация: => | На главную/ Каталог патентов/ В раздел каталога/ Назад / |
|
ИЗОБРЕТЕНИЕ
Патент Российской Федерации RU2075637
![]()
ВЕТРОЭНЕРГЕТИЧЕСКАЯ УСТАНОВКА
Имя изобретателя: Забегаев А.И.; Горбунов Ю.Н.; Наумов В.В.; Кутузов В.В.; Смирнов С.Л.; Новак Ю.И.; Демкин В.В.
Имя патентообладателя: Товарищество с ограниченной ответственностью Фирма "Общемаш- инжиниринг"; Научно-производственное объединение "Ветроэн"
Адрес для переписки:
Дата начала действия патента: 1995.04.20
Использование: изобретение относится к ветроэнергетике, конкретно к ветроэнергетическим установкам, вырабатывающим электроэнергию в низкоскоростных ветропотоках. Сущность изобретения: ветроэнергетическая установка содержит башню, ветроколесо с валом, мультипликатор, раздаточное устройство, формирующее рабочие потоки, включающие маховик, муфту, генератор и технологический поток, включающий пусковое устройство, а и снабжена устройством для сцепления, дополнительными автономными мультипликаторами потоков, механическим тормозом, дополнительными зубчатым колесом и промежуточным валом, раздаточное устройство выполнено совмещенным с мультипликатором в виде единого раздаточного многопоточного мультипликатора, включающего входной тихоходный вал с центрально расположенным большим зубчатым колесом и ряды выходных валов, периферийно односторонне и параллельно расположенным с малыми зубчатыми колесами, каждый быстроходный вал раздаточного многопоточного мультипликатора в рабочем потоке связан с входным тихоходным валом дополнительного автономного мультипликатора через устройство для сцепления и дополнительный промежуточный вал, свободно пропущенный через выполненный полым выходной быстроходный вал раздаточного многопоточного мультипликатора, разделяющего устройство для сцепления, расположенное со стороны ветроколеса, и дополнительный автономный мультипликатор, расположенный с противоположной относительно раздаточного многопоточного мультипликатора стороны, выходной быстроходный вал дополнительного автономного мультипликатора в рабочем потоке связан с маховиком, а в технологическом потоке - с тормозом и пусковым устройством посредством дополнительного зубчатого колеса, совмещенного с барабаном тормоза. Устройство для сцепления может быть выполнено в виде выключателей многодисковой фрикционной муфты с приводом, снабженной редуктором и электродвигателем, последовательно соединенными между собой в приводе включаемой муфтой, в которой установлена пара "винт-гайка", причем винт связан с выходным валом редуктора, а гайка - с толкателем выключаемой муфты сцепления. Вал ветроколеса может быть выполнен полым и связан с входным валом многопоточного мультипликатора через зубчатую муфту, внутри которых размещены приводные элементы системы поворота. Тормоз установки может быть выполнен механическим, колодочного типа или электромагнитным. Дополнительные автомобильные мультипликаторы закреплены на корпусе раздаточного многопоточного мультипликатора соосно его выходным валам, крепление может выполняться фланцевым.
ОПИСАНИЕ ИЗОБРЕТЕНИЯ
Изобретение относится к ветроэнергетике, конкретно к ветроэнергетическим установкам (ВЭУ), вырабатывающим электроэнергию в низкоскоростных ветропотоках.
Известна ветроэнергетическая установка (см. кн. Е.М. Фатеева "Ветродвигатели", Госэнергоиздат, Москва-Ленинград, 1945 г. стр. 128 131, Ветродвигатель ЦВЭИ Д-50), включающая башню, гондолу, ветроколесо с горизонтальной осью вращения, горизонтальный вал ветроколеса связан с мультипликатором, соединенным с генератором через гидромуфту.
Такое техническое решение обладает следующими недостатками:
- не обеспечено механическое торможение ВЭУ, что приводит к низкой безопасности эксплуатации ВЭУ;
- ВЭУ имеет большие габариты как самой установки, так и гондолы;
- большая масса ВЭУ, в том числе большая удельная масса;
- недостаточная надежность, прежде всего из-за наличия гидромуфты;
- ограничительный ресурс работы;
- увеличенная стоимость как самой установки, так и вырабатываемой ею электроэнергии;
- ограничение универсальности приспосабливаемости к условиям ветропотоков.
Известна ветроэнергетическая установка (см. описание к а.с. СССР N 1682621 от 06.06.89, кл. F 03 D 7/04,), содержащая башню, ветроколесо с лопастями, связанное с входным валом мультипликатора, чей выходной вал связан с входным валом раздаточного устройства, формирующего через выходные валы рабочий и технологический потоки, рабочий поток включает в себя маховики, муфты, генератор, а технологический пусковое устройство и муфту.
Система управления ВЭУ связана через выключаемые муфты с генераторами, маховиками и пусковым устройством.
В этой известной ВЭУ ветроколесо с лопастями связано с входным валом мультипликатора, выходной вал последнего продолжен по всей высоте башни и связан с первичным входным валом раздаточного устройства. Три вторичных (выходных) вала направлены относительно первичного в три стороны. Каждый из указанных валов направлен по отношению к соседнему под прямым углом.
Все механизмы потоков, как рабочие так и технологические, размещены на рамных конструкциях, опирающихся непосредственно или через бетонированную площадку о грунт, а и монтированных у основания башни.
Известная по а. с. N 1682621 ветроэнергетическая установка по существу выполняемой функции и по достигаемому результату является наиболее близкой к заявленной и поэтому выбрана в качестве прототипа.
Такое известное техническое решение обладает следующими недостатками:
- оно не обеспечивает выборочного размыкания каждого силового потока, что ограничивает возможности приспособления ВЭУ к реальной мощности ветропотока в особенности при низких скоростях ветропотока;
- количество силовых потоков ограничено тремя: два рабочие, один технологический;
- не обеспечивает механического торможения ВЭУ, что снижает безопасность эксплуатации ВЭУ, в особенности при возникновении нештатных ситуаций, в которых, например, ветроколесо может оказаться "отключенным" от нагрузки, что потенциально влечет за собой аварию, чаще всего разрушение ветроколеса;
- не обеспечивает плавное страгивание на начальной стадии разгона ВК, когда маховики еще не разогнаны, в особенности при низких температурах окружающего воздуха при загустевшей смазке и соответственно высоком сопротивлении трансмиссии, когда перевод трансмиссии во вращение сопровождается высокими динамическими нагрузками;
- невозможность практического размещения силовой и электрической систем компактно, например в гондоле, что по сути требует создания еще одного сооружения и увеличивает объем работ при сооружении ВЭУ;
- ВЭУ по такому решению имеет большую массу, как по физической величине, так и удельному показателю;
- недостаточную надежность;
- ограниченный ресурс из-за повышенного износа трансмиссии при ограничении мощности, отбираемой автономным потребителем в ситуации, когда, например, ВЭУ мощностью в десятки кВт "работает" на автономного потребителя, который отбирает мощность в единицы кВт и по существу происходит неэффективная выработка ресурса;
- недостаточную ремонтопригодность;
- потери электроэнергии при выходе из строя любого из силовых потоков;
- большую материалоемкость конструкции, так как, например, в конструкции этой известной ВЭУ применяется длинный вал между гондолой и установленным на земле раздаточным устройством, в свою очередь это приводит к повышенным вибродинамическим нагрузкам на ВЭУ при вращении протяженного вала.
Принципиально общая схема установки занимает большую площадь в силу крестообразного расположения потоков, входного, двух рабочих и технологического, относительно раздаточного механического устройства.
Указанные недостатки этого известного устройства в большинстве своем являются принципиальными и для ВЭУ классов мощности в десятки и первые сотни кВт, ориентированных на работу в условиях расширенного диапазона скоростей ветропотоков, в основном в сторону низких скоростей, и рассчитанных на работу как с сетью, так и с автономным потребителем не позволяют по существу создать современную практически эффективно применимую ВЭУ.
Задача, поставленная перед разработчиками настоящей ВЭУ, взаимосвязана по целому ряду факторов и условий.
Целью изобретения является:
- повышение надежности и безопасности работы ВЭУ за счет применения в ней дистанционно включаемых устройств торможения;
- расширение климатических и ветровых условий применения ВЭУ, что непосредственно связано с повышением эффективности путем обеспечения пуска ВЭУ при низких температурах и работы при низких скоростях ветропотоков - 2,5.3,0.3,5 м/с;
- снижение материалоемкости ВЭУ за счет применения плотной компоновки трансмиссии и электросилового оборудования в гондоле ВЭУ при минимальном ее объеме и габаритах;
- уменьшение нагрузок, действующих на силовую конструкцию ВЭУ за счет исключения протяженных элементов типа валов, передающих нагрузки;
- повышение отдачи мощности ВЭУ при минимальных габаритах и материалоемкости ВЭУ за счет расширения рабочих диапазонов скоростей ветропотоков;
- повышение ресурса ВЭУ за счет рационального использования рабочих потоков для выработки мощности, отдаваемой автономному потребителю, в условиях переменного потребления.
Поставленная цель не достигается простой суммой известных результатов, требуется комплексное решение, имеющее изобретательский уровень.
Поставленная цель достигается следующим образом.
ВЭУ содержит ветроколесо, которое установлено на полом валу и связано через соединительную зубчатую муфту с полым тихоходным валом раздаточного устройства, формирующего ряд рабочих энергетических потоков выработки мощности и технологический разгонно-тормозной поток, размещенные в гондоле ВЭУ.
Раздаточное устройство единый раздаточный мультипликатор выполняет одновременно функции распределения получаемой от ветроколеса механической мощности по рабочим потокам и функции мультипликатора, повышая частоту вращения.
Раздаточный многопоточный мультипликатор содержит корпус, входной тихоходный вал с центрально расположенным большим зубчатым колесом и ряд, например четыре периферийно односторонне и параллельно расположенных выходных быстроходных полых валов с малыми зубчатыми колесами, три из которых принадлежат рабочим потокам, а один технологическому потоку.
Каждый рабочий поток включает в себя устройство для сцепления, которое через дополнительный промежуточный вал, свободно пропущенный через выполненный полым выходной быстроходный вал раздаточного многопоточного мультипликатора, связывает быстроходный вал с входным тихоходным валом дополнительного автономного мультипликатора в рабочем потоке, который в свою очередь связан своим выходным быстроходным валом через муфты и маховик с электрогенератором.
Устройство для сцепления расположено со стороны ветроколеса относительно раздаточного мультипликатора, дополнительный автономный мультипликатор расположен с противоположной стороны раздаточного многопоточного мультипликатора и установлен на его корпусе.
Устройство для сцепления содержит выключаемую фрикционную муфту сцепления, включаемую и выключаемую с помощью нажимного элемента, связанного через пару "винт гайка" с планетарным редуктором и электродвигателем и и закреплено на корпусе раздаточного многопоточного мультипликатора.
Технологический поток содержит соединительную муфту, автономный планетарный мультипликатор, с выходным валом которого связано разгонное устройство стартер и механическое тормозное устройство.
Устройство управления положением лопастей ветроколеса размещено в зоне, образованной между рабочими и технологическим потоком, а его привод через полый вал многопоточного раздаточного мультипликатора и через полый вал ветроколеса связан с механизмом поворота лопастей.
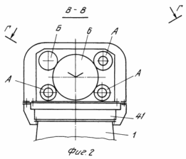
Приложенные чертежи изображают: фиг. 1 общий вид гондолы ветроэнергетической установки, фиг. 2 сечение В В гондолы (фиг. 1). Схема расположения рабочих энергетических потоков и технологического потока относительно большого зубчатого колеса раздаточного многопоточного мультипликатора, фиг. 3 сечение Г Г гондолы (фиг. 2). Схема рабочего энергетического и технологического потоков, устройств управления положения лопастей ветроколеса, фиг. 4 Вид А, фиг. 3, привод устройства управления положением ветроколеса.
![]() | ![]() |
![]() | На фигурах и в тексте обозначено: 1 башня ВЭУ, 2 ветроколесо, 3 - полый вал ветроколеса, 4 соединительная зубчатая муфта, 5 тихоходный вал, 6 раздаточный многопоточный мультипликатор, 7 корпус мультипликатора 6, 8 большое зубчатое колесо мультипликатора 6, 9 полый быстроходный вал, w- угловая скорость вращения ветроколеса. А рабочий энергетический поток: 10 малое зубчатое колесо, принадлежащее рабочим потокам, 11 малое зубчатое колесо, принадлежащее технологическому потоку, 12 устройство для сцепления в рабочем потоке, 13 - дополнительный промежуточный вал, 14 входной тихоходный вал дополнительного мультипликатора 15, 15 дополнительный автономный мультипликатор, 16 - быстроходный вал дополнительного мультипликатора 15, 17 муфта, 18 маховик, 19 генератор, 20 фрикционная муфта сцепления, 21 нажимной элемент муфты 20 (невращающаяся часть), 22, 23 пара "винт гайка" в муфте привода 20, 24 планетарный редуктор выключения муфты 20, 25 электродвигатель привода выключения муфты 20. |
![]() | Б технологический разгонно-тормозной поток: 26 стартер, 27 - подвижная шестерня, 28 шкив торможения, 29 дополнительное зубчатое колесо, 30 тормозные колодки, 31 автономный мультипликатор в технологическом потоке, 32 лопасти ветроколеса, 33 тяга привода поворота лопастей, 34 - винт, 35 червячное колесо, 36 гайка, 37 электродвигатель привода поворота лопасти, 38 электромагнитная муфта, 39 червяк, 40 гондола ВЭУ, 41 опорно-поворотное устройство ВЭУ, 42 система управления ВЭУ (на фиг. 3 обозначена условно), 43 источник электропитания ВЭУ (автономный). Обозначения элементов муфты 20 на фиг. 3: 44 упругий элемент (пружина), 45 ведущая обойма, связанная с валом 9, 46 ведущие диски, 47 ведомые диски, 48 подвижный (вращающийся) упор нажимного элемента муфты, 49 - подшипниковый узел. Знаком "Х" на фиг. 3 обозначены неподвижные соединения. |
Ветроэнергетическая установка (фиг. 1, 2, 3) содержит башню 1, ветроколесо 2, установленное в верхней части башни на полом валу 3 и связанное через соединительную зубчатую муфту 4 с полым тихоходным валом 5 раздаточного устройства 6, формирующего рабочие потока А фиг. и технологический поток Б, фиг. 3, единый раздаточный многопоточный мультипликатор 6 содержит корпус 7, входной тихоходный вал 5 с центрально расположенным большим зубчатым колесом 8 и ряд, например четыре периферийно односторонне и параллельно расположенных выходных полых быстроходных полых валов 9 с малыми зубчатыми колесами 10, 11, три из которых принадлежат рабочим потокам А фиг. 2, 3 и один - технологическому потоку Б, фиг. 3, каждый рабочий поток А фиг. 2, 3 включает в себя устройство для сцепления 12, которое через дополнительный промежуточный вал 13, свободно пропущенный через выполненный полым выходной быстроходный вал 9 раздаточного многопоточного мультипликатора 6, связывает быстроходный вал 9 с входным тихоходным валом 14 дополнительного автономного мультипликатора 15 рабочего потока А, который в свою очередь связан своим быстроходным валом 16 через муфты 17 и маховик 18 с электрогенератором 19, устройство для сцепления 12 расположено со стороны ветроколеса 2 относительно раздаточного мультипликатора 6, дополнительный автономный мультипликатор 15 расположен с противоположной стороны раздаточного многопоточного мультипликатора 6, и может быть установлено на его корпусе, устройство для сцепления 12 содержит выключаемую фрикционную муфту сцепления 20, включаемую и выключаемую с помощью нажимного элемента 21, связанного через пару "винт 22 гайка 23" с планетарным редуктором 24 и электродвигателем 25, который и может быть закреплен на корпусе раздаточного многопоточного мультипликатора 6, технологический поток "Б" содержит стартер 26, связанную с ним подвижную шестерню 27, шкив торможения 28, совмещенный с дополнительным зубчатым колесом 29, тормозные колодки 30, соединительную муфту 17, автономный планетарный мультипликатор 31, связанный с полым выходным валом и малым зубчатым колесом 11, технологического потока "Б" раздаточного мультипликатора 6, устройство управления поворотом лопастей 32 ветроколеса 2, включает в себя тягу 33 управления поворотом лопастей, оканчивающуюся винтом 34, и установлено между рабочими "А" и технологическим "Б" потоками, и содержит червячное колесо 35, жестко соединенное с гайкой 36, взаимодействующей с винтом 34 тяги 33 управления лопастями ветроколеса 2, и два электродвигателя 37, поочередно подключаемых через электромагнитные муфты 38, соответственно к противоположным концам червяка 39, полый вал 3 ветроколеса 2 пропущен внутрь гондолы 40, установленной посредством опорно-поворотного устройства 41 в верхней части башни 1, оборудование и механизмы рабочих потоков "А", и технологического "Б", а и системы управления 31, размещены в гондоле 39.
Ветроэнергетическая установка работает следующим образом
Рассмотрим общий случай при работе в низкоскоростных ветропотоках.
С помощью фрикционных муфт сцепления 20 производится отключение рабочих потоков "А" от раздаточного многопоточного мультипликатора 6. Ветроколесо 2 при этом через раздаточный многопоточный мультипликатор 6 и кинематически жестко связанный с ним технологический поток "Б" удерживается "нормально замкнутым" тормозом [4] в котором тормозные колодки 30 зажимают шкив торможения 28 (в зависимости от исходного состояния ВЭУ рабочие потоки перед началом работы уже могут быть отключены от ветроколеса, нами рассматривается общий случай пуска и работы ВЭУ).
По командам системы управления 42 тормозные колодки 30 растормаживают шкив 28, подвижная шестерня 27 стартера 26 входит в зацепление с дополнительным зубчатым колесом 29, установленным на шкиве торможения 28. Подавая питание на стартер от источника 43 (это может быть автономный источник питания ВЭУ или запитываемый через преобразователь из сети источник питания), производят разгон ветроколеса 2, изменяя при этом углы установки его лопастей от пусковых значений до рабочих. По достижению ветроколесом 2 заданной скорости вращения W, близкой к номинальной, отключают стартер 26, выводя подвижную шестерню 27 из зацепления с дополнительным зубчатым колесом 29, одновременно включая муфту 20 по меньшей мере в одном из рабочих потоков "А". Мощность от ветроколеса 2 через раздаточный мультипликатор 6 его большое зубчатое колесо 8, затем через полый быстроходный вал 9, поступает на входной вал 14 дополнительного автономного мультипликатора 15, оттуда последовательно через соединительные муфты 17 на маховик 18 и электрогенератор 19.
После подключения первого рабочего потока по этому алгоритму производится последовательное подключение других рабочих потоков.
Подводимая к рабочим потокам "А" мощность регулируется углом установки лопастей ветроколеса 2 с помощью устройства регулирования положения лопастей, в котором лопасти через тягу 33 связаны с винтом 34, а он в свою очередь с червячным колесом 35, червяком 39 и через электромагнитные муфты 38 с электродвигателями 37 (подробно устройство и работа системы управления положением лопастей ветроколеса рассмотрены в заявке N 94044922/06/045696 от 29.12.94 г. того же заявителя).
При подключении в помощью электромагнитных муфт 38 одного из электродвигателей 37 за счет вращения червяка 39 червячное колесо 35 приводит во вращение гайку 36, поступательно перемещая при этом винт 34, связанный с тягой 33, вдоль оси ветроколеса. Тяга 33 связана с механизмом поворота лопастей рычажного или шестеренчатого типа (конкретное его выполнение может быть различным, оно представляет собой независимое техническое решение и не является предметом настоящей заявки), например тяга 33 шарнирно связана с рычагом, жестко закрепленным на поворотном махе лопасти, или тяга 33 через зубчатую рейку взаимодействует с шестерней, и закрепленной на поворотном махе лопасти.
В варианте исполнения устройства управления положением лопастей ВЭУ, показанном на фиг. 3 и 4 поворот лопастей в прямом направлении производится основным электродвигателем 37, например правым на фиг. 4, который подключается с помощью электромагнитной муфты 38 к червяку 39 привода. Поворот лопастей в обратном направлении производится дополнительным электродвигателем 37, например левым на фиг. 4, который подключается к дополнительному входу червяка 39 привода.
В этом способе управления ветроэнергетической установкой (по заявке N 94044922/06/045696 от 29.12.94 г. который применен в рассматриваемой ветроэнергетической установке, электродвигатели постоянно вращаются каждый постоянно в своем направлении (противоположных, как показано на фиг. 4). При необходимости изменения направления поворота лопастей не требуется время на торможение, остановку и разгон электродвигателей 37, поэтому увеличивается быстродействие привода поворота лопастей, что обеспечивает повышение точности поддержания частоты вращения вала 3 ветроколеса 2.
При изменении скорости ветропотока производится регулирование подводимой к рабочим потокам "А" мощности за счет уменьшения отбора ее от ветропотока, если скорость ветропотока возрастает. Если скорость ветропотока снижается, лопасти ветроколеса выводятся на углы увеличения отбора мощности, а при дефиците мощности в ветропотоке, например, при провалах скорости ветра - ветровых паузах, недостающую мощность в течение некоторого времени - нескольких секунд, генератор 19 вырабатывает за счет отбора мощности от маховика 18, который при этом и поддерживает угловую скорость ветроколеса 2. Параметры маховиков 18 в рабочих потоках "А" выбраны, исходя из условия отдачи номинальной мощности потоком за время, превышающее продолжительность ветровой паузы, обычно это 2 3 с. при этом скорость вращения системы "ветроколесо маховик генератор" может изменяться на допустимую величину Dw, величина которой задается из допустимого изменения частоты вырабатываемого тока и возможностей системы стабилизации частоты. Например, в заявляемом решении в качестве конкретного примера при мощности рабочих потоков N 50 кВт момент инерции маховиков 18 в потоках выбран из продолжительности работы потока в режиме отдачи номинальной мощности в течение 4 секунд при падении скорости ветра с номинальной 6,0 м/с до 40% ее номинального значения в течении 3 секунд и изменении скорости вращения генератора за время 4 секунды Dw = 0,1wпри w = 1500 об/мин..
При снижении номинальной скорости ветропотока или увеличении продолжительности ветровых пауз, что сопровождается снижением вырабатываемой мощности по команде системы управления может производиться отключение отдельных рабочих потоков с помощью устройства сцепления 12, в которых электродвигатель 25 через планетарный редуктор 24 воздействуя на нажимной элемент 21 муфты 20 размыкает фрикционные диски 46, 47 муфты 20 и, тем самым, отключает выходной вал 9 раздаточного мультипликатора 6 от рабочего потока "А". Генератор 19 при этом выводится из сети или при работе на автономного потребителя производится отключение генератора от нагрузки.
При увеличении скорости ветра в зависимости от скорости вращения ветроколеса 2, углов установки его лопастей, а и измеряемой скорости ветропотока (при необходимости) по команде системы управления производится подключение рабочих потоков с введением генераторов в сеть или подключением их к автономной нагрузке.
При необходимости остановки ВЭУ после отключения по рассмотренному алгоритму всех рабочих потоков производится затормаживание ветроколеса 2 с помощью тормозных колодок 30, взаимодействующих с шкивом торможения 28. Лопасти ветроколеса 2 при этом выведены во флюгерное положение, что обеспечивает отсутствие подводимой к ветроколесу мощности от ветропотока. Напротив, лопасти ветроколеса во флюгерном положении при вращении создают тормозной аэродинамический момент, который облегчает затормаживание ветроколеса. Механический дистанционно управляемый тормоз, состоящий из тормозного шкива 28 и колодок 30 в выключенном состоянии "нормально замкнут", т.е. шкив 28 заторможен. Так как в технологическом потоке "Б" трансмиссия выполнена с жесткой кинематической связью ветроколеса 2 со шкивом 28 через раздаточный мультипликатор 6 и муфта сцепления отсутствует, заявляемое решение обладает повышенной надежностью и безопасностью эксплуатации.
Например, когда происходит авария и ВЭУ лишается связи с сетью и оказывается обесточенной это вероятно в случае выхода из строя генератора или устройств электросилового управления и связи с сетью, устройства 12 сцепления в рабочих потоках, запитываемые от независимого автономного энергоисточника 43 отключают рабочие потоки от раздаточного мультипликатора, лопасти ветроколеса переводятся во флюгерное положение, а тормозное устройство, лишенное питания, перестает удерживать колодки 30 в отведенном от шкива 28 положении, за счет чего возникает тормозной момент, останавливающий ветроколесо.
При нахождении ВЭУ в нерабочем состоянии ветроколесо удерживается в заторможенном состоянии, причем механический тормоз "отпускают" только при переводе ВЭУ в рабочее состояние перед пуском ветроколеса. Таким образом, исключается несанкционированный разгон ветроколеса и повышается безопасность работ на ВЭУ и безопасность эксплуатации.
Рассмотренное в заявляемом решении выполнение трансмиссии, рабочих и технологического потоков обеспечивает эффективный пуск ВЭУ при слабых ветрах и при низких температурах окружающего воздуха, когда известные ВЭУ при загустевшей смазке в трансмиссии требуют до десятков кВт мощности на преодоление сил трения, например, при t -40oC и слабом ветре, например, серийно производимая в настоящее время установка "АВЭ-250" требует 20 25 кВт мощности на поворот ветроколеса и трансмиссии при низких (до -30oC) температурах окружающего воздуха. В заявленном решении отключение рабочих потоков от вала ветроколеса позволяет резко снизить потери на трение в трансмиссии, а применение стартера для принудительного разгона ветроколеса обеспечивает быстрый и легкий пуск ВЭУ даже при низких температурах и слабых ветрах при малых энергозатратах. Например, для пуска ВЭУ мощностью 150 кВт при t -40oC и скорости ветра 4,0 м/с необходима мощность стартера 7,0 кВт при времени его работы 30 40 секунд [3] после чего ветроколесо имеет достаточную мощность для вращения, прогрева трансмиссии и начала работы ВЭУ в режиме отдачи мощности по меньшей мере с одним из рабочих потоков. При этом важно подчеркнуть, что операции разгона ветроколеса, подключения и отключения рабочих потоков производятся с плавной передачей крутящего момента в трансмиссии, что достигается за счет плавного включения-выключения фрикционных муфт 20.
Наличие маховиков 18 в системе вращающихся масс ветроколеса, элементов трансмиссии и генератора при возникновении колебаний мощности, поступающей от ветропотока при колебаниях скорости ветра, предполагает как рассмотрено выше не только прямой путь поступления мощности от ветроколеса на генератор, но и обратный от маховиков в рабочих потоках через трансмиссию на ветроколесо во время ветровых пауз. Наличие в цепях передачи мощности в рабочих потоках фрикционных муфт 20 исключает развитие автоколебательных процессов при колебаниях поступающей мощности от ветроколеса. Это достигается с одной стороны за счет ограничения передаваемого муфтами момента, например муфта "затянута" на 1, 3 величины момента, соответствующего номинальной мощности, а с другой диссипативным характером фрикционной связи в муфте, что приводит не только к ограничению возникающих колебаний, но и к быстрому их затуханию. При правильном подборе жесткостных и инерционных характеристик элементов трансмиссии при математическом моделировании работы ВЭУ рассмотренное построение трансмиссии позволяет практически полностью исключить автоколебательные явления при работе ВЭУ в условиях переменной скорости ветра, включая режимы недогрузки потоков, перегрузки, в том числе в режимах короткого замыкания генератора и внезапного (несанкционированного) срабатывания тормоза и ряде других нештатных ситуаций.
Следует отметить, что в заявляемой ВЭУ в качестве тормоза может использоваться не только механический тормоз, но и электромагнитный, например, гистерезисный, или сочетание механического и гистерезисного тормозов.
При сильных ветрах пуск ВЭУ значительно облегчен. Принудительного разгона ветроколеса при этом может не потребоваться, напротив, необходимо ограничение мощности, развиваемой ветроколесом, что достигается за счет установки лопастей ветроколеса 2 на соответственные углы.
Остановка ВЭУ при сильных ветрах происходит по тому же алгоритму, что и для рассмотренного выше общего случая работы.
Заявляемая ВЭУ позволяет создавать в общем случае любое количество силовых потоков, прежде всего рабочих энергетических и размыкать в процессе управления любой из них, добиваясь в любой момент нужной совокупности замкнутых по отношению к ветроколесу или разомкнутых силовых потоков, соответствующих реальной мощности ветропотока, мощности потребления на сеть или на автономного потребителя.
В заявляемом решении обеспечена возможность механического торможения ветроколеса. Обеспечена возможность механического торможения в сочетании с нужным количеством замкнутых и разомкнутых потоков или только разомкнутых потоков. Например, в ряде случаев может оказаться целесообразным торможение ветроколеса без отключения рабочих потоков (или одного рабочего потока).
Обеспечена возможность плавной через выключаемую фрикционную муфту сцепления передачи крутящего момента с выходных валов раздаточного многопоточного мультипликатора на автономный мультипликатор или, как вариант, на повышающую коробку перемены передач, и далее через маховик на генератор. Вариант касается возможного режима работы ветроколеса с переменной скоростью вращения "ступенчато переменной", для достижения максимального отбора мощности от ветропотока. В этом случае вместо дополнительного автономного мультипликатора 15 может применяться коробка перемены передач (повышающая) или мультипликатор 15 может быть выполнен с переменным передаточным числом.
ВЭУ позволяет практически разместить силовую, электрическую и даже электронную систему управления компактно в гондоле, поскольку механизмы и устройства силовых потоков направлены в одну и ту же сторону от раздаточного многопоточного мультипликатора и установлены параллельно друг другу, что позволяет реализовать пространственную компоновку трансмиссии и электросиловых агрегатов ВЭУ в гондоле, за счет чего достигается удобное обслуживание, уменьшены габариты гондолы и облегчены ремонтные работы.
Техническое решение настоящей ВЭУ может быть реализовано как в установке с горизонтальной, так и вертикальной осью вращения, что при наличии вышеуказанных качеств повышает универсальность.
В самом деле, в случае использования в заявляемом техническом решении для ВЭУ с вертикальной осью вращения нет необходимости в рамных конструкциях и промежуточных валах, монтируемых от ВК с мультипликатором к раздаточной коробке, имеющих большую протяженность, массу, к тому же понижавших надежность, как в прототипе. Настоящее техническое решение в этом случае позволяет уменьшить массу и удельную массу установки.
Возможность выборочного включения или выключения любого рабочего потока по мере необходимости в сочетании с прочими преимуществами установки позволяет, например, работать даже на одном рабочем потоке при неисправности остальных. При этом вырабатывается электроэнергия и проводится ремонт и устранение неисправностей на выключенных потоках.
Таким образом, с учетом изложенного удается повысить надежность, ресурс работы, ремонтопригодность ВЭУ. Соответственно возрастет количество и уменьшится стоимость вырабатываемой ВЭУ электроэнергии.
Одновременно уменьшаются расходы на ремонт в процессе эксплуатации ВЭУ.
Повышается ресурс ВЭУ: например, при мощности, развиваемой ветроколесом, менее номинальной, нет необходимости включать все рабочие потоки, за счет чего достигается сохранение ресурса, а при длительных периодах низких ветров возможно сменно-последовательное использование потоков с целью рациональной выработки ресурса.
Заявляемое устройство ориентировано прежде всего для использования в условиях низкоскоростных ветропотоков, для которых требования, предъявляемые к управлению ветроустановок более высокие, нежели в классических случаях.
Таким образом, заявляемое устройство является прогрессивным, а его использование позволяет добиться поставленной цели изобретения:
- повышает надежность и безопасность работы ВЭУ за счет применения в ней дистанционно включаемых устройств механического торможения;
- расширяет климатические и ветровые условия применения ВЭУ, что непосредственно связано с повышением эффективности путем обеспечения пуска ВЭУ при низких температурах окружающего воздуха и работы при низких скоростях ветропотоков 2,5.3,0.3,5 м/с;
- снижает материалоемкость ВЭУ за счет применения плотной пространственной компоновки трансмиссии и электросилового оборудования в гондоле ВЭУ при минимальном ее объеме и габаритах;
- уменьшает нагрузки, действующие на силовую конструкцию ВЭУ за счет исключения протяженных элементов типа валов, передающих нагрузки;
- повышает отдачу мощности ВЭУ при минимальных габаритах и материалоемкости ВЭУ за счет расширения рабочих диапазонов скоростей ветропотоков;
- повышает ресурс ВЭУ за счет рационального использования рабочих потоков для выработки мощности, отдаваемой автономному потребителю, в условиях переменного потребления мощности.
ИСТОЧНИКИ ИНФОРМАЦИИ
1. Е.М. Фатеев, "Ветродвигатели", М-Л.
Госэнергоиздат, 1945
2. Авторское свидетельство СССР N 1682621, кл. F 03
D 7/04 прототип.
3. "Ветроэнергетическая установка "ГЮРЗА" мощностью 50 150 кВт", Эскизный проект, М, 1993, НПО "Ветроэн" "Фирма "Общемаш-инжиниринг".
4. Тормоз колодочный. Тип ТКП 300 У2 ПВ 25% 220v, ТУ 24-1-1787-78.
ФОРМУЛА ИЗОБРЕТЕНИЯ
1. Ветроэнергетическая установка, содержащая башню, ветроколесо с валом, мультипликатор, раздаточное устройство, формирующее рабочие потоки, включающие маховик, муфту, генератор, и технологический поток, включающий пусковое устройство, отличающаяся тем, что она снабжена устройством для сцепления, дополнительными автономными мультипликаторами потоков, механическим тормозом, дополнительными зубчатым колесом и промежуточным валом, раздаточное устройство выполнено совмещенным с мультипликатором в виде единого раздаточного многопоточного мультипликатора, включающего входной тихоходный вал с центрально расположенным большим зубчатым колесом и ряды выходных валов, периферийно односторонне и параллельно расположенным с малыми зубчатыми колесами, каждый выходной быстроходный вал раздаточного многопоточного мультипликатора в рабочем потоке связан с входным тихоходным валом дополнительного автономного мультипликатора через устройство для сцепления и дополнительный промежуточный вал, свободно пропущенный через выполненный полым выходной быстроходный вал раздаточного многопоточного мультипликатора, разделяющего устройство для сцепления, расположенное со стороны ветроколеса, и дополнительный автономный мультипликатор, расположенный с противоположной относительно раздаточного многопоточного мультипликатора стороны, выходной быстроходный вал дополнительного автономного мультипликатора в рабочем потоке связан с маховиком, а в технологическом потоке с тормозом и пусковым устройством посредством дополнительного зубчатого колеса, совмещенного с барабаном тормоза.
2. Установка по п. 1, отличающаяся тем, что устройство для сцепления выполнено в виде выключаемой многодисковой фрикционной муфты с приводом.
3. Установка по пп.1 и 2, отличающаяся тем, что она снабжена редуктором и электродвигателем, последовательно соединенными между собой в приводе выключаемой муфты.
4. Установка по пп.1 3, отличающаяся тем, что она снабжена парой винт - гайка, причем винт связан с выходным валом редуктора, а гайка с толкателем выключаемой муфты сцепления.
5. Установка по пп.1 и 2, отличающаяся тем, что привод выключаемой муфты сцепления связан с системой управления.
6. Установка по п. 1, отличающаяся тем, что вал ветроколеса выполнен полым и связан с входным валом многопоточного мультипликатора через зубчатую муфту.
7. Установка по пп.1 и 6, отличающаяся тем, что лопасти выполнены поворотными, а приводные элементы системы поворота лопастей размещены внутри полых валов ветроколеса и тихоходного вала многопоточного мультипликатора.
8. Установка по п.1, отличающаяся тем, что тормоз выполнен механическим.
9. Установка по пп.1 и 8, отличающаяся тем, что тормоз выполнен колодочного типа.
10. Установка по п.1, отличающаяся тем, что тормоз выполнен электромагнитным.
11. Установка по п.1, отличающаяся тем, что дополнительные автономные мультипликаторы закреплены на корпусе раздаточного многопоточного мультипликатора соосно с его выходными валами.
12. Установка по пп.1 и 11, отличающаяся тем, что дополнительный автономный мультипликатор закреплен на корпусе раздаточного многопоточного мультипликатора с помощью фланцевого соединения.
Версия для печати
Дата публикации 02.04.2007гг
Created/Updated: 25.05.2018
|




