| Начало раздела Производственные, любительские Радиолюбительские Авиамодельные, ракетомодельные Полезные, занимательные | Хитрости мастеру Электроника Физика Технологии Изобретения | Тайны космоса Тайны Земли Тайны Океана Хитрости Карта раздела | |
| Использование материалов сайта разрешается при условии ссылки (для сайтов - гиперссылки) | |||
Навигация: => | На главную/ Каталог патентов/ В раздел каталога/ Назад / |
|
ИЗОБРЕТЕНИЕ
Патент Российской Федерации RU2205293
![]()
ВЕТРОЭЛЕКТРОСТАНЦИЯ
Имя изобретателя: Ханов Нафит Зарифович
Имя патентообладателя: Ханов Нафит Зарифович
Адрес для переписки: 450000, г.Уфа, Главпочтамт, а/я 1420, Н.З. Ханову
Дата начала действия патента: 2001.06.08
Изобретение относится к ветроэнергетике и может быть использовано для обеспечения электроэнергией различных потребителей. Технический результат, заключающийся в извлечении дешевой электроэнергии в неограниченном количестве, используя энергию ветра, обеспечивается за счет того, что ветроэлектростанция, содержащая башню с расположенным внутри валом и электрогенератор с роторными и статорными полюсами, согласно изобретению дополнительно содержит ободы, контактирующие с роликами башни, имеющей в нижней части поплавок в бассейне с водой, а в верхней части - шарнирно закрепленные стрелы с жалюзями на концах, поверх которых на вертикальной оси установлены флажки с ограничителями поворота, причем вал выполнен полым и совместно с роторными полюсами вращается с постоянной частотой и выполняет функции ротора генератора ветроэлектростанции, а башня совместно со статорными полюсами выполняет функции статора генератора ветроэлектростанции.
ОПИСАНИЕ ИЗОБРЕТЕНИЯ
Изобретение относится к ветроэнергетике и может быть использовано для обеспечения электроэнергией различных потребителей.
Известен карусельный ветродвигатель, который содержит поворотные лопасти, связанные с вертикальными стойками, опорную трубу, размещенный в ней вертикальный вал, кинематически связанный с лопастями и генератором, опорные диски с размещенными на них кольцевыми подпятниками, взаимодействующие с концами стоек. Ветродвигатель дополнительно содержит верхние и нижние водила, снабженные роликами, контактирующими с наружной поверхностью трубы и направляющими отверстиями, а концы стоек расположены в последних. Кроме того, ветродвигатель содержит электродвигатель с шестерней, связанный с кольцевым зубчатым венцом, установленным на опорном диске. Лопасти снабжены прорезями и связаны осями с кронштейнами, закрепленными на стойках, на концах которых установлены ролики (см., например, SU 1548503 А1, кл. F 03 D 5/02, 07.03.1990), по совокупности существенных признаков принятый за ближайший аналог (прототип) изобретения.
Недостатками ветродвигателя являются:
- малый крутящий момент на валу ротора генератора в силу близкого расположения
поворотных лопастей к центру вращения, а и рикошета ветра от их плоских
поверхностей при неперпендикулярном расположении их по отношению к направлению ветра;
- неавтоматизированность поворота опорного диска, а и инерционность по времени
реагирования на изменения направления ветра;
- нестабилизированность скорости вращения ротора генератора, а следовательно, и
частоты тока;
- повышенный шум от трущихся поверхностей;
- незащищенность от климатических воздействий (обледенение и т.д.).
Технический результат, заключающийся в извлечении дешевой электроэнергии в неограниченном количестве, используя энергию ветра, обеспечивается за счет того, что ветроэлектростанция, содержащая башню с расположенным внутри валом и электрогенератор с роторами и статорными полюсами, согласно изобретению дополнительно содержит ободы, контактирующие с роликами башни, имеющей в нижней части поплавок в бассейне с водой, а в верхней части - шарнирно закрепленные стрелы с жалюзями на концах, поверх которых на вертикальной оси установлены флажки с ограничителями поворота, причем вал выполнен полым и совместно с роторными полюсами вращается с постоянной частотой и выполнят функции ротора генератора ветроэлектростанции, а башня совместно со статорными полюсами выполняет функции статора генератора ветроэлектростанции.
![]() | ![]() |
![]() | |
На фиг.1 изображена ветроэлектростанция (ВЭС) общий вид;
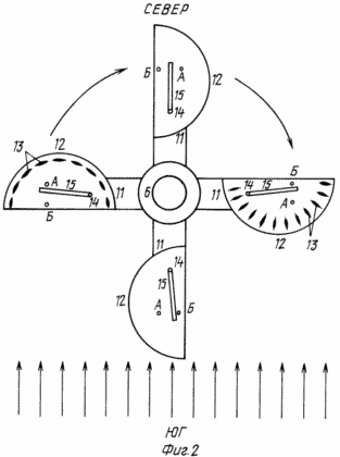
на фиг. 2 - взаимодействие флажков и створок при различных положениях жалюзи
относительно направления ветра;
на фиг.3 - схема стабилизации частоты вращения ротора генератора ВЭС.
Ветроэлектростанция (ВЭС) состоит из башни 1, внутри которой в нижней части имеется бассейн 2 с водой. На внутренней поверхности башни 1 закреплены полюса 3 статорных обмоток генератора ВЭС, а и ролики 4. Башня 1 совместно со статорными полюсами 3 выполняет функции статора генератора, а и корпуса ВЭС.
В бассейн 2 с водой помещен поплавок 5, в центре которого вертикально закреплен полый вал 6, на наружной поверхности которого закреплены обода 7, контактирующие с роликами 4 башни 1, а и полюса 8 роторных обмоток, выполняющие совместно с полым валом 6 функции ротора генератора ВЭС.
На верхней части полого вала 6 горизонтально и шарнирно, куда входят кронштейны 9 и шкворни 10, крепятся стрелы 11, на концах которых крепятся жалюзи 12 со створками 13.
Поверх жалюзи 12 на вертикальной оси 14 установлены флажки 15, а и ограничители поворота флажка 15 А и 15 Б.
Стрелы 11 с жалюзями 12 поддерживаются в горизонтальном положении на тросах 16, верхние концы которых крепятся на верхней части полого вала 6.
ВЕТРОЭЛЕКТРОСТАНЦИЯ РАБОТАЕТ СЛЕДУЮЩИМ ОБРАЗОМ
При движении жалюзи 12 с южного положения по часовой стрелке до северного флажок 15 под давлением ветра прижимается к ограничителю "А", при этом электроконтакты флажка 15 замыкаются, соединяя электрически соленоиды створок 13 с электронной схемой стабилизации частоты вращения ротора 6 генератора ВЭС.
При движении жалюзи 12 с северного положения по часовой стрелке до южного флажок 15 под давлением ветра прижимается к ограничителю "Б", размыкая электроконтакты и рассоединяя соленоиды створок 13 от электронной схемы стабилизации (ЭСС) частоты вращения ротора генератора ВЭС. ЭСС имеет возможность управлять соленоидами створок 13 только при замкнутых электроконтактах флажка 15, т. е. при движении жалюзи 12 от южного положения по часовой стрелке до северного.
С подачей напряжения питания на ЭСС генератор стандартной частоты (ГСЧ) в 50 Гц начинает выдавать стабильно частоту на первый вход схемы сравнения (СС). В начальный момент на второй вход СС не поступает частота тока от генератора ВЭС, в силу чего СС через замкнутые электроконтакты флажка 15 подает напряжение на соленоиды, закрывающие створки 13 жалюзи 12. С закрытием створок 13, которые расположены полукругом, жалюзи 12 начинают воспринимать давление ветра и перемещаться по окружности, вращая полый вал 6, являющийся совместно с полюсами ротором генератора ВЭС. С началом вращения ротора 6 генератор ВЭС начинает вырабатывать ток с меньшей частотой, чем 50 Гц, которая подается на второй вход СС. СС, улавливая несовпадение частот, не выключает ранее поданное напряжение на соленоиды створок через замкнутые электроконтакты флажка 15.
С увеличением частоты вращения ротора 6 частота тока на втором входе СС увеличивается до 50 Гц. В момент совпадения частот генератора ВЭС и ГСЧ схема сравнения через замкнутые электроконтакты флажка 15 обесточивает соленоиды створок 13.
При этом створки 13 с помощью пружин открываются, в силу чего жалюзи 12 не воспринимают давление ветра. Вследствие этого происходит замедление скорости вращения ротора 6, что ведет к уменьшению частоты тока, поступающего на второй вход СС.
Появившиеся несовпадение частот на первом и втором входах улавливается СС. СС, реагируя на несовпадение двух частот через замкнутые электроконтакты флажка 15, подает напряжение на соленоиды створок 13, жалюзи 12 которых закрываются. Жалюзи 12 вновь начинают воспринимать давление ветра, что ведет к ускорению частоты вращения ротора 6 до совпадения частот тока генератора с частотой, выдаваемой ГСЧ.
ФОРМУЛА ИЗОБРЕТЕНИЯ
Ветроэлектростанция, содержащая башню с расположенным внутри валом и электрогенератор с роторными и статорными полюсами, отличающаяся тем, что дополнительно содержит ободы, контактирующие с роликами башни, имеющей в нижней части поплавок в бассейне с водой, а в верхней части шарнирно закрепленные стрелы с жалюзями на концах, поверх которых, на вертикальной оси, установлены флажки с ограничителями поворота, причем вал выполнен полым и совместно с роторными полюсами вращается с постоянной частотой и выполняет функции ротора генератора ветроэлектростанции, а башня, совместно со статорными полюсами, выполняет функции статора генератора ветроэлектростанции.
Версия для печати
Дата публикации 11.01.2007гг
Created/Updated: 25.05.2018
|



