| Начало раздела Производственные, любительские Радиолюбительские Авиамодельные, ракетомодельные Полезные, занимательные | Хитрости мастеру Электроника Физика Технологии Изобретения | Тайны космоса Тайны Земли Тайны Океана Хитрости Карта раздела | |
| Использование материалов сайта разрешается при условии ссылки (для сайтов - гиперссылки) | |||
Навигация: => | На главную/ Каталог патентов/ В раздел каталога/ Назад / |
|
ИЗОБРЕТЕНИЕ
Патент Российской Федерации RU2235901
![]()
ВЕТРОДВИГАТЕЛЬ
Имя изобретателя: Колесников В.Д. (RU); Колесников Д.В. (RU); Колесников П.В. (RU)
Имя патентообладателя: КОЛЕСНИКОВ Валерий Дмитриевич (RU); КОЛЕСНИКОВ Дмитрий Валерьевич (RU); КОЛЕСНИКОВ Павел Валерьевич (RU)
Адрес для переписки: 12900, Саратовская обл., г.Вольск, Пролетарский пер., 9, кв.32, В.Д.Колесникову
Дата начала действия патента: 2001.07.06
Изобретение относится к ветроэнергетике и может быть использовано для привода в движение рабочих органов электрогенераторов, насосов и других механизмов. Технический результат заключается в повышении коэффициента использования энергии ветра и создании ветродвигателя, способного самостоятельно разгоняться за счет аэродинамической подъемной силы лопастей. Ветродвигатель содержит вал, закрепленные на нем радиальные траверсы и шарнирно связанные с ними профилированные лопасти. Ось шарниров каждой лопасти смещена от центра тяжести лопасти и фокуса аэродинамического профиля в сторону его носка, а лопасти закреплены в шарнирах с возможностью свободно поворачиваться в пределах секторов, ограниченных механическими упорами.
ОПИСАНИЕ ИЗОБРЕТЕНИЯ
Изобретение относится к ветроэнергетике - использованию энергии ветра для привода в движение рабочих органов электрогенераторов, насосов и других механизмов.
Известные ветродвигатели с вертикальной осью вращения имеют преимущество перед крыльчатыми ветродвигателями с горизонтальной осью вращения, так как не требуют ориентации своего рабочего органа - ротора по отношению к воздушному потоку. В таких двигателях используется подъемная сила лопастей - крыльев, неподвижно закрепленных на роторе, для создания на валу ротора крутящего момента. Это, так называемые, ветродвигатели системы Дарье (Шефтер Я.И. Использование энергии ветра. М.: Энергоиздат. 1983. С.71, 72). Основным недостатком таких двигателей является необходимость в принудительной раскрутке ротора, после чего ротор начинает сам отдавать энергию. Это связано с тем, что при малых числах Z (отношение окружной скорости лопасти к скорости ветра) только на небольшой части круговой траектории движения лопасти существуют условия для безотрывного обтекания. Так, например, при Z=1 такие условия существуют только на 8% траектории. Поэтому область применения ветродвигателей системы Дарье ограничена, как правило, работой с электрогенераторами, которые могут использоваться в режиме запуска как электродвигатели (Абдрахманов Р.С., Переведенцев Ю.П. Возобновляемые источники энергии. Казань, изд-во Казанского университета, 1992, с.77, 78).
Известны технические решения, в которых сделаны попытки создания ветродвигателей с вертикальной осью вращения, способных самостоятельно разгоняться до рабочих скоростей вращения. В таких ветродвигателях предусматривается применение систем автоматического регулирования (CAP) положения лопастей к набегающему потоку (Изобретатель и рационализатор. 1987, N 9. С.8, 9). CAP содержит устройство измерения скорости и направления воздушного потока, вычислительный комплекс и устройство принудительного поворота лопастей в положения, при которых момент аэродинамических сил, действующих на ротор ветродвигателя, имеет максимальное значение. Применение CAP, по мнению авторов, может быть оправдано только на ветродвигателях большой мощности (более 1000 кВт) по экономическим соображениям. Известно и техническое решение (а.с. SU 1456638 А1), выбранное авторами в качестве прототипа, в котором роль регуляторов положения лопастей относительно воздушного потока выполняют аэродинамические поверхности - стабилизаторы, закрепленные па лопастях. Сами же лопасти закреплены на траверсах ротора шарнирно и от свободного углового перемещения удерживаются упругими элементами с изменяемой посредством центробежных регуляторов жесткостью. Причем ось, относительно которой возможно угловое перемещение лопасти, проходит по центру тяжести лопасти. Для этого конструкцией ветродвигателя предусмотрены противовесы, уравновешивающие вес стабилизаторов. Основным недостатком прототипа авторы считают то, что стабилизаторы, выполнив свою роль при разгоне ротора, становятся аэродинамическими тормозами при рабочих скоростях вращения ротора, тем самым снижая коэффициент использования энергии ветра. Кроме того, наличие в конструкции шарнирных узлов упругих элементов с регулируемой жесткостью, центробежных регуляторов жесткости, стабилизаторов усложняет ветродвигатель, ухудшает его экономические характеристики. Поэтому задачей, на решение которой направлено предлагаемое изобретение, является создание ветродвигателя с вертикальной осью вращения, использующего аэродинамическую подъемную силу лопастей, способного самостоятельно разгоняться. Другая задача изобретения состоит в повышении коэффициента использования энергии ветра по сравнению с прототипом.
Решение указанных задач достигается созданием ротора со свободно поворачивающимися относительно продольной оси профилированными лопастями (имеющими в поперечном сечении аэродинамический профиль) - в пределах секторов с углами до 60°. Причем ось углового перемещения лопасти, являющаяся и осью шарниров каждой лопасти, смещена относительно центра тяжести и фокуса аэродинамического профиля лопасти в сторону носка профиля. Роль регулятора текущего положения лопасти по отношению к набегающему потоку на стороне ротора, обращенной к ветру, выполняет взаимодействие моментов сил аэродинамических и центробежной. Это позволяет отказаться от применения стабилизаторов и тем самым исключить потери энергии, связанные с аэродинамическим сопротивлением стабилизаторов на рабочих скоростях работы ветродвигателя.
На стороне ротора, обращенной от ветра, нет условий для реализации указанного способа регулирования положения лопастей относительно потока, моменты аэродинамических и центробежной сил не уравновешиваются взаимно. Лопасти, прижимаясь к упорам, занимают такое же положение, как на роторе с неподвижно закрепленными лопастями.
![]() | ![]() |
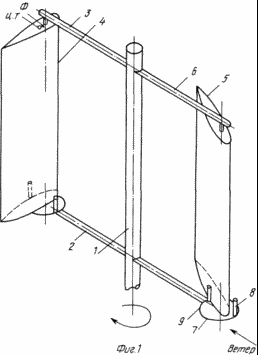
На фиг.1 изображено предлагаемое изобретение - ветродвигатель с вертикальной осью вращения, где приняты следующие обозначения: 1 - вал ротора ветродвигателя; 2, 3 - радиальные траверсы; 4, 5 - профилированные лопасти; 6 - шарнирные подшипниковые узлы; 7 - пластины с механическими упорами; 8, 9 - механические упоры; ЦТ - центр тяжести крыла; Ф - фокус аэродинамического профиля. На фиг.2 представлены расчетные развернутые эпюры безразмерных моментов сил для одного крыла на всей круговой траектории движения при Z=1 и Z=5.
На ступицах вертикального вала 1 закреплены радиальные траверсы 2, 3, которые вместе с валом и профилированными лопастями 4, 5 образуют ротор, удерживаемый в вертикальном положении оттяжками. Лопасти закреплены на концах траверс посредством шарнирных подшипниковых узлов 6 с возможностью свободного поворота относительно продольных осей, в пределах сектора до 60°, причем ось вращения смещена от линии фокуса и центра тяжести лопасти в сторону носка профиля настолько, чтобы выполнялось условие равенства моментов сил инерции и аэродинамических. На нижних траверсах закреплены подвижные основания - пластины 7 с упорами 8, 9, ограничивающими разрешенные сектора поворота лопастей.
Из состояния покоя ротор ветродвигателя выводится моментами сил, связанными с разностью давлений скоростного напора ветра на носовые и хвостовые части лопастей в случае, если ротор имеет две лопасти, и они расположены так, что лопасть, находящаяся на стороне ротора, обращенной к ветру, не достигает упора 9. Дальнейший поворот ротора приводит к тому, что под действием момента аэродинамических сил одна из лопастей, поворачиваясь в шарнирах, достигает упора 9 и начинает вращать ротор. На стороне ротора, обращенной от ветра, при Z<1 лопасти опираются на упоры 8 и, в основном, обращены к суммарному вектору скоростного напора с закритическими углами атаки, тем не менее, направление моментов аэродинамических сил остается положительным, т.е. не противодействует вращению ротора. Дальнейшее увеличение скорости вращения ротора вызывает увеличение моментов аэродинамических сил на всей круговой траектории движения лопастей. На стороне ротора, обращенной к ветру, положение лопасти по отношению к вектору скоростного напора определяется равенством моментов сил аэродинамических и центробежной. На стороне ротора, обращенной от ветра, лопасть прижата к упору 8.
При достижении угловой скорости, при которой Z=3, лопасти на всей траектории движения прижимаются центробежными силами к упорам 8 и ветродвигатель работает как обычный ветродвигатель системы Дарье. Однако в отличие от прототипа в предлагаемом изобретении отсутствуют потери энергии, связанные с аэродинамическим сопротивлением стабилизаторов, что позволяет повысить коэффициент использования энергии ветра по сравнению с прототипом.
Развернутые эпюры безразмерных моментов сил для ротора с одной лопастью при Z=1 и Z=5 представлены на фиг.2. Для вычисления моментов сил использовались поляры круговой продувки крыла с симметричным профилем. Управление скоростью вращения ротора осуществляется изменением положения подвижных пластин 7. Этим достигается изменение положения упоров 8 и соответственно - лопастей, находящихся на стороне ротора, обращенной от ветра. Удаление упора 8 от центра ротора сначала вызовет уменьшение угла атаки лопасти, а затем и переход его на отрицательные значения, при которых момент вращения, передаваемый лопастью ротору, станет отрицательным, в результате прирост скорости в зависимости от положения упора 8 либо прекратится, либо ротор будет замедлять вращение. Поворот пластины 7 с упором 8 на 90° относительно осей качания крыльев приведет к остановке ротора.
ФОРМУЛА ИЗОБРЕТЕНИЯ
Ветродвигатель, содержащий вал, закрепленные на нем радиальные траверсы, шарнирно связанные с ними профилированные лопасти, отличающийся тем, что ось шарниров каждой лопасти смещена от центра тяжести лопасти и фокуса аэродинамического профиля в сторону его носка, а лопасти закреплены в шарнирах с возможностью свободно поворачиваться в пределах секторов, ограниченных механическими упорами.
Версия для печати
Дата публикации 30.01.2007гг
Created/Updated: 25.05.2018
|


