| Начало раздела Производственные, любительские Радиолюбительские Авиамодельные, ракетомодельные Полезные, занимательные | Хитрости мастеру Электроника Физика Технологии Изобретения | Тайны космоса Тайны Земли Тайны Океана Хитрости Карта раздела | |
| Использование материалов сайта разрешается при условии ссылки (для сайтов - гиперссылки) | |||
Навигация: => | На главную/ Каталог патентов/ В раздел каталога/ Назад / |
|
ИЗОБРЕТЕНИЕ
Патент Российской Федерации RU2151322
![]()
ВЕТРОДВИГАТЕЛЬ ДЛЯ ВЕТРЯКА
Имя изобретателя: Алиев А.С.
Имя патентообладателя: Дагестанский государственный университет
Адрес для переписки: 367025, г.Махачкала, ул. М. Гаджиева 43а, ДГУ, Отдел интеллектуальной собственности
Дата начала действия патента: 1999.01.18
Изобретение относится к ветроэнергетике, а именно к устройствам для преобразования энергии ветра в электрическую. Технический результат заключается в стабилизации скорости вращения выходного вала независимо от скорости ветра и достигается тем, что в ветродвигателе, содержащем корпус, вал и колесо с лопастями, установленными с возможностью поворота относительно их осей, у корневой части которых закреплены рычаги с катками, взаимодействующие с диском, жестко закрепленным с флюгером и шарнирно установленным на валу, ветродвигатель снабжен дополнительно центробежным регулятором скорости вращения, платформой, установленной с возможностью вертикального перемещения относительно диска, и стержнем, взаимодействующим с платформой и ползуном центробежного регулятора скорости вращения, а и наклонными пластинами, с помощью которых платформа шарнирно соединена с диском, при этом платформа перекрывает половину диска, граница раздела которых совпадает с плоскостью флюгера
ОПИСАНИЕ ИЗОБРЕТЕНИЯ
Изобретение относится к устройствам для преобразования энергии текучей среды и может быть использовано в ветроэлектрогенераторах.
Известно устройство для использования энергии текучей среды, содержащее колесо с лопастями, установленными с возможностью поворота относительно их осей. При этом каждая лопасть разделена осью на две части с неравными площадями [1].
Однако известное устройство работает только под водой при постоянном направлении течения воды. Это ограничивает возможность его применения, в частности, в ветроэнергетических установках, где направление ветра часто меняется.
Наиболее близким устройством того же назначения к заявляемому изобретению по совокупности признаков является устройство для использования энергии текучей среды, принятое в качестве прототипа [2].
Прототип содержит вал, установленный с возможностью вращения на основании, закрепленный на валу корпус с плоскими лопастями, поворотными относительно осей, снабженными рычагами. На концах рычагов установлены катки. При этом устройство снабжено флюгером и жестко связанным с ним кулачковым диском, шарнирно установленным на валу и взаимодействующим с катками. Рычаги с катками взаимодействуют с продольной поверхностью кулачкового диска и в результате лопасти принудительно меняют свою ориентацию.
К причинам, препятствующим достижению указанного ниже технического результата при использовании известного устройства, принятого за прототип, является то, что скорость вращения вала пропорциональна скорости ветра, которая меняется в широких пределах. Это ограничивает возможность его применения в электрогенераторах.
Задача заявляемого изобретения заключается в синхронизации скорости вращения выходного вала ветродвигателя.
Технический результат при осуществлении изобретения заключается в том, что стабилизируется скорость вращения вала двигателя вне зависимости от диапазона изменения скорости ветра. Это расширяет возможности его применения в ветроэлектрогенераторах.
Указанный технический результат при осуществлении изобретения достигается тем, что ветродвигатель, содержащий корпус, вал и колесо с лопастями, установлен с возможностью поворота относительно их осей. У корней части осей закреплены рычаги с катками, взаимодействующие с диском, на котором жестко закреплен флюгер и шарнирно установлен на валу. Введены следующие дополнительные признаки.
Ветродвигатель снабжен центробежным регулятором скорости вращения, платформой, установленной с возможностью вертикального перемещения относительно диска, и стержнем, взаимодействующим с платформой и ползуном центробежного регулятора скорости вращения.
Кроме того, двигатель снабжен наклонными пластинами, с помощью которых платформа шарнирно соединена с диском, при этом платформа перекрывает половину диска, граница раздела которых совпадает с плоскостью флюгера.
![]() | ![]() |
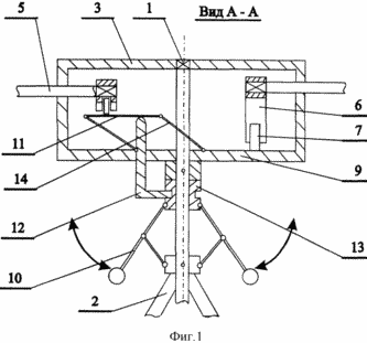
На фиг. 1 представлена конструкция ветродвигателя в сечении А-А. На фиг. 2 - вид сверху по фиг. 1.
Ветродвигатель содержит вал 1, установленный с возможностью вращения на основании 2, закрепленный на валу корпус 3 с плоскими лопастями 4, поворотными относительно осей 5, снабженными рычагами 6, на концах которых установлены катки 7. При этом двигатель снабжен флюгером 8 и жестко связанным с ним диском 9, шарнирно установленным на валу и взаимодействующим с катками. Кроме того, ветродвигатель содержит центробежный регулятор скорости вращения 10, платформу 11, установленную с возможностью вертикального перемещения относительно диска, и стержень 12, взаимодействующий с ползуном 13 центробежного регулятора скорости вращения. Двигатель снабжен и наклонными пластинами 14, с помощью которых платформа шарнирно соединена с диском.
ВЕТРОДВИГАТЕЛЬ РАБОТАЕТ СЛЕДУЮЩИМ ОБРАЗОМ
Неподвижное основание 2 обеспечивает необходимую высоту расположения ветродвигателя для эффективной и безопасной его работы.
Вал 1 шарнирно установлен на основании 2, имеет вертикальное положение и возможность свободного вращения.
Корпус 3 двигателя установлен на валу неподвижно. Это может быть обеспечено с помощью шпонки, штифта или шлицевого их соединения. Таким образом, корпус 3 вращается совместно с вертикальным валом 1 относительно неподвижной платформы 2.
По периферии корпуса на одинаковом расстоянии друг от друга шарнирно устанавливаются не менее трех лопастей 4. На фиг. 1 ветродвигатель имеет шесть лопастей, установленные через 360o/N = 60 градусов, где N - число лопастей.
Каждая из лопастей имеет свою ось 5. Оси разделяют плоскости лопастей 4 на две части с неравными площадями. Оси устанавливаются на корпусе 3 шарнирно, имеют радиальное направление и находятся в одной плоскости, перпендикулярной валу (см. фиг. 2).
Лопасти снабжены рычагами 6, закрепленными одними своими концами на осях 5 у корневой их части. На других концах рычагов установлены катки 7.
Ветродвигатель снабжен флюгером 8, жестко связанным с диском 9.
Диск 9 концентрично и шарнирно установлен на валу. Он имеет возможность вращения вокруг оси вместе с флюгером при изменении направления ветра.
На диске 9 шарнирно установлена платформа 11 с возможностью вертикального параллельного перемещения относительно диска.
Для этого служат три наклонные пластины 14. С помощью плоских шарниров (петель) пластины закреплены к платформе и диску. При соединении они образуют параллелограмм. При изменении наклона пластины в пределах x = 0-45o платформа перемещается от самого нижнего положения, совпадающего с плоскостью диска, до самого верхнего.
Линия, разделяющая границу раздела диска и краев платформы, совпадает с плоскостью флюгера 8. Пара наклонных пластин 14 установлена в указанной плоскости. Третья пластина образует противоположную сторону параллелограмма.
Под действием разности давлений потока ветра на две несимметричные половины лопастей рычаги с катками взаимодействуют с верхними поверхностями платформы и диска.
Флюгер 8 под давлением косого потока ветра устанавливается параллельно потоку и ориентирует диск 9 с платформой 11 с наклонными пластинами 14, установленными в диаметральной плоскости диска, совпадают с плоскостью флюгера, т.е. направлением потока ветра.
Рычаги с катками в результате взаимодействия с поверхностями платформы 11 и диска 9 принудительно меняют ориентацию лопастей 4. Лопасти с помощью рычагов 6, взаимодействующих с платформой, справа от диаметральной плоскости, располагаются перпендикулярно потоку, а левые лопасти, взаимодействующие с поверхностью диска, - параллельно потоку. При таком расположении лопастей ветроколесо приобретает левое (против часовой стрелки) вращение при взгляде сверху на фиг. 2.
Лопасти с каждым оборотом ветроколеса, поворачиваясь относительно своих продольных осей в пределах 0-90o, занимают наиболее выгодное положение и создают максимальный момент вращения.
Для синхронизации скорости вращения ветроколеса на валу 1 установлен центробежный регулятор скорости вращения 10. При увеличении скорости ветра скорость вращения вала 1 увеличивается и ползун 13 центробежного регулятора смещается вниз. В паз ползуна 13 входит Г-образная головка стержня 12 (см. фиг. 2).
Стержень прямоугольного сечения имеет возможность вертикального перемещения по отверстию через диск. Другой конец стержня упирается в платформу 11. Таким образом, ползун центробежного регулятора скорости вращения 10 через стержень 12 взаимодействует с платформой 11.
При слабом ветре ползун 13 и, следовательно, платформа 11 находится в самом верхнем положении. Взаимодействие платформы с рычагами 6 в этом случае принудительно устанавливают плоскости лопастей справа от диаметральной плоскости (см. фиг. 2) перпендикулярно потоку ветра.
При увеличении скорости ветра скорость вращения вала возрастает и ползун центробежного регулятора скорости вращения 10 смещается вниз. Это приводит к соответствующему смещению вниз стержня 12 и взаимодействующей с ним платформы 11.
При этом взаимодействие платформы с рычагами устанавливают плоскости лопастей под углом к направлению потока ветра.
Эффективная площадь лопастей, создающих момент вращения, уменьшается, что приводит к уменьшению и скорости вращения вала двигателя.
Таким образом устанавливается динамическое равновесие, при котором ветроколесо вращается с относительной постоянной скоростью вращения независимо от диапазона изменения скорости вращения.
Изменяя массу центробежных грузов и размеры плеч регулятора скорости вращения, а и величины относительного подъема платформы, можно достичь различных скоростей и точности синхронизации вращения ветродвигателя.
Предложенная конструкция ветродвигателя повышает чувствительность к слабым потокам ветра и производительность работы устройства.
Синхронизация скорости вращения ветроколеса расширяет диапазон возможных применений ветроколеса, позволяет использовать его в ветроэлектрогенераторах.
ИСТОЧНИКИ ИНФОРМАЦИИ
1. Патент СССР N 11093. М.кл5 F 03 B 3/14, 1926 г.
2. Алиев А.С., Челябов И.М., Чумаков С.А. Устройство для преобразования энергии текучей среды. Патент России по заявке 4897568/29, 1990 г. (прототип).
ФОРМУЛА ИЗОБРЕТЕНИЯ
Ветродвигатель, содержащий корпус, вал и колесо с лопастями, установленными с возможностью поворота относительно их осей, у корневой части которых закреплены рычаги с катками, взаимодействующие с диском, на котором жестко закреплен флюгер и шарнирно установлен на валу, отличающийся тем, что снабжен дополнительно центробежным регулятором скорости вращения, платформой, установленной с возможностью вертикального перемещения относительно диска, и стержнем, взаимодействующим с платформой и ползуном центробежного регулятора скорости вращения, а и, наклонными пластинами, с помощью которых платформа шарнирно соединена с диском, при этом платформа перекрывает половину диска, граница раздела которых совпадает с плоскостью флюгера.
Версия для печати
Дата публикации 31.01.2007гг
Created/Updated: 25.05.2018
|


