| Начало раздела Производственные, любительские Радиолюбительские Авиамодельные, ракетомодельные Полезные, занимательные | Хитрости мастеру Электроника Физика Технологии Изобретения | Тайны космоса Тайны Земли Тайны Океана Хитрости Карта раздела | |
| Использование материалов сайта разрешается при условии ссылки (для сайтов - гиперссылки) | |||
Навигация: => | На главную/ Каталог патентов/ В раздел каталога/ Назад / |
|
ИЗОБРЕТЕНИЕ
Патент Российской Федерации RU2078249
![]()
ВОЛНОВАЯ ЭНЕРГЕТИЧЕСКАЯ УСТАНОВКА
Имя изобретателя: Агеев М.Д.
Имя патентообладателя: Институт проблем морских технологий Дальневосточного отделения РАН
Адрес для переписки:
Дата начала действия патента: 1993.01.11
Использование: в качестве источника энергии для навигационных и океанографических буев и на яхтах для подзарядки аккумуляторов.
Сущность изобретения: в корпусе расположена опора в виде рамы с вертикальными направляющими. Механический преобразователь содержит инерционное тело в виде груза, контактирующего с вертикальными направляющими и имеющего закрепленную на раму упругую подвеску и генератор переменного тока. Упругая подвеска снабжена установленными на верхней части рамы блоками и охватывающей их гибкой тягой, которая соединяет инерционное тело с упругим элементом подвески. Упругий элемент закреплен на основании рамы, установлен параллельно направляющим со стороны обратной их контакта с телом. Вал генератора кинематически соединен с валом одного из блоков. Аккумулятор подключен к генератору через диодный выпрямитель и трансформатор с изменяющимся коэффициентом трансформации. Регулятор соединен с выходом генератора и аккумулятором. Нагрузочное устройство и устройство изменения коэффициента трансформации подключены к регулятору.
ОПИСАНИЕ ИЗОБРЕТЕНИЯ
Изобретение относится к гидроэнергетике и может быть использовано в волновых энергетических установках в качестве источника энергии для навигационных и океанографических буев, а и на морских яхтах для подзарядки аккумуляторов.
Известна волновая энергетическая установка (а.св. СССР N 1596125, кл. F 03 B 13/12, 1987). Установка содержит неподвижную опору и поплавок, соединенный с преобразователем при помощи замкнутой тросовой петли, шкивов двух тросовых барабанов, установленных на горизонтальном валу, имеющем возможность одностороннего вращения. Один из шкивов выполнен подпружиненным. При волнении поплавок перемещает петлю, приводящую во вращение при помощи шкивов и барабанов горизонтальный вал, который установлен с возможностью одностороннего вращения и кинематически связан с преобразователем. Данная волновая установка выполнена стационарной и устанавливается на берегу моря или океана.
Недостатками данной установки являются: принципиальная необходимость иметь жесткую опору, связанную с грунтом, сложность и громоздкость механизма преобразования, что не позволяет использовать его в качестве аналогичного элемента в источнике энергии в океанографических и навигационных буях.
Известно и устройство для использования энергии волн (а.св. СССР N 1100418, F 03 B 13/12, 1983). Устройство содержит плавучий корпус, расположенные в нем опору в виде рамы с вертикальными направляющими, выходной вал и механический преобразователь, включающий инерционное тело и храповый механизм. Инерционное тело выполнено в виде груза, имеющего упругую подвеску, закрепленную на раме, соединено с выходным валом и контактирует с направляющими рамы. Вследствие чего инерционное тело имеет возможность вертикального возвратно-поступательного движения.
Данное устройство по назначению и совокупности существенных признаков наиболее близкое к заявляемому изобретению и является прототипом.
К недостаткам данного устройства можно отнести малую надежность и долговечность, сложность конструкции из-за наличия храпового механизма с колесом и собачками и двухзвенного кривошипно-шатунного механизма для кинематического соединения выходного вала и инерционного тела.
В основу изобретения положения задача создания волновой энергетической установки с более простой, надежной и долговечной схемой механического преобразователя энергии для навигационных и океанографических буев, которая одновременно обеспечивала бы бесперебойное питание потребителей как при наличии волнения на море, так и при отсутствии волнения.
Поставленная техническая задача решается тем, что в волновой энергетической установке, содержащей плавучий корпус и расположенные в нем опору в виде рамы с вертикальными направляющими, механический преобразователь, включающий инерционное тело в виде груза, имеющего упругую подвеску, закрепленную на раме, контактирующего с вертикальными направляющими и генератор переменного тока, упругая подвеска снабжена установленными на верхней части рамы блоками с охватывающей их гибкой тягой, посредством которой инерционное тело соединено с упругим элементом подвески, сам упругий элемент закреплен на основании рамы, установлен параллельно вертикальным направляющим со стороны обратной их контакта с инерционным телом, вал генератора переменного тока кинематически соединен с валом одного из блоков, причем установка дополнительно снабжена аккумулятором, трансформатором с изменяющимся коэффициентом трансформации, диодным выпрямителем, регулятором, нагрузочным устройством и устройством изменения коэффициента трансформации, при этом аккумулятор подключен к генератору переменного тока через диодный выпрямитель и трансформатор с изменяющимся коэффициентом трансформации, регулятор соединен с выходом генератора переменного тока и аккумулятором, а нагрузочное устройство и устройство изменения коэффициента трансформации подключены к регулятору.
На конце упругого элемента подвески со стороны его связи с инерционным телом, дополнительно установлен подвижный блок с огибающей его гибкой тягой, свободный конец которой прикреплен к верхней части рамы.
Выполнение упругой подвески в виде установленных на верхней части рамы блоков с охватывающей их гибкой тягой, посредством которой инерционное тело соединено с упругим элементом; закрепление упругого элемента на основании рамы; установка упругого элемента параллельно вертикальным направляющим рамы со стороны обратной их контакта с инерционным телом; кинематическое соединение вала генератора переменного тока с валом одного из блоков, установленных на верхней части рамы позволило существенно упростить схему механического преобразователя энергии для навигационных и океанографических буев, улучшить условия работы преобразователя, повысить его надежность и долговечность, т. к. в преобразователе исключены такие элементы как храповой механизм и двухзвенный кривошипно-шатунный механизм для кинематического соединения выходного вала и инерционного тела. Волновая энергетическая установка дополнительно снабжена аккумулятором, трансформатором с изменяющимся коэффициентом трансформации, диодным выпрямителем, регулятором, нагрузочным устройством и устройством изменения коэффициента трансформации, причем аккумулятор подключен к генератору переменного тока через диодный выпрямитель и трансформатор с изменяющимся коэффициентом трансформации, регулятор соединен с выходом генератора переменного тока и аккумулятором, а нагрузочное устройство и устройство изменения коэффициента трансформации подключены к регулятору это позволило адаптировать установку к интенсивности морского волнения за счет согласования генератора с нагрузкой при наименьших потерях за счет того, что регулирование напряжения осуществляется с помощью трансформатора с переменным коэффициентом трансформации, накапливать энергию, защитить генератор от перегрузок при сильном волнении.
Именно такая совокупность существенных признаков позволила достичь технического результата указанного в задаче, которую следовало решить, а именно: создана простая долговечная надежная волновая энергетическая установка, которая обеспечивает бесперебойное питание электрооборудование буев, как при наличии волнения на море, так и при отсутствии волнения.
Кроме того, на конце упругого элемента подвески со стороны его связи с инерционным телом, дополнительно установлен подвижный блок с огибающей его гибкой тягой, свободный конец которой прикреплен к верхней части рамы. Этот позволило значительно уменьшить габариты как преобразователя энергии, так и установки в целом.
На основании изложенного можно заключить, что в целом вся указанная совокупность существенных признаков как известных так и отличительных имеет причинно-следственную связь с достигаемым техническим результатом, т.е. благодаря данной совокупности существенных признаков создана волновая энергетическая установка, которая обеспечивает электроэнергией океанографические и навигационные буи не только при наличии достаточного волнения, но и при его незначительной величине. Кроме того, она конструктивно проще, надежнее и долговечнее.
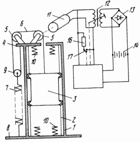
На чертеже схематически изображена волновая энергетическая установка.
![]() | Волновая энергетическая установка содержит плавучий корпус (на чертеже не показан), в котором расположены опора в виде рамы 1 с вертикальными направляющими 2, механический преобразователь, включающий инерционное тело 3 в виде груза, имеющего упругую подвеску. Упругая подвеска снабжена установленными на верхней части 4 рамы 1 двумя блоками 5 с охватывающими их гибкой тягой 6, посредством которой инерционное тело 3 соединено с упругим элементом (например, пружиной) 7 подвески. Сам упругий элемент 7 одним концом закреплен на основании 8 рамы 1 и установлен параллельно вертикальным направляющим 2 рамы 1 со стороны обратной их контакта с инерционным телом 3. На конце упругого элемента 7 со стороны гибкой тяги 6 установлен подвижный блок 9, который охватывается гибкой тягой 6, свободный конец которой прикреплен к верхней части 4 рамы 1. Для ограничения хода инерционного тела 3 на основании 8 и верхней части 4 рамы 1 с внутренней стороны встречно установлены дополнительные упругие элементы 10 (например, пружины). Один из блоков 5 кинематически соединен с генератором переменного тока 11. Установка содержит и трансформатор 12, диодный выпрямитель 13, аккумулятор 14, регулятор 15 и нагрузочное устройство 16 с контактами 17. Аккумулятор 14 подключен к генератору 11 через диодный выпрямитель 13 и трансформатор 12 с изменяющимся коэффициентом трансформации, а регулятор 15 соединен с выходом генератора 11 и аккумулятором 14. Нагрузочное устройство 16 и устройство изменения коэффициента трансформации подключены к регулятору 15 через контакты 17. |
Так как установка преобразовывает вертикальные колебания волн, то упругий элемент 7 натянут силой равной силе тяжести инерционного тела 3. Ход инерционного тела 3 и ход упругого элемента 7 ограничены, причем ход последнего установлен в два раза меньше хода инерционного тела 3. Максимальные перемещения инерционного тела 3 ограничены упругими элементами 10. Кроме того, установка выполнена адаптируемой к интенсивности морского волнения за счет применения трансформатора с изменяемым коэффициентом трансформации.
Волновая энергетическая установка работает следующим образом. При вертикальных колебаниях плавучего корпуса под действием волн инерционное тело 3 перемещается вверх или вниз вдоль направляющих 2.
При движении инерционного тела 3 вниз оно тянет за собой гибкую тягу 6 и растягивает упругий элемент 7, при этом гибкая тяга 6, вращая блоки 5, приводит во вращение вал генератора 11.
При подъеме инерционного тела 3 упругий элемент 7 сжимается и тянет за собой гибкую тягу 6, которая вращая блоки 5, приводит во вращение вал генератора 11. Упругий элемент 7 обеспечивает постоянство натяжения гибкой тяги 6. Поскольку применен генератор переменного тока направление вращения генератора не имеет значения и не оказывает какого-либо влияния на работу подключенных к нему устройств.
Регулирование напряжения осуществляется с помощью трансформатора 12 с переменным коэффициентом трансформации, обеспечивая тем самым согласование генератора 11 с нагрузкой при наименьших потерях. После того как генератор 11 разовьет напряжение больше напряжения аккумулятора 14 начинается процесс накопления энергии в аккумуляторе 14. До тех пор пока аккумулятор 14 не зарядится полностью, регулятором 15 по данным об интенсивности колебаний инерционного тела 3 устанавливается такой коэффициент трансформации, который обеспечивает максимальный съем энергии. После полного заряда аккумулятора 14 подключается через контакты 17 нагрузочное устройство 16 (например, резистор), которое нагружает генератор 11. Это приводит к сильному демпфированию колебаний инерционного тела 3, вследствие чего съем энергии резко уменьшается и генератор 11 не перегружается.
При отсутствии волнения электроснабжение буев осуществляется непосредственно от аккумулятора 14.
ФОРМУЛА ИЗОБРЕТЕНИЯ
- Волновая энергетическая установка, содержащая плавучий корпус и расположенные в нем опору в виде рамы с вертикальными направляющими, механический преобразователь, включающий инерционное тело в виде груза, контактирующего с вертикальными направляющими и имеющего закрепленную на раму упругую подвеску и генератор переменного тока, отличающаяся тем, что упругая подвеска снабжена установленными на верхней части рамы блоками с охватывающей их гибкой тягой, посредством которой инерционное тело соединено с упругим элементом подвески, сам упругий элемент закреплен на основании рамы, установлен параллельно вертикальным направляющим со стороны обратной их контакта с инерционным телом, а вал генератора переменного тока кинематически соединен с валом одного из блоков, причем установка дополнительно снабжена аккумулятором, трансформатором с изменяющимся коэффициентом трансформации, диодным выпрямителем, регулятором, нагрузочным устройством и устройством изменения коэффициента трансформации, при этом аккумулятор подключен к генератору переменного тока через диодный выпрямитель и трансформатор с изменяющимся коэффициентом трансформации, регулятор соединен с выходом генератора переменного тока и аккумулятором, а нагрузочное устройство и устройство изменения коэффициента трансформации подключены к регулятору.
- Установка по п.1, отличающаяся тем, что на конце другого элемента подвески, со стороны его связи с инерционным телом, дополнительно установлен подвижный блок с огибающей его гибкой тягой, свободный конец которой прикреплен к верхней части рамы.
Версия для печати
Дата публикации 02.12.2006гг
Created/Updated: 25.05.2018
|

