| Начало раздела Производственные, любительские Радиолюбительские Авиамодельные, ракетомодельные Полезные, занимательные | Хитрости мастеру Электроника Физика Технологии Изобретения | Тайны космоса Тайны Земли Тайны Океана Хитрости Карта раздела | |
| Использование материалов сайта разрешается при условии ссылки (для сайтов - гиперссылки) | |||
Навигация: => | На главную/ Каталог патентов/ В раздел каталога/ Назад / |
|
ИЗОБРЕТЕНИЕ
Патент Российской Федерации RU2176328
![]()
ГИДРОТУРБИНА ДЛЯ РУСЛОВОЙ ГИДРОЭЛЕКТРОСТАНЦИИ
Имя изобретателя: Чудиков Н.Н.
Имя патентообладателя: Пятигорская государственная фармацевтическая академия
Адрес для переписки: 357532, Ставропольский край, г. Пятигорск, пр. Калинина, 11, ПГФА
Дата начала действия патента: 2000.02.14
Гидротурбина предназначена для преобразования энергии водяного потока и может быть использована для получения электрической энергии. Гидротурбина содержит горизонтальный вал и две прямоугольные лопасти, способные вращаться вокруг своих осей, параллельных оси вала, с угловой скоростью, в два раза меньшей угловой скорости вращения вала, и в сторону, противоположную вращению вала. Каждая лопасть снабжена по бокам двумя одинаковыми закрылками, способными ограниченно поворачиваться вокруг осей, параллельных оси лопасти, под воздействием кинематически связанного с закрылками через шатуны эксцентрика, закрепленного на водиле соосно с лопастью, с эксцентриситетом, направленным вдоль водила. Причем ширина закрылка предпочтительно равна 1/5 общей ширины лопасти. Конструкция гидротурбины позволяет повысить мощность и кпд.
ОПИСАНИЕ ИЗОБРЕТЕНИЯ
Изобретение относится к области экологически чистой и дешевой энергетики, в частности к гидротурбинам для русловой ГЭС.
Известны гидротурбины для русловой ГЭС (Н.М. Щапов "Турбинное оборудование гидроэлектростанций", изд. 3-е, 1961 г., стр. 283).
Такие гидротурбины маломощны и с низким кпд, поэтому для использования их в русловых ГЭС практически непригодны.
Известна гидротурбина для русловой ГЭС, состоящая из горизонтально расположенного на двух опорах вала и двух прямоугольных лопастей, способных вращаться вокруг своих осей, параллельных валу, с угловой скоростью, в два раза меньшей угловой скорости вращения вала, и направленную в сторону, противоположную валу. (Патент РФ 2131994 от 20.06.99 г.). Такая гидротурбина, обладая определенным качеством, имеет недостаточно высокий кпд.
Целью данного изобретения является повышение кпд гидротурбины для русловой ГЭС.
Эта цель достигается тем, что каждая лопасть гидротурбины имеет по бокам два одинаковых закрылка, способных ограниченно поворачиваться вокруг осей, параллельных оси лопасти, под воздействием кинематически связанного с ними через шатуны эксцентрика, закрепленного на водиле соосно с лопастью, с эксцентриситетом, направленным вдоль водила, а с обоих торцов лопасти и закрылков перпендикулярно оси лопасти закреплены пластины, причем общая ширина лопасти вместе с закрылками больше удвоенного расстояния от кромки вала до оси вращения лопасти.
![]() | ![]() | ![]() |
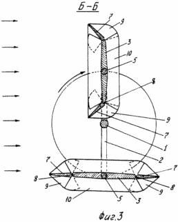
Сущность изобретения поясняется чертежом, где на фиг. 1 изображен общий вид гидротурбины; на фиг. 2 - разрез А-А; на фиг. 3 - разрез Б-Б.
Гидротурбина состоит из вала 1 с закрепленными на нем водилами 2, на концах которых установлены лопасти 3, посредством полуоси 4 (фиг. 1-3). Лопасти усилены лонжеронами 5. Вал 1 расположен горизонтально на опорах 6. По бокам каждой лопасти установлены два одинаковых закрылка 7, способных одновременно, вместе, ограниченно поворачиваться вокруг осей 8, параллельных оси лопасти, в ту и другую сторону от плоскости лопасти. На обоих торцах лопасти и закрылков закреплены пластины 9 и 10 в положении, перпендикулярном оси лопасти. На водилах соосно лопастям закреплены неподвижно эксцентрики 11 с эксцентриситетом, направленным вдоль водил. Полуось 4 лопасти проходит через эксцентрик, а на пластинах 9 закрылков закреплены оси 12, на которые посажены шатуны 13 и 14. Другими своими концами шатуны сидят на эксцентрике. Такое соединение закрылков с эксцентриком возможно с обоих торцов лопасти. Ширина лопасти без закрылков предпочтительно равна ширине трех закрылков.
Общая ширина лопасти с закрылками больше удвоенного расстояния от кромки вала до оси вращения лопасти.
Предпочтительное отклонение закрылков до 30o.
Гидротурбина работает следующим образом. При наличии течения воды, как указано стрелками (фиг. 3), гидротурбина под воздействием водяного потока на лопасти будет вращаться. В начале оборота гидротурбины, когда плоскость лопасти, находящейся над валом, совпадает с вертикальной плоскостью, проходящей через ось вала (фиг. 1-3), лопасть (благодаря закрылкам, пластинам, эксцентрику и шатунам) принимает чашеобразную форму, образованную пластинами 9 и 10, отклоненными в одну сторону против течения закрылками (фиг. 2 и 3). При дальнейшем вращении гидротурбины глубина чаши - лопасти уменьшается и при повороте гидротурбины на 180o плоскости закрылков совмещаются с плоскостью лопасти 3, принимая удобообтекаемую форму. При каждом обороте гидротурбины лопасти поворачиваются к течению другой стороной, поэтому закрылки всегда отклоняются навстречу течению.
Таким образом, принимая чашеобразную форму, лопасть воспринимает на себя и передает на вал не только силу прямого удара водяного потока, но и то дополнительное давление, которое он создает внутри чаши на ее стенки. Тем самым данной гидротурбиной улавливается большая часть энергии водяного потока, что увеличивает ее эффективность и кпд. При использовании трех подобных лопастей мощность и кпд такой гидротурбины значительно увеличивается.
Существенным отличительным признаком предлагаемого изобретения является то, что лопасти имеют закрылки, кинематически связанные через шатуны с эксцентриками, закрепленными на водилах, а на торцах лопастей и закрылков закреплены пластины. Преимуществом предлагаемой конструкции является значительное повышение мощности и кпд гидротурбины.
ФОРМУЛА ИЗОБРЕТЕНИЯ
1. Гидротурбина для русловой ГЭС, состоящая из горизонтально расположенного вала и двух прямоугольных лопастей с максимальной рабочей поверхностью, способных вращаться вокруг своих осей, параллельных оси вала, с угловой скоростью, в два раза меньшей угловой скорости вращения вала, и в сторону, противоположную валу, отличающаяся тем, что каждая лопасть имеет по бокам два одинаковых закрылка, способных ограниченно поворачиваться вокруг осей, параллельных оси лопасти, под воздействием кинематически связанного с закрылками через шатуны эксцентрика, закрепленного на водиле соосно с лопастью, с эксцентриситетом, направленным вдоль водила, причем ширина закрылка предпочтительно равна 1/5 общей ширины лопасти.
2. Гидротурбина по п.1, отличающаяся тем, что на торцах лопасти и закрылков перпендикулярно оси лопасти закреплены пластины, причем общая ширина лопасти вместе с закрылками больше удвоенного расстояния от кромки вала до оси вращения лопасти.
Версия для печати
Дата публикации 12.01.2007гг
Created/Updated: 25.05.2018
|



