| Начало раздела Производственные, любительские Радиолюбительские Авиамодельные, ракетомодельные Полезные, занимательные | Хитрости мастеру Электроника Физика Технологии Изобретения | Тайны космоса Тайны Земли Тайны Океана Хитрости Карта раздела | |
| Использование материалов сайта разрешается при условии ссылки (для сайтов - гиперссылки) | |||
Навигация: => | На главную/ Каталог патентов/ В раздел каталога/ Назад / |
|
ИЗОБРЕТЕНИЕ
Патент Российской Федерации RU2269728
![]()
СПОСОБ И СИСТЕМА ДЛЯ ОБМЕНА ЗЕМНОЙ ЭНЕРГИЕЙ МЕЖДУ ЗЕМНЫМИ ТЕЛАМИ И ЭНЕРГООБМЕННИКОМ, ИСПОЛЬЗУЮЩИМ ПРИРОДНУЮ ТЕПЛОВУЮ ЭНЕРГИЮ, ПРЕЖДЕ ВСЕГО ДЛЯ ПОЛУЧЕНИЯ ЭЛЕКТРИЧЕСКОГО ТОКА
Имя изобретателя: ХИЛЬДЕБРАНД Ханс (CH)
Имя патентообладателя: ХИТА АГ (CH)
Адрес для переписки: 101000, Москва, М.Златоустинский пер., 10, кв.15, "ЕВРОМАРКПАТ", пат.пов. И.А.Веселицкой, рег. № 11
Дата начала действия патента: 2001.10.17
Изобретение относится к системам, использующим тепловую природную энергию и может быть использовано на геотермальных электрических станциях или в удаленных теплосетях. Предложены способ обмена энергией между земными телами и энергообменником и система для осуществления способа, в которой энергообменник (2) соединен линией (10) прямого потока и линией (14) обратного потока контура циркуляции оборотной воды с использующим земную тепловую энергию теплообменником (18), который имеет, по меньшей мере, одну расположенную в скважине (22) теплоизолированную трубу (20, 20а) прямого потока, окруженную в скважине (22) разделительной трубой (24), с внешней стороны которой в радиальном направлении находится область (28) обратного потока для оборотной воды, в которой находится, по меньшей мере, одна труба (30) обратного потока, соединенная с линией (14) обратного потока, при этом, по меньшей мере, нижняя область скважины заполнена пористым наполнителем (38) и соединена с нижним входным отверстием (46, 46а) трубы (20, 20а) прямого потока, по меньшей мере, у дна скважины (22) через одно или несколько сквозных отверстий (44), выполненных в разделительной трубе (24). На линиях (10) и (14) прямого и обратного потока установлены регулируемые запорные клапаны (12, 16). Внутри скважины (22) расположена, по меньшей мере, одна теплоизолированная труба (20) прямого потока, которая находится внутри разделительной трубы (24), снаружи которой расположенная в радиальном направлении область (28) образует область обратного потока оборотной воды. В области (28) обратного потока расположена, по меньшей мере, одна соединенная с линией (14) обратного потока труба (30) обратного потока, которая соединена с пористым наполнителем (38), а и, по меньшей мере, у дна скважины (22) с трубой (20) прямого потока через ее расположенное снизу входное отверстие (46) или с входными отверстиями (46, 46а) труб (20, 20а) прямого потока через одно или несколько сквозных отверстий (44), выполненных в разделительной трубе (24). В системе имеется соединяемое с ней устройство (50), предназначенное для заполнения системы средой, создающей в ней повышенное давление, и предпочтительно сливной клапан(56), расположенный в линии (10) прямого потока между запорным клапаном (12) и использующим земную тепловую энергию теплообменником (18), которые используются для слива оборотной воды из трубы (20) прямого потока и запуска процесса образования и перемещения водяного пара из земного тела. Такой способ и система позволяют значительно снизить затраты на бурение и эксплуатацию и повысить надежность.
ОПИСАНИЕ ИЗОБРЕТЕНИЯ
Настоящее изобретение относится к способу в соответствии с ограничительной частью п.1 формулы изобретения и к системе для осуществления этого способа в соответствии с ограничительной частью п.14 формулы изобретения.
С увеличением глубины температура земной коры постепенно увеличивается, что позволяет при достаточно большой глубине скважин, достигающей, например, 2000 м, получать горячий водяной пар, который можно использовать на геотермальных электростанциях или в удаленных нагревательных системах (теплосетях). Такое использование тепловой энергии земли может оказаться чрезвычайно экономически выгодным. В одном из известных в настоящее время способов использования земной тепловой энергии, так называемом способе использования тепла сухой горячей породы (см., например, Brockhaus Encyclopedia, том 8, 19-е изд., изд-во F.A. Brockhaus Gmbh, Mannheim, 1989, сс. 337-338), для использования тепловой энергии залегающих на большой глубине горячих сухих пород на некотором расстоянии друг от друга бурят две достаточно глубокие скважины, через одну из которых в образованную на соответствующей глубине искусственную щель закачивают воду, которая в виде перегретой воды или водяного пара поднимается на земную поверхность через вторую скважину. Такой способ использования тепла сухих горячих пород позволяет создать достаточно простые в работе и обслуживании геотермальные электростанции, в которых перегретый водяной пар сразу же попадает в турбинные ступени турбогенераторов. Существенным недостатком такого способа использования для выработки электроэнергии тепла сухих горячих пород является необходимость бурения двух отдельных скважин, искусственного расширения трещин в залегающей на большой глубине породе и наличия под землей достаточно протяженной сухой горячей породы.
В настоящее время известны и системы, предназначенные для использования земной тепловой энергии горячих пород, залегающих на меньших, чем указано выше, глубинах. В таких использующих земную тепловую энергию на глубине от 100 до 2000 м и выше системах оборотная вода из обратной линии теплообменника попадает в расположенный в нижней области буровой скважины пористый наполнитель, нагревается в нем и по прямой линии возвращается насосом обратно в теплообменник. Такая система, обладающая определенными преимуществами, не может, однако, использоваться для получения горячего водяного пара.
В основу настоящего изобретения была положена задача разработать такие способ и систему для получения горячего водяного пара за счет использования тепла глубоко залегающих пород, которые были бы лишены недостатков, присущих упомянутым выше способам и системам.
Поставленная в изобретении задача решается:
а) с помощью способа обмена энергией между земными телами и энергообменником (2, 2а), который используется прежде всего для выработки электроэнергии и соединен в контуре циркуляции теплоносителя линией (10) прямого потока, по которой в него поступает водяной пар, и линией (14) обратного потока, по которой из него выходит оборотная вода, с использующим земную тепловую энергию теплообменником (18), который расположен под земной поверхностью и доходит до глубины, на которой в нем за счет тепловой энергии земного тела образуется водяной пар, отличающийся тем, что линии прямого и обратного потока ведут в одну общую скважину (22), в которой имеется по меньшей мере одна теплоизолированная труба (20, 20а, 20b) прямого потока, окруженная разделительной трубой (24), с внешней стороны которой в радиальном направлении находится область (28) обратного потока для оборотной воды, в которой находится по меньшей мере одна труба (30) обратного потока, соединенная с линией (14) обратного потока, при этом по меньшей мере нижняя область скважины заполнена пористым наполнителем (38) и соединена с нижним входным отверстием (46, 46а) трубы (20, 20а, 20b) прямого потока по меньшей мере у дна скважины (22) через одно или несколько сквозных отверстий (44, 44а), выполненных в разделительной трубе (24). Для запуска процесса циркуляции оборотной воды и образования пара используют по меньшей мере один циркуляционный насос (92, 94). Для запуска процесса циркуляции оборотной воды находящийся в трубе (20, 20а, 20b) прямого потока столб воды вытесняют из нее средой, создающей в трубе повышенное давление, до тех пор, пока образующийся в скважине водяной пар с определенными параметрами не попадет в энергообменник (2, 2а). Среду, создающую повышенное давление, могут подавать в верхнюю область трубы (20, 20b) прямого потока или в верхнюю область трубы (30) обратного потока. Среду, создающую повышенное давление, предварительно нагревают, в качестве среды, создающей повышенное давление, используют сжатый воздух или водяной пар, который получают предпочтительно путем непрерывного испарения столба воды, находящейся в трубе (20b) прямого потока, с помощью погружного нагревателя (68) или используют напорную воду. Оборотную воду (64), которую при запуске процесса циркуляции вытесняют из трубы (20, 20а, 20b) прямого потока, собирают в отдельной емкости (62), предпочтительно обрабатывают и используют для пополнения контура циркуляции оборотной воды. В трубу (30) обратного потока оборотную воду подают с температурой меньше 100°С, предпочтительно с температурой 20-30°С. В теплообменник (2, 2а) водяной пар подают с температурой больше 100°С, предпочтительно с температурой 350-370°С. Давление образующегося водяного пара уравновешивают путем вытеснения вниз и увеличения температуры и давления расположенного выше пара в области (28) обратного потока столба воды, из которой в трубах (20, 20а, 20b, 24) прямого потока, например на глубине 7500-12000 м, образуется водяной пар с давлением, например, 50-60 бар, который проходит к энергообменнику (2, 2а) предпочтительно через теплоизолированную область (20, 20а, 20b, 24) прямого потока.
Поставленная задача решается с помощью системы для осуществления способа, в которой энергообменник (2, 2а) соединен линией (10) прямого потока и линией (14) обратного потока контура циркуляции оборотной воды с использующим земную тепловую энергию теплообменником (18), который имеет по меньшей мере одну расположенную в скважине (22) теплоизолированную трубу (20, 20а, 20b) прямого потока, окруженную в скважине (22) разделительной трубой (24), с внешней стороны которой в радиальном направлении находится область (28) обратного потока для оборотной воды, в которой находится по меньшей мере одна труба (30) обратного потока, соединенная с линией (14) обратного потока, при этом по меньшей мере нижняя область скважины заполнена пористым наполнителем (38) и соединена с нижним входным отверстием (46, 46а) трубы (20, 20а, 20b) прямого потока по меньшей мере у дна скважины (22) через одно или несколько сквозных отверстий (44, 44а), выполненных в разделительной трубе (24). В линии (14) обратного потока и/или в линии (10) прямого потока установлен циркуляционный насос (92, 94). Система отличается наличием регулируемых запорных клапанов (12, 16), установленных на линии (10) прямого потока и на линии (14) обратного потока, и соединяемого с ней устройства (50а, 50b, 50с), которое предназначено для заполнения системы средой повышенного давления, под действием которого из трубы (20, 20а, 20b) прямого потока вытесняется оборотная вода, и для запуска процесса образования пара и его перемещения по системе, при этом такое устройство соединено либо с линией (10) прямого потока в точке, расположенной между запорным клапаном (12) и использующим тепловую земную энергию теплообменником (18), либо с линией (14) обратного потока в точке, расположенной между запорным клапаном (16) и использующим тепловую земную энергию теплообменником (18). Устройство, которое предназначено для заполнения системы средой повышенного давления, представляет собой нагнетательный насос (50а, 50b) или погружной нагреватель (50с), который можно опустить в трубу прямого потока. Система отличается наличием расположенного на земной поверхности устройства для слива оборотной воды из трубы (20, 20а, 20b) прямого потока, устройство для слива оборотной воды содержит сливной клапан (56а), установленный в линии (14) обратного потока между использующим земную тепловую энергию теплообменником (18) и запорным клапаном (16). Устройство для слива оборотной воды имеет сливной клапан (56b), установленный в линии (10) прямого потока между использующим земную тепловую энергию теплообменником (18) и запорным клапаном (12). Устройство для слива оборотной воды содержит емкость (62) для сбора сливаемой из системы оборотной воды, соединенную подводящим трубопроводом с линией (14) обратного потока. Система отличается наличием подводящего трубопровода (41) с запорным клапаном (43), через который вода подается в линию (14) обратного потока. В разделительной трубе (24) расположена, по меньшей мере, еще одна труба (20а) прямого потока, которая сообщается с расположенным в земле концом первой трубы (20) прямого потока и соединяется на земной поверхности (34) с другим концом первой трубы (20) прямого потока через запорный клапан (48) и которая имеет сливной клапан (56), предназначенный для слива оборотной воды, вытесняемой из первой трубы (20) прямого потока через вторую трубу (20а) прямого потока устройством (50), предназначенным для заполнения системы средой, создающей в ней повышенное давление. Пространство между трубами (20, 20а, 20b) прямого потока и разделительной трубой (24) заполнено теплоизолирующим материалом (42). По меньшей мере две, предпочтительно несколько, труб (30) обратного потока расположены вокруг разделительной трубы (24) в кольцевой области (60) между разделительной трубой (24) и стенкой (26) скважины. Верхняя, расположенная от земной поверхности (34) на глубине предпочтительно от 1000 до 2500 м область (32) скважины, в которой расположена труба (30) обратного потока, выполнена герметичной, а нижняя область скважины заполнена насыпанным на дно (36) скважины пористым наполнителем (38), при этом в стенке трубы (30) обратного потока выполнены сквозные отверстия (40), расположенные в заполненной пористым наполнителем нижней области скважины. Труба (20, 20а, 20b) прямого потока заканчивается на расстоянии, предпочтительно равном 400 м от дна (36) скважины, а разделительная труба (24) имеет расположенные в этой зоне сквозные отверстия (44). Скважина (22) имеет глубину Т от 2500 до 12000 м. Кроме того, она может иметь, по меньшей мере, один боковой отвод (58, 58а, 58b), конец которого сообщается со скважиной (22) предпочтительно в зоне расположения сквозных отверстий (44, 44а) разделительной трубы (24). Боковой отвод (58а) проходит по существу вдоль скважины (22) или в радиальном направлении скважины (22). Энергообменник (2) имеет предпочтительно многоступенчатую турбину (4), соединенную с электрическим генератором (6), за которой предпочтительно расположено устройство (8), потребляющее тепловую энергию. Энергообменник (2а) соединяет проходящий под землей контур циркуляции оборотной воды с другим контуром (96) циркуляции, в котором предпочтительно установлена многоступенчатая турбина с электрическим генератором. Турбина (4) работает по циклу Ренкина на органическом рабочем теле.
В предлагаемой в изобретении системе трубы обратного потока и разделительная труба вместе с расположенной в ней трубой прямого потока размещаются в одной единственной скважине, что позволяет по сравнению с известным способом использования тепла сухой горячей породы приблизительно в два раза уменьшить объем бурения. Предлагаемая в изобретении система, в которой обратный поток, нижняя область которого проходит через пористый наполнитель, соединяется с прямым потоком в нижней области скважины через одно или несколько выполненных в разделительной трубе проходных отверстий, может быть замкнутой системой, значительно менее подверженной загрязнению системой циркуляции оборотной воды, в которую практически вообще не проникает окружающая вода и в которой во время работы происходит по существу только изменение удельного количества оборотной воды. Таким образом, фактическое отсутствие воды, поступающей извне в систему во время ее работы, а с другой стороны, практически полное отсутствие утечек воды из системы в окружающее пространство после запуска существенно снижают загрязнение окружающей среды. Отсутствие воды, попадающей в систему из окружающего пространства, позволяет избежать загрязнения или заиливания теплообменника, использующего земную тепловую энергию. Кроме того, после запуска системы в ней в результате периодически повторяющегося испарения оборотной воды происходит постепенная деминерализация воды, существенно снижающая опасность повреждения труб из-за коррозии. Через некоторое время после начала работы оборотную воду можно очистить, периодически повторяя затем очистку воды с большими по мере необходимости временными интервалами. Все это позволяет дополнительно снизить затраты и существенно повысить надежность системы.
При запуске система заполняется свежей водой, а находящаяся в ней вода, которая собирается и деминерализуется в отдельной емкости, принудительно сливается или вытесняется из системы. Для повышения эффективности теплообмена в изобретении предлагается использовать расположенный в нижней области обратного потока пористый наполнитель, позволяющий отказаться от искусственного расширения трещин в залегающей на большой глубине породе. Еще одним преимуществом предлагаемой в настоящем изобретении системы является отсутствие специальных требований, предъявляемых к геологическому составу используемой в качестве источника тепла породы, и, как следствие этого, отсутствие специальных требований к месту расположения системы.
Предпочтительные варианты осуществления предлагаемого в изобретении способа приведены в зависимых п.п.2-13 формулы изобретения, а предпочтительные варианты выполнения предлагаемой в изобретении системы представлены в зависимых п.п.15-35. Обычно до начала работы системы использующий земную тепловую энергию теплообменник заполняется оборотной водой, например промывочной водой или водой, предварительно нагретой теплом земного тела. Выходу водяного пара из такого теплообменника препятствует давление водяного столба в трубе или в трубах прямого потока, которое в нижней области этой трубы или труб превышает давление образующегося в теплообменнике водяного пара.
В соответствии с п.2 для запуска системы в изобретении предлагается использовать по меньшей мере один циркуляционный насос, создающий сравнительной небольшой перепад давлений, достаточный для перемещения воды, находящейся в трубах обратного и прямого потока, и постепенного увеличения температуры и превращения в пар оборотной воды, находящейся в трубе прямого потока.
Для запуска системы в соответствии с п.п.3-9 столб воды, находящейся в трубе или трубах прямого потока, вытесняют из трубы или труб с помощью соединяемого с системой устройства, заполняющего систему средой повышенного давления. Процесс циркуляции (оборота) воды в системе начинается после образования пара в нижней области скважины, и оборотная вода по линии и трубе или трубам обратного потока попадает из расположенного на земной поверхности энергообменника (теплообменника) в нижнюю область скважины, из которой образующийся в ней пар по трубе или трубам и линии прямого потока поступает в теплообменник, из которого после обмена энергией он возвращается в виде оборотной воды в контур циркуляции.
Среду, создающую в системе повышенное давление, при запуске системы подают в соответствии с п.4 в верхнюю область трубы прямого потока или в соответствии с п.5 в верхнюю область трубы обратного потока. С целью ускорить процесс запуска системы среду, создающую в системе повышенное давление, предлагается в соответствии с п.6 предварительно подогревать. В качестве такой среды, создающей в системе повышенное давление, в п.7 предлагается использовать сжатый воздух. В п.8 для создания в системе повышенного давления предлагается использовать водяной пар, который предпочтительно получают с помощью погружного нагревателя, опущенного в трубу прямого потока. В соответствии с наиболее предпочтительным вариантом в п.9 предлагается в качестве среды, создающей в системе повышенное давление, использовать воду.
В принципе при запуске системы оборотную воду можно вытеснять из использующего земную тепловую энергию теплообменника через его открытые снизу трубы непосредственно в земное тело, от которого отбирают тепловую энергию. Возникающие при этом проблемы геологического и экологического характера можно решить способом, предложенным в п.10 формулы изобретения. В соответствии с этим способом сливаемую из системы оборотную воду собирают, очищают и деминерализуют и при необходимости вновь используют в системе в качестве оборотной воды.
В п.11 представлен способ создания более благоприятных условий для получения энергии предлагаемым в изобретении способом, заключающийся в том, что энергию получают при температуре обратного потока оборотной воды, меньшей 100°С и равной предпочтительно 20-30°С. В соответствии с п.12 температура прямого потока пара, поступающего в теплообменник, должна быть больше 100°С и составлять предпочтительно от 350 до 370°С. Еще более благоприятные условия для получения энергии предлагаемым в изобретении способом рассмотрены в п.13.
Предлагаемая в п.15 система содержит установленный в линии обратного потока и/или в линии прямого потока циркуляционный насос, который предназначен, в частности, для запуска системы, но может использоваться и при ее работе в нормальном режиме.
В п.16 представлены отличительные особенности системы, связанные с ее запуском при использовании среды, создающей в системе повышенное давление. В п.17 в качестве устройства, создающего в системе повышенное давление, предлагается использовать насос. В наиболее предпочтительном варианте выполнения системы, о котором идет речь в п.18, в качестве устройства, создающего в системе повышенное давление, предлагается использовать опущенный в трубу прямого потока погружной нагреватель, который испаряет оборотную воду, превращающуюся в среду, создающую в системе повышенное давление.
Согласно п.19 для слива оборотной воды во время запуска системы из трубы прямого потока предлагается использовать устройство, расположенное на земной поверхности. Конкретные варианты выполнения таких устройств предлагаются в п.п.20 и 21. В п.22 предлагается, как уже было отмечено выше, собирать сливаемую из системы оборотную воду в отдельной емкости, предназначенной для ее очистки от загрязняющих веществ и защиты от загрязнения окружающей среды или самой системы. Вариант повторного использования в системе собранной и очищенной оборотной воды предлагается в п.23.
В п.24 описаны особенности системы, позволяющие запустить ее наиболее оптимальным способом. После перекрытия запорных клапанов, установленных в линиях обратного и прямого потока, и запорного клапана, установленного в линии прямого потока между ее первой трубой и остальными трубами, соединенное с первой трубой прямого потока устройство, предназначенное для создания в системе повышенного давления с помощью соответствующей среды, сначала вытесняет оборотную воду, находящуюся в первой трубе прямого потока, в нижнюю область скважины, а затем через остальные трубы прямого потока и сливной клапан вытесняет из системы определенное количество оборотной воды. После вытеснения воды из первой трубы прямого потока под действием повышенного давления газа вода вытесняется и из остальных труб прямого потока. Затем устройство, создающее в системе повышенное давление, отсоединяется от системы, и после перекрытия сливного клапана и открытия запорных клапанов в линиях обратного и прямого потока и запорного клапана, установленного в линии прямого потока между ее первой трубой и остальными трубами, в результате образования пара в системе начинается процесс циркуляции оборотной воды.
Решение, предлагаемое в п.25, позволяет уменьшить потери тепла в трубе прямого потока и повысить за счет этого эффективность системы.
В принципе в линии обратного потока можно предусмотреть только одну трубу. Однако существенно лучших результатов можно добиться при выполнении системы в соответствии с п.26, предложенные в котором решения позволяют равномерно использовать для отбора энергии горячей породы все области пробуренной в ней скважины. Наличие в системе большого количества труб прямого и/или обратного потока позволяет путем соединения и отсоединения отдельных труб менять скорость образования пара и, соответственно, режим работы системы.
Согласно еще одному предпочтительному варианту выполнения системы, который представлен в п.27, предлагается ограничивать теплообмен между оборотной водой и земным телом в верхней области скважины в том месте, где температура земного тела ниже температуры оборотной воды, и увеличивать интенсивность теплообмена в нижней области скважины в том месте, где температура земного тела больше температуры оборотной воды. Предлагаемое в этом варианте решение позволяет и ограничить попадание в скважину загрязненной воды из верхних слоев породы, в которой пробурена скважина.
Вариант системы, предложенной в п.28, является особенно предпочтительным, поскольку обеспечивает снижение гидравлического сопротивления системы благодаря наличию сквозных отверстий, выполненных в нижней части разделительной трубы, и отсутствию в этом месте труб прямого потока.
Необходимая глубина бурения скважины зависит от профиля температуры земной коры. В тех местах, где предположительно нет резко выраженных геотермальных аномалий, скважины в соответствии с п.29 предлагается бурить на глубину от 2500 до 12000 метров. Однако возможно бурение и более глубоких скважин.
Еще один вариант повышения эффективности теплообмена между оборотной водой и земным телом, предлагаемый в п.30, основан на бурении в горячем земном теле боковых отводов. Такие отводы можно выполнить глухими, однако более предпочтительными являются отводы, которые выходят из скважины и снова соединяются с ней. Наличие таких боковых отводов увеличивает поверхность теплопередачи и существенно повышает эффективность работы использующего земную энергию теплообменника. Более простыми в бурении являются предлагаемые в п.31 боковые отводы, которые проходят по существу в том же направлении, что и сама скважина с теплообменными трубами. В п.32 предлагаются радиальные боковые отводы, расположенные в зонах наибольшей температуры и позволяющие при меньшей поверхности теплопередачи получить больше водяного пара и, соответственно, больше содержащейся в нем тепловой энергии.
В качестве теплообменника, работающего на получаемом водяном пару, можно использовать в соответствии с п.33 устройство для прямого потребления энергии пара, а в соответствии с п.34 - теплообменник, в котором тепловая энергия пара передается другому теплоносителю. В последнем случае можно, в частности, контур оборотной воды выполнить замкнутым, исключив тем самым возможность падения давления и засорения оборотной воды различными минералами, из-за наличия которых обычно происходит заиливание системы. Этот вариант обладает целым рядом преимуществ при получении из геотермальной энергии электрического тока. В такой системе геотермальную энергию можно использовать для получения не только электрической энергии, но и тепла, потребление которого позволяет дополнительно уменьшить температуру обратного потока оборотной воды и повысить за счет этого эффективность всей системы. В п.35 для повышения эффективности системы предлагается для привода электрического генератора использовать турбину, работающую по циклу ORC (цикл Ренкина на органическом рабочем теле).
Ниже изобретение более подробно рассмотрено на примере нескольких возможных вариантов его осуществления со ссылками на прилагаемые чертежи, на которых показано:
![]() | ![]() |
![]() |
Фиг.1 - схема предлагаемой в изобретении системы в вертикальном разрезе.
Фиг.2 - схематичное изображение в увеличенном масштабе системы труб в разрезе горизонтальной плоскостью II-II по фиг.1.
Фиг.3 - схематичное изображение в увеличенном масштабе системы труб в разрезе горизонтальной плоскостью III-III по фиг.1.
![]() | |
![]() |
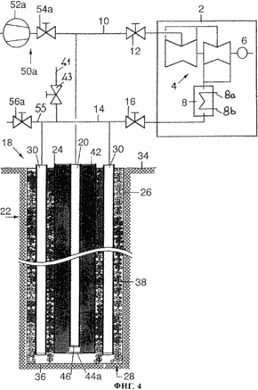
Фиг.4 - схема выполненной по другому варианту предлагаемой в изобретении системы в вертикальном разрезе.
Фиг.5 - схема показанной на фиг.4 системы в вертикальном разрезе с другой схемой наземного оборудования и трубопроводов.
Фиг.6 - схема, на которой в вертикальном разрезе изображена емкость для сбора оборотной воды.
![]() | ![]() |
Фиг.7 - схема показанного в вертикальном разрезе устройства, предназначенного для подачи и заполнения системы средой, создающей в ней повышенное давление, под действием которого из системы вытесняется находящаяся в ней вода.
Фиг.8 - схема предлагаемой в изобретении системы с циркуляционными насосами в вертикальном разрезе.

Фиг.9 - вертикальный разрез отдельных деталей использующего земную энергию теплообменника с проходящими радиально боковыми отводами.
ПРЕДПОЧТИТЕЛЬНЫЕ ВАРИАНТЫ ОСУЩЕСТВЛЕНИЯ ИЗОБРЕТЕНИЯ
На фиг.1 показана система, предназначенная для использования геотермальной энергии, например, в энергообменнике (или теплообменнике) 2. Теплообменник 2 состоит предпочтительно из многоступенчатой турбины 4 привода электрического генератора 6 и установленного на выходе из турбины 4 устройства 8 для потребления тепловой энергии, которое представляет собой, например, обычную тепловую сеть. Теплообменник 2 через регулируемые запорные клапаны 12 и 16, установленные соответственно в линии 10 прямого потока и линии 14 обратного потока, соединен с использующим земную энергию теплообменником 18, который содержит по меньшей мере две расположенные в скважине 22 теплоизолированные трубы 20 и 20а прямого потока. Трубы 20 и 20а прямого потока расположены внутри разделительной трубы 24, между которой и стенкой 26 скважины находится область 28 обратного потока, в которой расположены трубы 30 обратного потока. Верхняя часть 32 области 28, в которой расположены трубы 30 обратного потока, уплотнена на глубину T1, которая предпочтительно составляет 2000-2500 метров от земной поверхности 34, а ее нижняя часть заполнена пористым наполнителем 38, например гравием, уложенным на дно 36 скважины. В проходящих через пористый наполнитель 38 стенках труб 30 обратного потока выполнены повышающие эффективность теплообмена отверстия 40, через которые вода и/или водяной пар, попадающий из труб 30 обратного потока в пористый наполнитель, после нагревания в наполнителе может вновь попасть в трубы 30 обратного потока. Для пополнения системы оборотной водой в случае ее утечки или испарения предназначена соединенная с линией 14 обратного потока подводящая магистраль 41 с запорным клапаном 43.
Для повышения эффективности системы пространство между трубами 20 или 20а прямого потока и разделительной трубой 24 заполняется изоляционным материалом 42. Трубы 20 и 20а прямого потока не доходят до дна 36 скважины на расстояние Т3 , равное предпочтительно 400 м, и на всем этом участке в разделительной трубе 24 выполнены отверстия 44. Трубы 20 и 20а прямого потока соединяются между собой их открытыми концами 46 и 46а.
На земной поверхности 34 первая труба 20 прямого потока соединяется с линий 10 прямого потока. Вторая труба 20а прямого потока соединяется с линией 10 прямого потока через регулируемый запорный клапан 48. Соединяемое с системой устройство 50, предназначенное для заполнения системы создающей в ней повышенное давление средой, выполнено в данном случае в виде насосной установки, состоящей по меньшей мере из одного нагнетательного насоса 52 и регулируемого соединительного клапана 54. Такая установка с нагнетательным насосом соединяется с линией 10 прямого потока в точке, расположенной между первой трубой 20 прямого потока и запорным клапаном 12. В качестве нагнетательного насоса 52 можно использовать гидравлический насос, предназначенный предпочтительно для перекачивания горячей воды, или компрессор, предназначенный для перекачивания сжатого воздуха. Сливная магистраль 55, в которой установлен сливной клапан 56, отходит от соединенного с линией 10 прямого потока трубопровода в точке, расположенной между второй трубой 20а прямого потока и запорным клапаном 48.
До начала работы системы, показанной на фиг.1, в использующем земную энергию теплообменнике 18 находится обычно оборотная вода. Поскольку трубы 30 обратного потока и трубы 20 и 20а прямого потока соединены между собой в нижней части скважины 22, уровень воды в трубах 20 и 20а прямого потока по существу равен уровню воды в трубах 30 обратного потока. Давление столба воды, находящейся в трубах 20 и 20а прямого потока и в трубах 30 обратного потока, препятствует отбору горячего водяного пара из использующего земную энергию теплообменника. Для запуска системы, показанной на фиг.1, первую трубу 20 прямого потока необходимо соединить с нагнетательным насосом 50, открыв для этого соединительный клапан 54 и предварительно закрыв запорный клапан 48, установленный между трубами 20 и 20а прямого потока, и запорные клапаны 12 и 16, установленные на линии 10 прямого потока и на линии 14 обратного потока. При подключении к системе нагнетательного насоса оставшаяся в трубе 20 прямого потока вода проходит через вторую трубу 20а прямого потока и сливается из системы через открытый сливной клапан 56. После слива из системы старой оборотной воды и ее замены горячей водой или после вытеснения воды из труб 20 и 20а прямого потока сжатым воздухом в использующем земную энергию теплообменнике 18 начинается процесс образования водяного пара. Одновременно с этим закрываются клапан 54, соединяющий насосную установку 50 с линией прямого потока, и сливной клапан 56 и открывается запорный клапан 48. После открытия запорного клапана 16, установленного в линии 14 обратного потока, и заполнения использующего земную энергию теплообменника 18 оборотной водой через открытый запорный клапан 12 начинается отбор из теплообменника 18 образующегося в нем водяного пара. Образующийся в использующем земную энергию теплообменнике водяной пар не только приводит в движение находящуюся в системе воду, но и служит источником энергии, необходимой для ее циркуляции (оборота) по замкнутому контуру системы. Температуру, давление и/или количество водяного пара в линии 10 прямого потока можно регулировать запорным клапаном 10. При увеличении количества отбираемого из теплообменника пара его температура падает, и, наоборот, с уменьшением количества отбираемого пара его температура возрастает.
Для повышения эффективности теплообмена в скважине 22 на расстоянии Т2 (ниже расстояния T1) от земной поверхности, равном минимум 500 м, можно пробурить показанные на чертеже глухие боковые отводы 58 или условно изображенные штрих-пунктирной линией 58а и более предпочтительные сквозные боковые отводы. В боковых отводах можно разместить заполненные пористым наполнителем 38а трубы 59 с выполненными в их стенке отверстиями 59а. Бурение сквозных боковых отводов 58а можно начать на глубине 500-4000 м, а на глубине 2500-12000 м их следует вывести в скважину 22, увеличив тем самым поверхность теплопередачи. Очевидно, что вместо одного показанного на чертеже бокового отвода предлагаемая в изобретении система может иметь и несколько боковых отводов, расположенных в определенном порядке вокруг скважины с трубами.
На фиг.2 схематично показано поперечное сечение системы, изображенной на фиг.1, горизонтальной плоскостью II-II на глубине от 1000 до 12000 м от земной поверхности 34. Диаметр D показанной на фиг.2 скважины с трубами составляет от 150 до 500 мм. Пространство внутри разделительной трубы 24 между трубами 20 и 20а прямого потока заполнено теплоизолирующим материалом 42. В кольцевом пространстве 60 скважины 22 между разделительной трубой 24 и стенкой 26 скважины расположены по окружности на некотором расстоянии друг от друга, например четыре трубы 30 обратного потока. Не занятая трубами 30 обратного потока часть кольцевого пространства 60 заполнена пористым наполнителем 38. В стенках труб 30 обратного потока выполнены сквозные отверстия 40.
На фиг.3 схематично показано поперечное сечение изображенной на фиг.1 системы горизонтальной плоскостью, расстояние Т3 от которой до дна 36 скважины составляет, например, 400 метров. В этой плоскости (и ниже) разделительная труба 24 имеет сквозные отверстия 44, а расположенное ниже этой плоскости внутреннее пространство разделительной трубы, в котором нет ни труб прямого потока, ни теплоизоляционного материала, используется как свободное пространство, в котором собирается водяной пар.
Запуск системы, после которого в ней начинается процесс образования водяного пара, происходит при температуре свыше 100°С. Температура, при которой работает энергообменник 2, превышает 100°С и предпочтительно составляет (в линии 10 прямого потока) 350-370°С. В многоступенчатой паровой турбине 4 энергообменника 2 водяной пар охлаждается до температуры, меньшей 100°С, и в результате конденсации превращается в оборотную воду, которая подается в устройство 8, потребляющее тепловую энергию, например в теплообменник. Нагревающийся до приблизительно 90°С в теплообменнике теплоноситель выходит из теплообменника по трубопроводу 8а и после охлаждения в системе потребления тепла до температуры около 20°С по трубопроводу 8b возвращается обратно в теплообменник. Выходящая из теплообменника 8 и, соответственно, из энергообменника 2 оборотная вода имеет температуру 25-30°С и с такой температурой по линии 14 обратного потока поступает в трубы 30 обратного потока.
На фиг.4 показана система, в которой в отличие от системы, показанной на фиг.1, используется только одна труба 20 прямого потока. Область 28 обратного потока в этом варианте выполнения системы соединяется с расположенным в нижней области скважины 22 входным отверстием 46 трубы 20 прямого потока через одно или несколько сквозных отверстий 44а, выполненных в разделительной трубе 24. Альтернативно этому всю нижнюю область скважины 22 в этом варианте можно выполнить аналогично нижней области скважины, показанной на фиг.1 и 3. Трубы 30 обратного потока соединяются с расположенным между использующим земную энергию теплообменником 18 и запорным клапаном 16 участком линии 14 обратного потока, которая заканчивается сливным трубопроводом 55 с установленным на нем сливным клапаном 56а. Линия 14 обратного потока соединена и через запорный клапан 43 с трубопроводом 41, по которому в нее подается свежая или очищенная оборотная вода. Предназначенное для подачи в систему среды, создающей в ней повышенное давление, устройство 50а (насосная установка по меньшей мере с одним нагнетательным насосом 52а и соединительным клапаном 54а) соединяется с линией 10 прямого потока системы в точке, расположенной между использующим земную энергию теплообменником 18 и запорным клапаном 12.
Для запуска системы, показанной на фиг.4, необходимо закрыть запорный клапан 12, установленный на линии 10 прямого потока, и запорный клапан 16, установленный на линии 14 обратного потока, и открыть соединительный клапан 54а, соединив систему с насосной установкой 50а. Под действием давления, создаваемого насосной установкой, находящаяся в трубе 20 прямого потока оборотная вода вытесняется из трубы в нижнюю область скважины и сливается из использующего земную энергию теплообменника через трубы 30 обратного потока и расположенный над земной поверхностью 34 сливной клапан 56а. После слива воды из трубы 20 прямого потока и ее заполнения горячей водой в использующем земную энергию теплообменнике 18 начинается процесс образования водяного пара. В этот момент закрывают сливной клапан 56а и клапан 54а, через который линия 10 прямого потока соединяется с насосной установкой 50а. Нормальный процесс оборота (циркуляции) воды начинается в системе после открытия запорного клапана 16, установленного на линии 14 обратного потока, и запорного клапана 12, установленного на линии 10 прямого потока, под действием давления пара, образующегося в использующем земную энергию теплообменнике.
На фиг.5 показана расположенная на земной поверхности часть системы, изображенной на фиг.4, с устройством 50а, которое предназначено для подачи в систему среды, создающей в ней повышенное давление, и которое в отличие от варианта, показанного на фиг. 1 и 3, соединено не с линией 10 прямого потока, а с линией 14 обратного потока в точке, расположенной между использующим земную энергию теплообменником 18 и запорным клапаном 16. Сливной трубопровод 55 с установленным на нем сливным клапаном 56b соединен с линией 10 прямого потока в точке, расположенной между использующим земную энергию теплообменником 18 и запорным клапаном 12. В этом варианте для запуска системы необходимо закрыть запорные клапаны 12, 16, установленные в линии 10 прямого потока и в линии 14 обратного потока, соответственно открыть соединительный клапан 54b и с помощью насосной установки 50b по сливному трубопроводу 55 при открытом сливном клапане 56b слить воду по меньшей мере из одной трубы 30 обратного потока и трубы 20 прямого потока (или заполнить их горячей водой). После слива воды из системы или ее заполнения горячей водой сливной клапан 56b и соединительный клапан 54b необходимо закрыть. После открытия запорного клапана 12, установленного на линии 10 прямого потока, в энергообменник 2 начинает поступать водяной пар, образующийся в использующем земную энергию теплообменнике. Необходимая для образования пара вода попадает в горячую зону использующего земную энергию теплообменника после открытия запорного клапана 16 по линии 14 и трубам 30 обратного потока из включаемого на определенное время не показанного на схеме отдельного нагнетательного насоса, и/или из расположенного в нижней области скважины земного тела, и/или из трубопровода 41, соединенного с линией 14 обратного потока через запорный клапан 43.
В таких системах оборотную воду, которая при запуске системы вытесняется из использующего земную энергию теплообменника 18 через сливные клапаны 56, 56а, 56b и сливную трубу 56, целесообразно не сбрасывать в окружающую среду, а аналогично показанному на фиг.6 варианту собирать в отдельной емкости 62. Собираемую в емкости оборотную воду 64 можно очищать, например удалять из нее осадки 66, и деминерализовать и после этого при необходимости вновь использовать в системе, добавляя ее в систему по трубопроводу 41 через открытый запорный клапан 43. Если в результате соответствующих измерений окажется, что количество примесей в оборотной воде превышает допустимые пределы, то емкость 62 можно вообще использовать для периодической обработки воды, такой как очистка, деминерализация и т.д., и доведения ее до состояния, позволяющего использовать ее для работы системы. Предлагаемая в изобретении очистка воды решает проблему загрязнения окружающей среды, связанную со сливом в нее очень грязной оборотной воды. Очистка и при необходимости обработка вытесняемой из системы оборотной воды позволяют пополнять систему водой с оптимальным составом, что, с одной стороны, защищает систему от повреждения, в частности от возможной коррозии, а с другой стороны, защищает расположенное вокруг использующего земную энергию теплообменника 18 земное тело от нежелательного воздействия различных содержащихся в воде примесей.
На фиг.7 показан еще один вариант выполнения устройства 50с, предназначенного для создания в системе повышенного давления, которое в этом варианте выполнено не в виде показанных на фиг.1-4 насосных установок, из которых в систему в качестве создающей в ней повышенное давление среды подается сжатый воздух или вода, а в виде устройства, которое предназначено для испарения оборотной воды 64 в трубе 20b прямого потока с получением водяного пара, который используется в качестве среды, создающей в системе повышенное давление и вытесняющей оборотную воду 64 из трубы 20b прямого потока. Предлагаемое в этом варианте устройство, предназначенное для создания в системе повышенного давления, представляет собой погружной нагреватель 68, который опускают в заполненную оборотной водой 64 трубу 20b прямого потока и центрируют в ней с помощью боковых направляющих элементов 70. Погружной нагреватель 68 опускают в трубу на стальном канате 72, который через расположенный в крышке 76 трубы 20b прямого потока пневматический (гидравлический) затвор 74 выходит из трубы наружу к лебедке 80, огибая перед этим направляющий ролик 78. К погружному нагревателю 68 подходит электрический кабель 82, который и проходит через пневматический затвор 74 к лебедке 86, огибая расположенный перед ней направляющий ролик 84. Обе лебедки 80, 86 могут вращаться в противоположных направлениях от одного приводного двигателя 88 и общей механической передачи 90. Соединенный с лебедками 80, 86 погружной нагреватель 68 при запуске системы постепенно опускается в трубе по мере изменения уровня находящейся в ней оборотной воды, которая постепенно испаряется и вытесняется из трубы вплоть до начала образования в использующем земную энергию теплообменнике пара, под действием давления которого в системе начинается циркуляция оборотной воды. После этого, изменив направление вращения лебедок 80, 86, погружной нагреватель 68 можно поднять в исходное положение.
На фиг.8 показана расположенная на земной поверхности часть изображенной на фиг.5 системы, в которой для ее заполнения средой, создающей в ней повышенное давление, вместо изображенного на фиг.5 устройства 50b используются циркуляционные насосы 92 и 94, установленные соответственно в линии 14 обратного потока и при необходимости в линии 10 прямого потока. Сливной трубопровод 55 с установленным на нем сливным клапаном 56b соединен с линией 10 прямого потока в точке, расположенной за циркуляционным насосом 94. Линия 14 обратного потока через запорный клапан 43 соединена с трубопроводом 41. Установленный в замкнутом контуре системы энергообменник 2а имеет второй контур 96, прямая и обратные ветви которого 96а и 96b соответственно соединяют систему с одним или несколькими устройствами, потребляющими тепловую энергию, такими как турбины (например, турбины турбогенераторов), или с системами отопления или другими аналогичными потребителями тепла. В этом варианте использования системы отпадает необходимость в установке на линиях 10 и 14 прямого и обратного потока соответствующих запорных клапанов 12 и 16. Для запуска системы необходимо включить циркуляционные насосы 92, 94 и прокачивать по замкнутому контуру системы оборотную воду до тех пор, пока она не нагреется до соответствующей температуры, при которой во время слива из системы по трубопроводу 55 некоторого количества оборотной воды и происходящего при этом падения давления в системе образование пара и циркуляция оборотной воды будут происходить автоматически при выключенных в это время циркуляционных насосах 92, 94.
На фиг.9 показана нижняя область скважины 22, в которой в отличие от скважины, показанной на фиг.1, боковые отводы 58b проходят не вдоль продольной оси скважины 22, а по существу в радиальном направлении. Отходящие от ствола скважины 22 в радиальном направлении на некотором расстоянии от дна 36 скважины отводы 58b образуют петлю 98 и вновь подходят к стволу скважины 22 в точке, расположенной ближе к ее дну 36. Отводы 58b облицованы заполненными пористым наполнителем 38а трубами 59, в которых выполнены сквозные отверстия 59а. Наличие таких боковых отводов позволяет увеличить поверхность теплопередачи на глубине, в которой земное тело, от которого отбирают тепло, имеет высокую температуру.
ФОРМУЛА ИЗОБРЕТЕНИЯ
1. Способ обмена энергией между земными телами и энергообменником (2, 2а), который используется прежде всего для выработки электроэнергии и соединен в контуре циркуляции теплоносителя линией (10) прямого потока, по которой в него поступает водяной пар, и линией (14) обратного потока, по которой из него выходит оборотная вода, с использующим земную тепловую энергию теплообменником (18), который расположен под земной поверхностью и доходит до глубины, на которой в нем за счет тепловой энергии земного тела образуется водяной пар, отличающийся тем, что линии прямого и обратного потоков ведут в одну общую скважину (22), в которой имеется по меньшей мере одна теплоизолированная труба (20, 20а, 20b) прямого потока, окруженная разделительной трубой (24), с внешней стороны которой в радиальном направлении находится область (28) обратного потока для оборотной воды, в которой находится по меньшей мере одна труба (30) обратного потока, соединенная с линией (14) обратного потока, при этом по меньшей мере нижняя область скважины заполнена пористым наполнителем (38) и соединена с нижним входным отверстием (46, 46а) трубы (20, 20а, 20b) прямого потока по меньшей мере у дна скважины (22) через одно или несколько сквозных отверстий (44, 44а), выполненных в разделительной трубе (24).
2. Способ по п.1, отличающийся тем, что для запуска процесса циркуляции оборотной воды и образования пара используют по меньшей мере один циркуляционный насос (92, 94).
3. Способ по п.1, отличающийся тем, что для запуска процесса циркуляции оборотной воды находящийся в трубе (20, 20а, 20b) прямого потока столб воды вытесняют из нее средой, создающей в трубе повышенное давление, до тех пор, пока образующийся в скважине водяной пар с определенными параметрами не попадет в энергообменник (2, 2а).
4. Способ по п.3, отличающийся тем, что среду, создающую повышенное давление, подают в верхнюю область трубы (20, 20b) прямого потока.
5. Способ по п.3, отличающийся тем, что среду, создающую повышенное давление, подают в верхнюю область трубы (30) обратного потока.
6. Способ по любому из пп.1-5, отличающийся тем, что среду, создающую повышенное давление, предварительно нагревают.
7. Способ по любому из пп.3-6, отличающийся тем, что в качестве среды, создающей повышенное давление, используют сжатый воздух.
8. Способ по любому из пп.3-6, отличающийся тем, что в качестве среды, создающей повышенное давление, используют водяной пар, который получают предпочтительно путем непрерывного испарения столба воды, находящейся в трубе (20b) прямого потока, с помощью погружного нагревателя (68).
9. Способ по любому из пп.1-5, отличающийся тем, что в качестве среды, создающей повышенное давление, используют напорную воду.
10. Способ по любому из пп.3-6, отличающийся тем, что оборотную воду (64), которую при запуске процесса циркуляции вытесняют из трубы (20, 20а, 20b) прямого потока, собирают в отдельной емкости (62), предпочтительно обрабатывают и используют для пополнения контура циркуляции оборотной воды.
11. Способ по любому из пп.1-10, отличающийся тем, что в трубу (30) обратного потока оборотную воду подают с температурой меньше 100°С, предпочтительно с температурой 20-30°С.
12. Способ по любому из пп.1-11, отличающийся тем, что в теплообменник (2, 2а) водяной пар подают с температурой больше 100°С, предпочтительно с температурой 350-370°С.
13. Способ по любому из пп.1-12, отличающийся тем, что давление образующегося водяного пара уравновешивают путем вытеснения вниз и увеличения температуры и давления расположенного выше пара в области (28) обратного потока столба воды, из которой в области (20, 20а, 20b, 24) прямого потока, например, на глубине 7500-12000 м образуется водяной пар с давлением, например, 50-60 бар, который проходит к энергообменнику (2, 2а) предпочтительно через теплоизолированную область (20, 20а, 20b, 24) прямого потока.
14. Система для осуществления способа по любому из пп.1-13, в которой энергообменник (2, 2а) соединен линией (10) прямого потока и линией (14) обратного потока контура циркуляции оборотной воды с использующим земную тепловую энергию теплообменником (18), который имеет по меньшей мере одну расположенную в скважине (22) теплоизолированную трубу (20, 20а, 20b) прямого потока, окруженную в скважине (22) разделительной трубой (24), с внешней стороны которой в радиальном направлении находится область (28) обратного потока для оборотной воды, в которой находится по меньшей мере одна труба (30) обратного потока, соединенная с линией (14) обратного потока, при этом по меньшей мере нижняя область скважины заполнена пористым наполнителем (38) и соединена с нижним входным отверстием (46, 46а) трубы (20, 20а, 20b) прямого потока по меньшей мере у дна скважины (22) через одно или несколько сквозных отверстий (44, 44а), выполненных в разделительной трубе (24).
15. Система по п.14, отличающаяся тем, что в линии (14) обратного потока и/или в линии (10) прямого потока установлен циркуляционный насос (92, 94).
16. Система по п.14, отличающаяся наличием регулируемых запорных клапанов (12, 16), установленных на линии (10) прямого потока и на линии (14) обратного потока, и соединяемого с ней устройства (50а, 50b, 50с), которое предназначено для заполнения системы средой повышенного давления, под действием которого из трубы (20, 20а, 20b) прямого потока вытесняется оборотная вода, и для запуска процесса образования пара и его перемещения по системе, при этом такое устройство соединено либо с линией (10) прямого потока в точке, расположенной между запорным клапаном (12) и использующим тепловую земную энергию теплообменником (18), либо с линией (14) обратного потока в точке, расположенной между запорным клапаном (16) и использующим тепловую земную энергию теплообменником (18).
17. Система по п.16, отличающаяся тем, что устройство, которое предназначено для заполнения системы средой повышенного давления, представляет собой нагнетательный насос (50а, 50b).
18. Система по п.16, отличающаяся тем, что устройство, которое предназначено для заполнения системы средой, создающей в ней повышенное давление, представляет собой погружной нагреватель (50с), который можно опустить в трубу прямого потока.
19. Система по любому из пп.14-18, отличающаяся наличием расположенного на земной поверхности устройства для слива оборотной воды из трубы (20, 20а, 20b) прямого потока.
20. Система по п.19, отличающаяся тем, что устройство для слива оборотной воды содержит сливной клапан (56а), установленный в линии (14) обратного потока между использующим земную тепловую энергию теплообменником (18) и запорным клапаном (16).
21. Система по п.19, отличающаяся тем, что устройство для слива оборотной воды имеет сливной клапан (56b), установленный в линии (10) прямого потока между использующим земную тепловую энергию теплообменником (18) и запорным клапаном (12).
22. Система по любому из пп.19-21, отличающаяся тем, что устройство для слива оборотной воды содержит емкость (62) для сбора сливаемой из системы оборотной воды, соединенную подводящим трубопроводом с линией (14) обратного потока.
23. Система по любому из пп.14-22, отличающаяся наличием подводящего трубопровода (41) с запорным клапаном (43), через который вода подается в линию (14) обратного потока.
24. Система по любому из пп.14-23, отличающаяся тем, что в разделительной трубе (24) расположена по меньшей мере еще одна труба (20а) прямого потока, которая сообщается с расположенным в земле концом первой трубы (20) прямого потока и соединяется на земной поверхности (34) с другим концом первой трубы (20) прямого потока через запорный клапан (48) и которая имеет сливной клапан (56), предназначенный для слива оборотной воды, вытесняемой из первой трубы (20) прямого потока через вторую трубу (20а) прямого потока устройством (50), предназначенным для заполнения системы средой, создающей в ней повышенное давление.
25. Система по любому из пп.14-24, отличающаяся тем, что пространство между трубами (20, 20а, 20b) прямого потока и разделительной трубой (24) заполнено теплоизолирующим материалом (42).
26. Система по любому из пп.14-25, отличающаяся тем, что по меньшей мере две, предпочтительно несколько труб (30) обратного потока расположены вокруг разделительной трубы (24) в кольцевой области (60) между разделительной трубой (24) и стенкой (26) скважины.
27. Система по любому из пп.14-26, отличающаяся тем, что верхняя расположенная от земной поверхности (34) на глубине предпочтительно от 1000 до 2500 м область (32) скважины, в которой расположена труба (30) обратного потока, выполнена герметичной, а нижняя область скважины заполнена насыпанным на дно (36) скважины пористым наполнителем (38), при этом в стенке трубы (30) обратного потока выполнены сквозные отверстия (40), расположенные в заполненной пористым наполнителем нижней области скважины.
28. Система по любому из пп.14-27, отличающаяся тем, что труба (20, 20а, 20b) прямого потока заканчивается на расстоянии, предпочтительно равном 400 м от дна (36) скважины, а разделительная труба (24) имеет расположенные в этой зоне сквозные отверстия (44).
29. Система по любому из пп.14-28, отличающаяся тем, что скважина (22) имеет глубину Т от 2500 до 12000 м.
30. Система по любому из пп.14-29, отличающаяся тем, что скважина (22) имеет по меньшей мере один боковой отвод (58, 58а, 58b), конец которого сообщается со скважиной (22) предпочтительно в зоне расположения сквозных отверстий (44, 44а) разделительной трубы (24).
31. Система по п.30, отличающаяся тем, что боковой отвод (58а) проходит, по существу, вдоль скважины (22).
32. Система по п.30, отличающаяся тем, что боковой отвод (58b) проходит, по существу, в радиальном направлении скважины (22).
33. Система по любому из пп.14-32, отличающаяся тем, что энергообменник (2) имеет предпочтительно многоступенчатую турбину (4), соединенную с электрическим генератором (6), за которой предпочтительно расположено устройство (8), потребляющее тепловую энергию.
34. Система по любому из пп.14-32, отличающаяся тем, что энергообменник (2а) соединяет проходящий под землей контур циркуляции оборотной воды с другим контуром (96) циркуляции, в котором предпочтительно установлена многоступенчатая турбина с электрическим генератором.
35. Система по п.33 или 24, отличающаяся тем, что турбина (4) работает по циклу Ренкина на органическом рабочем теле.
Версия для печати
Дата публикации 08.01.2007гг
Created/Updated: 25.05.2018
|







