| Начало раздела Производственные, любительские Радиолюбительские Авиамодельные, ракетомодельные Полезные, занимательные | Хитрости мастеру Электроника Физика Технологии Изобретения | Тайны космоса Тайны Земли Тайны Океана Хитрости Карта раздела | |
| Использование материалов сайта разрешается при условии ссылки (для сайтов - гиперссылки) | |||
Навигация: => | На главную/ Каталог патентов/ В раздел каталога/ Назад / |
|
ИЗОБРЕТЕНИЕ
Патент Российской Федерации RU2166664
![]()
ДВИГАТЕЛЬ ДЛЯ УТИЛИЗАЦИИ ЭНЕРГИИ ТЕКУЩЕЙ СРЕДЫ
Имя изобретателя: Ленев Николай Иванович
Имя патентообладателя: Ленев Николай Иванович
Адрес для переписки: 660012, г.Красноярск, ул. Судостроительная 58, кв.89, Леневу Н.И.
Дата начала действия патента: 2000.06.19
Изобретение предназначено для преобразования энергии текущей среды в электрическую. Двигатель для утилизации энергии текущей среды содержит каркас с проходными окнами, установленные в каркасе с возможностью вращения валы, один из которых связан кинематически с электрогенератором. Гибкий элемент охватывает упомянутые валы и снабжен лопастями, закрепленными на нем с возможностью поворота. При этом на внутренних продольных стенах каркаса выполнены направляющие с пазами, а лопасти снабжены штырями с роликами, установленными в упомянутых пазах. Каркас размещен поперек потока текущей среды. Лопасти закреплены на гибком элементе своей средней частью и размещены с возможностью перекрывания межлопастных промежутков одной ветви лопатками другой ветви и с возможностью изменения своего положения относительно гибкого элемента на противоположное на криволинейном участке перемещения последнего, например посредством выступа, взаимодействующего с торцевой кромкой лопастей. Это позволяет максимально исключить холостой ход лопастей и исключить бесполезное протекание потока в межлопастные промежутки, что обеспечивает значительное повышение КПД двигателя.
ОПИСАНИЕ ИЗОБРЕТЕНИЯ
Изобретение относится к гидроэнергетике, в частности к устройствам для утилизации энергии текущей среды, и может быть использовано для преобразования энергии потока текущей среды, например, потока рек, в электрическую.
Известно устройство для утилизации энергии текущей среды, см., например, а. с. СССР N 1020620, F 03 B 13/12, опубликованное 30.05.1983 г. Известное устройство содержит каркас с окнами, установленные с его противоположных сторон валы, один из которых кинематически связан с электрогенератором, гибкий элемент, охватывающий упомянутые валы и снабженный лопастями. В известном устройстве лопасти профилированы и жестко закреплены на гибком элементе, а сам двигатель в рабочем состоянии размещен вдоль потока текущей среды, при этом текущая среда воздействует на лопасти, перемещая гибкий элемент, который при своем перемещении вращает валы, один из которых кинематически связан с электрогенератором, преобразуя энергию потока в электрическую энергию.
При этом текущая среда воздействует одновременно на лопасти обеих ветвей, заставляя перемещаться одну ветвь и, в то же время оказывая сопротивление перемещению второй ветви, т.е. оказывает большое сопротивление тыльным сторонам лопаток, при возврате их в рабочее положение, значительно снижая результирующую полезную движущую силу, снижая тем самым КПД устройства.
Известен и двигатель для утилизации энергии текущей среды, наиболее близкий по технической сущности к заявляемому (прототип), см. а.с. СССР 1694972, F 03 B 9/00 от 07.08.1989 г. Известный двигатель содержит каркас, установленные в каркасе с его противоположных сторон с возможностью вращения валы, один из которых кинематически связан с электрогенератором, гибкий элемент, охватывающий упомянутые валы и снабженный лопастями, закрепленными на нем с возможностью поворота, при этом на внутренних продольных стенках каркаса выполнены направляющие с пазами, а лопасти снабжены штырями с роликами, установленными в упомянутых пазах.
Известный двигатель размещен в рабочем состоянии вдоль потока, по этому рабочий ход совершает только одна ветвь, вторая ветвь совершает холостой ход, что снижает КПД двигателя. Кроме того, несмотря на горизонтальное расположение лопастей при холостом ходе, поток текущей среды воздействует на их торцы и тыльную сторону при возвращении лопастей в рабочее положение, создавая силу, противодействующую рабочему ходу, что дополнительно снижает КПД двигателя. Следует отметить и, что для снижения сопротивления потока перемещению лопастей при их холостом ходе, лопасти поворачиваются и лежат на гибком элементе, для чего они поворотно закреплены на последнем только своей нижней кромкой, а чтобы они не смещались потоком и не поджимались к гибкому элементу при своем рабочем ходе, в местах крепления вынесены пальцы и упоры, что усложняет конструкцию, а и снижает надежность работы двигателя. К тому же упомянутые пальцы и упоры размещены у основания лопастей, по этому при воздействии потока на последние возникает значительный крутящий момент, стремящийся повернуть лопасти относительно упоров, что приводит к повреждению упоров и отрыву лопастей, что и снижает надежность работы двигателя.
Задачей изобретения является создание двигателя для утилизации энергии текущей среды, размещение которого по отношению к направлению ее потока и в котором выполнение крепления лопастей на гибком элементе было бы выполнено так, чтобы максимально исключить их холостой ход, что обеспечило бы высокую надежность и высокий КПД двигателя.
Указанная задача решается тем, что в известном двигателе, содержащем погруженный в текучею среду каркас с проходными окнами, установленные в каркасе с его противоположных сторон с возможностью вращения валы, один из которых кинематически связан с электрогенератором, гибкий элемент, охватывающий упомянутые валы и снабженный лопастями, закрепленными на нем с возможностью поворота, при этом на внутренних продольных стенках каркаса выполнены направляющие с пазами, а лопасти снабжены штырями с роликами, установленными в упомянутых пазах, согласно изобретению, каркас размещен продольной стороной поперек потока текущей среды, проходные окна выполнены на продольных стенках каркаса, а на криволинейных участках движения гибкого элемента установлено с возможностью взаимодействия с лопастями средство для изменения положения последних относительно упомянутого гибкого элемента на противоположное, лопасти на гибком элементе закреплены своей средней частью и в рабочем состоянии установлены под углом к направлению потока и с возможностью перекрывания межлопастных промежутков одной ветви лопастями другой ветви, причем в каркасе выполнены по меньшей мере две пары направляющих, штыри с роликами закреплены на боковых кромках лопастей, а ролик каждого штыря установлен каждый в пазу отдельной направляющей соответствующей пары.
При этом целесообразно, чтобы по крайней мере одна из направляющих каждой пары была установлена с возможностью перемещения посредством дополнительного механизма, например винтового, размещенного на каркасе.
и целесообразно, чтобы угол наклона лопастей по отношению к направлению потока составлял 20-50o.
Удобно, чтобы гибкий элемент представлял собой цепь, трос из синтетического материала и т.п., а на криволинейном участке его перемещение было бы размещено средство для изменения положения лопастей относительно троса на противоположное.
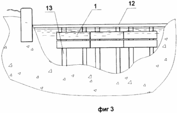
В дальнейшем изобретение поясняется описанием конкретного примера его выполнения и чертежами, где на фиг. 1 схематично изображен общий вид предлагаемого двигателя, на фиг. 2 - то же, вид сверху, на фиг. 3 - размещение ряда двигателей в русле реки.


![]() | Двигатель для утилизации энергии текущей среды содержит каркас 1, в котором на продольных стенках выполнены проходные окна 2. В каркасе 1 с возможностью вращения установлены валы 3, один из которых связан посредством цепной передачи 4 с электрогенератором 5. Указанные валы 3 охватывает гибкий элемент, в данном примере - трос 6 из синтетического материала. На тросе 6 шарнирно закреплены лопасти 7. На внутренних стенках каркаса 1 закреплены направляющие 8, по паре с каждой стороны. На боковых кромках лопастей 7 жестко закреплены штыри 9 с роликами 10. Упомянутые ролики 10 каждой лопасти 7 размещены каждый в отдельную направляющую 8, одной из пар. Для регулирования угла наклона лопастей 7 по крайней мере одна из направляющей 8 каждой пары выполнена с возможностью перемещения любым известным образом, в данном примере она снабжена на своих концах выступами (не показано), входящими свободно в пазы торцевых направляющих (не показано) и перемещающаяся посредством винтового механизма 11, на винт которого опирается. |
Лопасти 7 закреплены на тросе 6 наклонно, под оптимальным углом 30-45. Рабочий угол наклона составляет 20-50 и зависит от угла вхождения потока в проходные окна 2, который в свою очередь зависит от величины угла наклона (подъема) русла, и от скорости вхождения текущей среды. Лопасти 7 размещены на тросе 6 так, чтобы промежутки между лопастями 7 одной ветви были перекрыты лопастями 7 другой ветви, для того, чтобы исключить бесполезное протекание потока через упомянутые промежутки, при этом общая площадь поверхности лопастей 7 перекрывает площадь проходного сечения окон 2 каркаса 1. При установке двигателя в русле реки потребное количество и размеры двигателя определяются потребной мощностью электрогенератора 5, размерами и мощностью потока. При установке нескольких двигателей они кинематически связываются с общим валом отбора мощности 12 и электрогенератором 5. Двигатели крепятся к стойкам 13, установленным в русле реки.
Для того, чтобы поток всегда перемещал лопасти 7 в требуемом направлении, двигатель снабжен средством 14 для изменения положения лопастей 7 относительно троса 6 на противоположное, закрепленным на участке криволинейного перемещения троса 6 с возможностью взаимодействия с указанными лопастями 7. Указанное средство 14 в данном примере выполнено в виде выступа.
Двигатель работает следующим образом: в исходном положении каркас 1 двигателя
закрепляют под водой с помощью стоек 13. Лопасти 7 при этом установлены под углом
= 0o к направлению потока текущей среды. Далее постепенно увеличивают угол
наклона лопастей 7 к потоку под углом до 20-50. Для чего включают винтовой механизм 11, винт
которого одновременно воздействует на подвижные направляющие 8 каждой из пар,
перемещая их по торцевым направляющим (не показано), при этом штыри 9 с роликами 10
перемещаются по пазам направляющих 8, разворачивая лопасти 7. Такое постепенное
увеличение угла
наклона лопастей 7 к
направлению движения потока позволяет избежать ударных нагрузок на узлы устройства и
электрогенератора 5, что повышает надежность двигателя. Оптимальная величина угла
зависит от скорости потока и угла наклона (подъема) русла. Оптимальная величина угла
составляет 30-45o. Рабочая - 20-50o. При угле
менее 20o уменьшается сила воздействия потока на лопасти 7, а следовательно, и
величина КПД двигателя.
При
угле больше 50o резко
увеличивается сопротивление лопастей 7 потоку, что снижает надежность работы. При
повороте лопастей 7 на требуемый угол
, на
последние начинает воздействовать поток текущей среды, проходящий через входные окна 2
каркаса 1. Лопасти 7 начинают перемещаться и гибкий трос 6, на котором они закреплены,
охватывающий валы 3, приводит их во вращение. Вращение валов 3 посредством цепной
передачи 4 передается непосредственно на электрогенератор 5 или на общий вал отбора
мощности 12 (фиг. 3), если установлено несколько двигателей. При этом энергия потока
преобразуется в электрическую.
Размещение каркаса 1 своими продольными сторонами с проходящими окнами 2 поперек потока текущей среды и установка лопастей 7 на гибком тросе 6 с возможностью перекрытия межлопастных промежутков одной ветви лопастей 7 другой ветви и установка на криволинейном участке перемещения троса 6 средства 14 для изменения положения лопастей 7 относительно троса на противоположное, выполненного например, в виде выступа, с которым взаимодействует торцевая кромка лопастей 7 позволяет использовать всю движущую силу потока, не допуская его бесполезного прорыва, что увеличивает КПД двигателя. Поток текущей среды, при таком размещении лопастей 7, воздействует одновременно на лопасти 7 обеих ветвей, перемещая их только в требуемом направлении, исключая противодействие потока перемещению одной из ветвей, как в других известных устройствах максимально исключая тем самым ее холостой ход, что значительно увеличивает КПД двигателя.
Следует отметить и, что крепление штырей 9 с роликами 10 на боковых кромках лопастей 7, дополнительно увеличивают жесткость последних, повышая надежность устройства.
Выполнение гибкого элемента в виде троса 6, а не ленты, как в прототипе, позволяет снизить до минимума его прогиб и боковое смещение, что и увеличивает надежность работы двигателя и его КПД.
ФОРМУЛА ИЗОБРЕТЕНИЯ
1. Двигатель для утилизации энергии текущей среды, содержащий погруженный в последнюю каркас с проходными окнами, установленные в каркасе с его противоположных сторон с возможностью вращения валы, один из которых кинематически связан с электрогенератором, гибкий элемент, охватывающий упомянутые валы и снабженный лопастями, закрепленными на нем с возможностью поворота, при этом на внутренних продольных стенках каркаса выполнены направляющие с пазами, а лопасти снабжены штырями с роликами, установленными в упомянутых пазах, отличающийся тем, что каркас размещен своей продольной стороной поперек потока текущей среды, а проходные окна выполнены на его продольных стенках, на участке криволинейного перемещения гибкого элемента установлено с возможностью взаимодействия с лопастями средство для изменения их положения относительно упомянутого гибкого элемента на противоположное, причем лопасти на гибком элементе закреплены своей средней частью и в рабочем состоянии установлены под углом к направлению потока и с возможностью перекрывания межлопастных промежутков одной ветви лопастями другой ветви, в каркасе выполнено по крайней мере две пары направляющих, штыри с роликами закреплены на боковых кромках лопастей, а ролик каждого штыря помещен в отдельную направляющую соответствующей пары.
2. Двигатель по п.1, отличающийся тем, что по крайней мере, одна из направляющих каждой пары в каркасе установлена с возможностью перемещения, а двигатель дополнительно снабжен механизмом для перемещения указанной направляющей.
3. Двигатель по п. 1, отличающийся тем, что гибкий элемент выполнен в виде цепи или троса.
4. Двигатель по п.1, отличающийся тем, что угол наклона лопастей к направлению потока составляет 20-50°.
5. Двигатель по п.2, отличающийся тем, что механизм для перемещения продольных направляющих выполнен, например, винтовым, продольные направляющие для своего перемещения установлены на торцовых направляющих, выполненных в каркасе, соединены с ними скользящим соединением и опираются на винт упомянутого винтового механизма.
6. Устройство по п.3, отличающееся тем, что средство для изменения положения лопастей относительно троса выполнено, например, в виде упора, закрепленного на стенке каркаса или на направляющей.
НАПИСАТЬ ПИСЬМО АВТОРУ
Версия для печати
Дата публикации 22.02.2007гг
Created/Updated: 25.05.2018
|

