| Начало раздела Производственные, любительские Радиолюбительские Авиамодельные, ракетомодельные Полезные, занимательные | Хитрости мастеру Электроника Физика Технологии Изобретения | Тайны космоса Тайны Земли Тайны Океана Хитрости Карта раздела | |
| Использование материалов сайта разрешается при условии ссылки (для сайтов - гиперссылки) | |||
Навигация: => | На главную/ Каталог патентов/ В раздел каталога/ Назад / |
|
ИЗОБРЕТЕНИЕ
Патент Российской Федерации RU2192090
![]()
ТЕРМОЭЛЕКТРОННЫЙ ГЕНЕРАТОР ПОСТОЯННОГО ТОКА
Имя изобретателя: Григорчук Владимир Степанович
Имя патентообладателя: Григорчук Владимир Степанович
Адрес для переписки: 193036, Санкт-Петербург, С-36, ул. 6-я Советская, 25/20, кв.5, В.С. Григорчуку
Дата начала действия патента: 2001.02.28
Изобретение относится к электротехнике, в частности к конструированию генераторов постоянного тока. Генератор постоянного тока содержит корпус, преобразователь тепловой энергии в электрическую, клеммы. Новым является то, что преобразователь тепловой энергии в электрическую выполнен в форме тепловой трубы, представляющей собой вертикальный цилиндр, изготовленный из немагнитного теплопроводного металла. Сверху цилиндр имеет стенку с ребрами охлаждения, а снизу закрыт крышкой, соединенной с опорной плитой. Внутренний объем цилиндра разделен на верхнюю и нижнюю полости посредством перегородки, имеющей выпускной клапан, открывающийся в верхнюю полость. Верхняя и нижняя полости цилиндра соединены между собой трубопроводами, имеющими ребра охлаждения, в каждой из которых установлен впускной клапан, открывающийся в нижнюю полость. Верхняя, нижняя полости и трубопроводы заполнены легкокипящей жидкостью с добавлением окиси железа в мелкодисперсной виде, находящейся во взвешенном состоянии. Два постоянных магнита, соединенных между собой стальным сердечником, на котором установлена катушка с обмоткой, охватывают цилиндр своими разноименными полюсами. Обмотка катушки последовательно соединена с диодом и конденсатором, выводы которого подключены к клеммам генератора.
ОПИСАНИЕ ИЗОБРЕТЕНИЯ
Изобретение относится к области электротехники и может найти применение в качестве генератора постоянного тока.
Известен термоэлектронный генератор ТГК-3, состоящий из двух термобатарей с большим числом последовательно соединенных термоэлементов из металлокерамики, теплопередатчика, вытяжной трубы, ребер охлаждения, керосиновой 20-линейной лампы "Молния". Расход керосина 60-70 г/ч, вырабатываемые токи и напряжения: 2 В при токе 2 А, 2 В при токе 0,5 А, отвод 1,2 В при токе 0,36 А /Справочник радиолюбителя под общей редакцией А.А. Куликовского, изд. 5, Государственное энергетическое издательство, М., Л., 1961, с. 318-319, рис. 16.1/.
Недостатками известного термогенератора ТГК-3 являются расход органического топлива, невозможность работы от других источников тепла, низкий кпд, загрязнение окружающей среды продуктами сгорания.
Указанные недостатки обусловлены тем, что большая часть энергии тратится на освещение, а и конструкцией термоэлектронного генератора.
Известен и термоэмиссионный генератор, содержащий электроизоляционный корпус, внутри которого размещен преобразователь тепловой энергии в электрическую, выполненный в форме нагреваемого катода, охлаждаемого анода, размещенных в газовой среде. КПД - 15%, мощность 200 кВт, удельная масса 20 кг/кВт. /Морской энциклопедический словарь под ред. д.т.н. В.В. Дмитриева, т, 5, Р-Я, СПб, Судостроение, 1994, с. 213/.
Известный термоэмиссионный генератор, как наиболее близкий по технической сущности и достигаемому полезному результату, принят за прототип.
Недостатками известного термоэмиссионного генератора, принятого за прототип, являются большая удельная масса, большая разность температур между анодом и катодом, привязан к одному источнику тепла.
Указанные недостатки обусловленыконструкцией термоэмиссионного генератора.
Целью настоящего изобретения является повышение эксплуатационных качеств термогенератора.
Указанная цель согласно изобретению обеспечивается тем, что преобразователь тепловой энергии в электрическую заменен тепловой трубой, выполненной в форме вертикального цилиндра, изготовленного из немагнитного теплопроводного металла, имеющего на верхней торцевой стенке ребра охлаждения, а в нижней части закрытый крышкой, соединенной с опорной плитой, причем внутренний объем цилиндра разделен на верхнюю и нижнюю полости посредством перегородки, имеющей выпускной клапан, открывающийся в верхнюю полость, причем верхняя и нижняя полости соединены между собой трубопроводами, имеющими ребра охлаждения, внутри каждого из которых установлен впускной пластинчатый клапан, открывающийся в нижнюю полость, кроме того верхняя и нижняя полости цилиндра и трубопроводы заполнены легкокипящей жидкостью с добавлением окиси железа в мелкодисперсном виде, находящуюся во взвешенном состоянии, двумя постоянными магнитами, соединенными между собой стальным сердечником и охватывающими своими разноименными полюсами вертикальный цилиндр, катушкой с обмоткой, закрепленной на стальном сердечнике, конденсатором, соединенным последовательно с обмоткой катушки и диодом, выводы которого электрически связаны о клеммами.
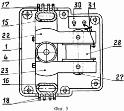
Сущность изобретения поясняется чертежами, где на фиг. 1 изображен общий вид генератора постоянного тока; на фиг. 2 - вид cбоку на генератор постоянного тока; на фиг. 3 - вид сверху на генератор постоянного тока; на фиг. 4 - вид спереди на генератор постоянного тока в разрезе; на фиг. 5 - вид сверху на генератор постоянного тока при снятых крышках с частичным разрезом; на фиг. 6 - устройство тепловой трубы в разрезе; на фиг. 7 - вид сверху на тепловую трубу; на фиг. 8 - общий вид левого постоянного магнита; на фиг. 9 - вид сверху на левый постоянный магнит; на фиг. 10 - общий вид овального сердечника; на фиг. 11 - общий вид катушки; на фиг. 12 - электрическая схема генератора постоянного тока; на фиг. 13 - принцип действия генератора постоянного тока; на фиг. 14 - график тока, протекающего через обмотку катушки; на фиг. 15 - график тока, снимаемого с конденсатора потребителем.
![]() | ![]() |
![]() | ![]() |
![]() | ![]() |
![]() | ![]() |
![]() | ![]() |
![]() | ![]() |
![]() | |
![]() | ![]() |
Генератор постоянного тока содержит корпус 1, закрытый сверху крышками 2, 5, внутри которого размещен преобразователь тепловой энергии в электрическую, представляющий собой тепловую трубу, выполненную в форме цилиндра 4, изготовленного из немагнитного теплопроводного металла и установленного вертикально. Сверху цилиндр имеет торцевую стенку с ребрами охлаждения 5, а снизу закрыт крышкой 6, к которой посредством стопорного кольца 7 прикреплена опорная плита 8. Внутренний объем цилиндра разделен перегородкой 9, закрепленной стопорными кольцами 10, на верхнюю 11 и нижнюю 12 полости. Перегородка имеет выпускной клапан 13, нагруженный пружиной 14, и выпускные отверстия. Выпускной клапан открывается в верхнюю полость. Верхняя и нижняя полости цилиндра соединены между собой трубопроводами 15, 16, имеющими ребра охлаждения 17, 18, внутри которых установлены впускные клапаны 19, 20, открывающиеся в нижнюю полость. Трубопроводы в местах соединения с тепловой трубой имеют теплоизоляционные прокладки, не показанные на чертеже. Цилиндр и трубопроводы на 4/5 объема заполнены легкокипящей жидкостью 21 с добавлением окиси железа в мелкодисперсном виде, находящуюся во взвешенном состоянии или другого магнитного материала. Примерный состав легкокипящей жидкости: эфир 65-70%, глицерин 10-15%, окись железа или другого магнитного материала 20%. Размеры зерен порошка окиси железа и компонентов жидкости должны обеспечивать равномерное распределение порошка по всему объему. Окись железа не должна выпадать в осадок. Левый 22 и правый 25 постоянные магниты одинаковы по конструкции и отличаются друг от друга только направлением магнитной индукции. Каждый из постоянных магнитов содержит отверстия 24, 25 и сферическую поверхность 26. Оба постоянных магнита соединены друг с другом посредством стального сердечника 27 и прикреплены к корпусу. На сердечник надета катушка 28, на которую намотана обмотка 29. Постоянные магниты своими сферическими поверхностями и соответственно разноименными полюсами охватывают цилиндр тепловой трубы. Внутри корпуса установлен конденсатор 30 большой емкости, соединенный последовательно с обмоткой катушки и диодом 31. Выводы конденсатора подключены к клеммам 32, 33, установленными на одной из крышек корпуса.
РАБОТА ГЕНЕРАТОРА ПОСТОЯННОГО ТОКА
Для получения электрической энергии необходимо поставить генератор постоянного тока своей опорной плитой 8 на любую ровную поверхность, являющуюся источником тепла. Нагреваясь, опорная плита 8 станет передавать тепло цилиндру 4 тепловой трубы. Находящаяся в нижней полости 12 легкокипящая жидкость 21 станет кипеть, испаряться и расширяться, создавая повышенное давление. Впускные клапаны 19, 20 закроются. Как только сила давления превысит силу действия пружины 14 выпускной клапан 13 откроется и легкокипящая жидкость 21 с окисью железа выбрасывается через выпускные отверстия вверх, в верхнюю лопасть 11, пересекая магнитные силовые линии постоянных магнитов 22, 23 (фиг.13). При этом изменяется магнитный лоток, пересекающий витки обмотки 29 и в ней возникает электрический ток. Когда выпускной клапан 13 закрыт магнитный поток левого 22 и правого 23 постоянных магнитов не изменяется и ток в обмотке 29 катушки 28 не течет. На фиг. 14 видно, что протекающий через обмотку 29 катушки 28 ток является пульсирующим, его величина сначала растет до определенного предела, затем уменьшается до нуля. Достигнув верхней части верхней полости 11 легкокипящая жидкость охлаждается, отдает тепло ребрам охлаждения 5, 17, 18, конденсируется и стекает по трубопроводам 15, 16 в нижнюю полость 12 цилиндра 4, открывая впускные клапаны 19, 20, вследствие того, что в нижней полости 11 создалось разряжение в момент выброса легкокипящей жидкости. Затем все повторяется сначала. Таким образом, периодически в нижней полости 11 создается избыточное давление, открывается выпускной клапан 13, выбрасывается легкокипящая жидкость в верхнюю полость 12, открываются впускные клапаны 19, 20, впуская в нижнюю полость отработанную охлажденную легкокипящую жидкость, а в обмотке 29 катушки 28 периодически возникают импульсы электрического тока. Время между импульсами тока (на фиг. 14 заштрихованные участки), частота следования этих импульсов зависят от температуры нагрева опорной плиты 8, температуры кипения легкокипящей жидкости и силы действия пружины 14 выпускного клапана 13. Пульсирующий ток, возникающий в обмотке 29, через диод 31 поступает на конденсатор 30 и постепенно заряжает его, доводя разность потенциалов на его обкладках до определенной величины. В моменты, когда ток в обмотке 29 не протекает (на фиг.14 заштрихованные участки) диод 31 отключает ее от конденсатора 30, не допуская разряда последнего. Ток, снимаемый с конденсатора, будет постоянным по направлению и величине, как показано на фиг. 15.
Генератор постоянного тока может быть использован в экспедициях, турпоходах и в других случаях, когда нужна электроэнергия и есть какие-либо источники тепла (О тепловой трубе, см. Физический энциклопедический словарь, гл. ред. A.М. Прохоров, М., Советская энциклопедия, 1985, с. 745).
Положительный эффект: может работать при небольшой разнице температур, использование любого источника тепла, небольшой вес, высокая мобильность.
ФОРМУЛА ИЗОБРЕТЕНИЯ
Генератор постоянного тока, содержащий корпус, преобразователь тепловой энергии в электрическую, клеммы, отличающийся тем, что преобразователь тепловой энергии в электрическую выполнен в форме тепловой трубы, представляющей собой вертикальный цилиндр, изготовленный из немагнитного теплопроводного металла, имеющий на верхней торцевой стенке ребра охлаждения, а в нижней части закрытый крышкой, соединенной с опорной плитой, причем внутренний объем цилиндра разделен на верхнюю и нижнюю полости посредством перегородки, имеющей выпускной клапан, открывающийся в верхнюю полость, причем верхняя и нижняя полости цилиндра соединены между собой трубопроводами, имеющими ребра охлаждения, внутри каждого из которых установлен впускной клапан, открывающийся в нижнюю полость, к тому же верхняя, нижняя полости и трубопроводы заполнены легкокипящей жидкостью с добавлением окиси железа в мелкодисперсном виде, находящейся в жидкости во взвешенном состоянии, кроме того, два постоянных магнита, соединенных между собой стальным сердечником, охватывают цилиндр в средней части своими противоположными полюсами, а катушка закреплена на стальном сердечнике, обмотка которой соединена последовательно с диодом и конденсатором, выводы которого подключены к клеммам.
Версия для печати
Дата публикации 15.11.2006гг
Created/Updated: 25.05.2018
|















