| Начало раздела Производственные, любительские Радиолюбительские Авиамодельные, ракетомодельные Полезные, занимательные | Хитрости мастеру Электроника Физика Технологии Изобретения | Тайны космоса Тайны Земли Тайны Океана Хитрости Карта раздела | |
| Использование материалов сайта разрешается при условии ссылки (для сайтов - гиперссылки) | |||
Навигация: => | На главную/ Каталог патентов/ В раздел каталога/ Назад / |
|
ИЗОБРЕТЕНИЕ
Патент Российской Федерации RU2158990
![]()
САМОВОЗБУЖДАЮЩИЙСЯ ИСТОЧНИК ЭЛЕКТРОЭНЕРГИИ НА
БИОХИМИЧЕСКОЙ ОСНОВЕ
Имя изобретателя: Ренато Алессандро ОЛИВЕТИ
Имя патентообладателя: ИНГ. АЛЕССАНДРО ОЛИВЕТИ С.р.л.
Адрес для переписки: 129010, Москва, ул. Большая Спасская 25, стр.3, ООО "Городисский и Партнеры", Емельянову Е.И.
Дата начала действия патента: 1995.01.18
Изобретение относится к источникам тока на биохимической основе.
Техническим результатом изобретения является создание источника тока с улучшенными характеристиками. Согласно изобретению самовозбуждающийся источник электроэнергии на биохимической основе содержит внутри контейнера для электролита анод с покрытием из биохимической смеси, первый электрод и второй электрод, электроизолированные друг от друга и погруженные в электролит. Кроме того, предусмотрен электростимулятор, присоединенный между анодом и первым электродом. Нагрузка потребителя может быть присоединена между вторым электродом и анодом.
ОПИСАНИЕ ИЗОБРЕТЕНИЯ
Изобретение относится к самовозбуждающемуся источнику электроэнергии на биохимической основе.
Как известно, используемые в настоящее время электрические батареи основаны на обратимости электролиза и обычно требуют использования материалов, относящихся к сильно загрязняющим окружающую среду, таких как материал свинцовых пластин и кислоты для электролитов.
Помимо этого чисто экологического аспекта известные в настоящее время батареи, даже изготовленные по наиболее передовой технологии, обычно имеют большой вес и требуют значительных затрат.
Другой недостаток заключается в том, что современные батареи обычно отличаются ограниченным сроком службы и для своей зарядки требуют длительного периода времени.
Задача изобретения состоит в решении вышеуказанных проблем путем создания источника электроэнергии нового типа, основанного на совершенно другом принципе выработки энергии, с практическим использованием биохимических явлений для генерации электрической энергии с возможностью непрерывно регенерировать источник без его перезарядки, как это требуется в устройствах, известных из предшествующего уровня техники.
В рамках решаемой задачи конкретная цель изобретения состоит в создании источника электроэнергии, представляющего собой новый, альтернативный нефти источник энергии, не требующий применения экологически вредных элементов.
Другая цель изобретения заключается в создании источника энергии, отличающегося повышенным сроком службы и меньшим весом по сравнению с обычными электрическими батареями.
Еще одна цель настоящего изобретения состоит в создании источника электроэнергии, который может быть легко изготовлен из обычных промышленных материалов и элементов, оставаясь при этом конкурентоспособным с экономической точки зрения.
Перечисленные и иные цели изобретения, рассматриваемые ниже, достигаются в соответствии с изобретением созданием самовозбуждающегося источника электрической энергии на биохимической основе, отличающегося тем, что он содержит внутри контейнера для электролита анод, покрытый биохимическим соединением, первый электрод и второй электрод, электрически изолированные один от другого и погруженные в электролит, а и электростимулятор, присоединенный между анодом и первым электродом, при этом нагрузка включена между вторым электродом и анодом.
Дополнительные характеристики и преимущества изобретения станут понятными из последующего подробного описания примера осуществления самовозбуждающегося источника электроэнергии на биохимический основе, иллюстрируемого чертежами, на которых представлено следующее:

фиг. 1 - вид в разрезе источника электроэнергии, выполненного согласно изобретению

Фиг. 2 - вид с частичным вырезом, иллюстрирующий форму анода

Фиг. 3 - схематичное представление выпрямителя на биохимической основе

Фиг. 4 - схематичное представление другого
примера выполнения источника
электроэнергии
в соответствии с
изобретением

Фиг. 5 - вид в разрезе контейнера;
![]() Фиг. 6 - вид сбоку пластин, образующих катод, анод и электрод-возбудитель | ![]() Фиг. 7 - вид сбоку пластин с пространственным разнесением отдельных элементов |

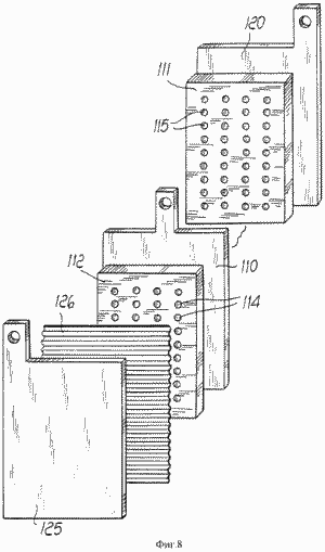
Фиг. 8 - пространственное представление пластин, раздвинутых одна относительной другой.
Показанный на фиг. 1 и 2 самовозбуждающийся источник электроэнергии на биохимической основе изобретения содержит контейнер 1, внутри которого находится электролит 2, предпочтительно представляющий собой полужидкий раствор, состоящий из чистого ацетата никеля в 70% дважды перегнанной воды.
Внутри контейнера 1 размещен анод, в целом обозначенный цифрой 3 и состоящий из пластины 4 из чистого никеля, на сторонах которого нанесено смолистое биохимическое соединение 5. Биологическое соединение представляет собой латекс молочая, переведенный в смолистое состояние в коллоидном растворе, содержащем 10% окиси алюминия и 30% чистого ацетата никеля.
Биохимическое соединение нанесено на поверхность панелей 6, имеющих отверстия 7 и наложенных на поверхность пластины 4.
При сборке панели прессуют примерно в течение 12 часов, в результате чего происходит полная адгезия биохимического соединения со всеми точками, соответствующими отверстиям 7.
Внутри контейнера 1 находятся первый электрод 10 и второй электрод 11, обращенные друг к другу и к аноду 3, не имеющие, однако, непосредственной электрической связи.
Для увеличения взаимосвязанных поверхностей электроды 10 и 11 имеют U-образную форму с тем, чтобы они и располагались по боковым сторонам анода 3.
Электростимулятор 20 включен между первым электродом 10 и катодом 3. Он может представлять собой осциллятор, формирующий колебания прямоугольной формы или генератор импульсов, индуцируемых вращающимся магнитом.
Действие электростимуляции на биохимическое соединение имеет целью повышение напряжения и тока, которые в сотни раз превышают их значения, необходимые для электростимулятора.
Первый электрод 10 в предпочтительном случае изготовлен из кадмия, второй электрод 12 изготовлен из электролитического алюминия.
Нагрузка, обозначенная в целом цифрой 15, схематически представленная переменным сопротивлением, может быть приложена между вторым электродом 11 и анодом 3. Разумеется нагрузка может быть изменена любым приемлемым путем.
Для регенерации генератора в электролите предусмотрен контейнер 30 с активным материалом. В качестве активного вещества может быть использована смесь хлорида натрия с 30% калия, а контейнер представляет собой фильтр, который может быть введен в расширение 32 основного контейнера и присоединен так, чтобы обеспечивать протекание жидкости.
Тот же самый конструктивный принцип лежит в основе биохимического выпрямителя напряжения, показанного на фиг. 3 и состоящего из контейнера 40, в который помещают раствор 41 латекса молочая, сконденсированного в горячем состоянии и смешанного в холодном состоянии с 20%-нымводным раствором аммиака и 10%-ным раствором бикарбоната натрия.
В раствор помещены два электрода 35 и 36: электрод 35 образован пластиной из электролитического алюминия, а электрод 36 образован платиновой проволочкой, диаметр которой 1 мм и кончик 37 которой контактирует с раствором, в то время как остальная часть корпуса покрыта изоляционной оболочкой 38.
Первый электрод соединен с цепью переменного тока, в то время как электрод 36 образует вторичную цепь с тем, чтобы обеспечить выпрямление на выходе с преобразованием переменного тока в постоянный.
Согласно еще одному варианту, показанному на фиг. 4 - 8, самовозбуждающийся источник электроэнергии на биохимической основе, выполненный согласно изобретению, содержит контейнер 101, изготовленный из электроизоляционного материала и герметически закрытый сверху крышкой 102.
Контейнер 101 помещен во внешний корпус 103, образующий вместе с контейнером 101 промежуточное пространство 104, в котором с помощью циркуляционного насоса 105 циркулирует охлаждающая жидкость. Прохождением охлаждающей жидкости через теплообменник 106 поддерживается заданная температура охлаждающей жидкости, циркулирующей в промежуточном пространстве 104.
Внутри контейнера 101 находится биохимическая жидкость, предпочтительно на основе сыворотки молочая, состав и получение которой приводятся ниже.
Анод 110 погружен в биохимическую жидкость и образован пластиной из никеля чистотой 99%, предпочтительно с размерами 15 х 18 см при толщине 3 мм.
На большие стороны анода 110, предпочтительно с размерами 14 х 17 см при толщине 6 мм, нанесен первый слой 111 и второй слой 112 электроизоляционного материала.
В слоях 112 и 113 предусмотрены сквозные отверстия 114, расположенные таким образом, что их оси составляют прямой угол с поверхностью анода 110. В предпочтительном случае диаметр отверстий 6 мм, и отверстия расположены на расстоянии в 3 мм одно от другого.
Внутрь отверстий 114 вводят биохимическое соединение 116, состав которого приводится ниже.
Катод 120, приложенный к первому слою 111, образован кадмиевой пластиной, предпочтительно с размерами 15 х 18 см при толщине 2 мм.
Приложенный к второму слою 112 электрод-возбудитель 125 образован пластиной из электролитического алюминия предпочтительно с размерами 15 х 18 см при толщине 4 мм.
Между электродом 125 и вторым слоем 112 размещен электроизолирующий элемент, образованный рифленым листом 126, поддерживающим заданное расстояние между вторым слоем 112 и электродом-возбудителем 125.
Между анодом 110 и электродом-возбудителем 125 включен возбудитель, предпочтительно в виде статического осциллятора 130 прямоугольного колебания, который на начальном этапе вызывает самовозбуждение биохимической жидкости.
Предусмотрен и выключатель 135 для селективного активирования возбудителя и блока регенерирования. Выключатель 135 отключает возбудитель после того, как энергия начинает поступать к нагрузке 140.
Выключатель соединяет блок регенерирования биохимической жидкости, содержащий амперометрический преобразователь 141, запускающий мотор 142, предназначенный для доливки регенерированной жидкости. Мотор 142 приводит в движение вал 143, на котором предусмотрены противофазные эксцентрики 144 и 145, действующие на насос 146 для подачи доливаемой жидкости, поступающей из доливочного резервуара 147 и на насос 148 для восстановления жидкости, откачиваемой из элемента и протекающей в контейнере 101, и подачи затем в резервуар-коллектор 149.
Включение амперометрического преобразователя 141 является непосредственной функцией выработанной энергии, и соответственно количество доливочной жидкости возрастает по мере увеличения выработанной электроэнергии и уменьшается с уменьшением энергии.
Внутри контейнера 101 предусмотрен и блок для перемешивания 150, состоящий из ротора 151 в защитном кожухе 152, соединенного с валом 153, выходящим через уплотнение из контейнера и приводимым в движение соответствующим мотором 154.
Мешалка предназначена для поддержания биохимической жидкости внутри элемента в постоянном движении.
Для получения биохимического соединения и биохимической жидкости применяют молочай. Молочай относится к тропическим растениям семейства Euphorbiaceae, и с химической точки зрения содержащийся в его тканях молокообразный сок состоит на 60% из углерода и на 40% из водорода, т.е. классифицируется как углеводород с теми же характеристиками, что и у нефти. Латекс молочая ядовит, имеет резкий запах и смолист.
Для получения биохимической жидкости и биохимического соединения собирают молочай и помещают примерно на 24 часа в чан вместе с водой, которая полностью его покрывает.
Например, 1200 г молочая мелко измельчают, затем погружают в воду и выдерживают в таком состоянии, как упомянуто выше, в течение 24 часов.
Содержащуюся в массе воду отделяют затем декантированием с получением в результате сыворотки молочая.
Вымоченное растение выдерживают примерно 3 часа при 80oC с добавлением порциями при постоянном перемешивании 100 г чистого ацетата никеля.
После охлаждения смеси ее смешивают с 150 г бихромата калия, 50 г окиси алюминия и 50 г водного раствора аммиака, после чего вновь кипятят примерно 20 минут.
К этому моменту соединение становится смолистым, и его шпателем вводят в отверстия 114 слоев 111 и 112, которые наложены на анод 10, таким образом, что содержащееся в отверстиях 114 соединение 116 плотно прилипает к металлу.
По окончании предварительной операции для осуществления контакта с биохимическим соединением на одну из сторон накладывают кадмиевую пластину, а на другую сторону накладывают изоляционный лист и затем алюминиевую пластину с тем, чтобы алюминиевая пластина, образующая возбуждающий электрод, оставалась изолированной от биохимического соединения.
И наконец, после получения пакета из трех электродов пакет, как показано на фиг. 6, подвергают действию давления в 1 кг массы примерно в течение 24 часов возможно в окружающем воздухе.
Для получения биохимической жидкости ранее экстрагированную сыворотку молочая в количестве 600 г смешивают с 80 г промышленного ацетата никеля, 50 г калия и определенным количеством воды двойной перегонки, полностью покрывающей пластины.
В результате получают элемент, генерирующий напряжение в 2,02 вольта и 0,3 ампера на каждый квадратный сантиметр поверхности анода.
Доливочную жидкость получают применением хлорида натрия, например чистой каменной соли в смеси с 30% калия.
Из вышеприведенного описания следует, что изобретение обеспечивает достижение поставленных целей, в частности обеспечено создание источника энергии с непрерывной выработкой тока с использованием доступного активного материала, образуемого хлоридом натрия в смеси с 30% калия.
К вышеизложенному необходимо добавить, что внутри контейнера для удаления из циркулирующего электропроводного раствора каких-либо остаточных микроскопических отработанных частиц может быть предусмотрен электростатический фильтр, и возможно пополнение веществ, диспергируемых в процессе работы.
Ранее упомянуто, что смолистый продукт получают использованием растительных материалов семейства Euphorbiaceae. Следует указать, что наилучшие результаты получены с Calenzola peptus и т.п.
Очевидно, что изобретение может быть осуществлено с разнообразными модификациями и вариациями, которые входят в объем изобретения.
Все детали могут быть заменены другими техническими эквивалентными элементами.
ФОРМУЛА ИЗОБРЕТЕНИЯ
-
Самовозбуждающийся источник электроэнергии на биохимической основе, отличающийся тем, что содержит внутри контейнера для электролита анод с покрытием из биохимического соединения, первый электрод и второй электрод, электроизолированные друг от друга и погруженные в электролит, кроме того, предусмотрен электростимулятор, присоединенный между анодом и первым электродом, при этом нагрузка присоединена между вторым электродом и анодом.
-
Источник электроэнергии по п. 1, отличающийся тем, что электролит представляет собой полужидкий раствор, состоящий из чистого ацетата никеля в 70% воды двойной перегонки.
-
Источник электроэнергии по п. 1 или 2, отличающийся тем, что анод выполнен в виде пластины из чистого никеля, на стороны которой нанесено смолистое биохимическое соединение.
-
Источник электроэнергии по любому из пп.1 - 3, отличающийся тем, что смолистое биохимическое соединение образовано латексом молочая, переведенным в смолистое состояние, в коллоидном растворе с 10% окиси алюминия и 30% чистого ацетата никеля.
-
Источник электроэнергии по любому из пп.1 - 4, отличающийся тем, что биохимическое соединение нанесено на поверхность панелей, в которых выполнены отверстия и которые наложены на указанную пластину.
-
Источник электроэнергии по любому из пп.1 - 5, отличающийся тем, что при сборке панели прессуют в течение примерно 12 ч для полной адгезии биохимического соединения с отверстиями.
-
Источник электроэнергии по любому из пп.1 - 6, отличающийся тем, что первый электрод и второй электрод обращены друг к другу и выполнены в U-образной форме с тем, чтобы они располагались по боковым сторонам анода.
-
Источник электроэнергии по любому из пп.1 - 7, отличающийся тем, что первый электрод выполнен из кадмия.
-
Источник электроэнергии по любому из пп.1 - 8, отличающийся тем, что второй электрод выполнен из электролитического алюминия.
-
Источник электроэнергии по любому из пп.1 - 9, отличающийся тем, что электростимулятор выполнен в виде осциллятора.
-
Источник электроэнергии по любому из пп.1 - 10, отличающийся тем, что электростимулятор выполнен в виде генератора импульсов, индуцируемых вращающимся магнитом.
-
Источник электроэнергии по любому из пп.1 - 11, отличающийся тем, что с боковой стороны контейнера выполнено расширение, связанное с контейнером с обеспечением возможности протекания жидкости, предназначенное для ввода активного материала для регенерации источника.
-
Источник электроэнергии по любому из пп.1 - 12, отличающийся тем, что активный материал содержит соединение хлорида натрия с 30% калия.
-
Источник электроэнергии по любому из пп.1 - 13, отличающийся тем, что активный материал размещен в фильтре, предназначенном для введения в упомянутое расширение контейнера.
-
Источник электроэнергии по любому из пп.1 - 14, отличающийся тем, что латекс молочая получен из растительных продуктов семейства Euphrobiaaceae, предпочтительно Calenzola peptus и т.п.
-
Самовозбуждающийся источник электроэнергии на биохимической основе, отличающийся тем, что внутри контейнера с биохимической жидкостью размещены анод, выполненный в виде никелевой пластины, на поверхности которой нанесены слои электроизоляционного материала, причем в слоях имеются сквозные отверстия, в которых биохимическое соединение введено внутрь анода, катод, выполненный в виде кадмиевой пластины, наложенной на один из слоев, электрод-возбудитель в виде алюминиевой пластины, наложенной на другой из слоев с промежуточным положением между пластиной и слоем электроизоляционного элемента, при этом между анодом и электродом-возбудителем присоединен возбудитель, а между анодом и катодом присоединена нагрузка, а и источник содержит блок регенерирования биохимической жидкости.
-
Источник электроэнергии по п.16, отличающийся тем, что содержит внешний корпус, образующий вместе с контейнером промежуточное пространство для циркулирования охлаждающей жидкости.
-
Источник электроэнергии по п.16 или 17, отличающийся тем, что электроизоляционный элемент выполнен в виде рифленого листа, предназначенного для разделения алюминиевой пластины от биохимического соединения.
-
Источник электроэнергии по любому из пп.16 - 18, отличающийся тем, что возбудитель выполнен в виде статического осциллятора прямоугольных колебаний.
-
Источник электроэнергии по любому из пп.16 - 19, отличающийся тем, что блок регенерирования биохимической жидкости содержит амперометрический преобразователь, предназначенный для запуска мотора для доливки регенерируемой жидкости, связанного с валом, на котором установлены противофазные эксцентрики, действующие на насос для подачи регенерируемой жидкости из доливочного резервуара, и насоса для восстановления жидкости, удаляемой из элемента и текущей внутри контейнера, предназначенного для подачи жидкости в резервуар-коллектор.
-
Источник электроэнергии по любому из пп.16 - 20, отличающийся тем, что содержит выключатель для селективного активирования возбудителя и блока регенерирования.
-
Источник электроэнергии по любому из пп.16 - 21, отличающийся тем, что внутри контейнера размещен блок для перемешивания биохимической жидкости.
-
Источник электроэнергии по любому из пп.1 - 22, отличающийся тем, что блок для перемешивания содержит ротор в защитном кожухе, соединенный с валом, выходящим через уплотнение из контейнера, а и предусмотрен мотор для вращения вала.
-
Источник электроэнергии по любому из пп.1 - 23, отличающийся тем, что биохимическая жидкость содержит 600 г сыворотки молочая, 80 г промышленного ацетата никеля, 50 г калия и воду двойной перегонки в количестве, достаточном для полного покрывания указанных пластин.
-
Источник электроэнергии по любому из пп.1 - 24, отличающийся тем, что регенерационная жидкость содержит хлорид натрия, например, чистую каменную соль в смеси с 30% калия.
-
Источник электроэнергии по любому из пп.1 - 25, отличающийся тем, что содержит размещенный в контейнере электростатический фильтр, предназначенный для удаления из циркулирующего электроводного раствора остаточных микроскопических отработанных частиц.
-
Способ получения биохимического соединения, отличающийся тем, что вымачивают 1200 г измельченного молочая погружением его на 24 ч в воду, после вымачивания воду декантируют с извлечением сыворотки молочая; замоченный молочай выдерживают примерно 3 ч при 80oC с добавлением порциями при непрерывном перемешивании 100 г чистого ацетата никеля; затем массу охлаждают и смешивают с 150 г биохромата калия, 50 г окиси алюминия и 50 г водного аммиака, кипятят 20 мин с получением смолистой смеси, представляющей собой упомянутое биохимическое соединение.
Версия для печати
Дата публикации 05.11.2006гг
Created/Updated: 25.05.2018
|


