| Начало раздела Производственные, любительские Радиолюбительские Авиамодельные, ракетомодельные Полезные, занимательные | Хитрости мастеру Электроника Физика Технологии Изобретения | Тайны космоса Тайны Земли Тайны Океана Хитрости Карта раздела | |
| Использование материалов сайта разрешается при условии ссылки (для сайтов - гиперссылки) | |||

Фиг.1 - схема, иллюстрирующая основную структуру системы, вырабатывающей электрическую энергию, с топливным элементом и с комбинированным циклом согласно первому варианту осуществления настоящего изобретения.

фиг.2 - схема, иллюстрирующая структуру системы, вырабатывающей электрическую энергию, с топливным элементом и с комбинированным циклом согласно второму варианту осуществления настоящего изобретения.

фиг.3 - схема, иллюстрирующая структуру системы, вырабатывающей электрическую энергию, с топливным элементом и с комбинированным циклом согласно третьему варианту осуществления настоящего изобретения.

фиг.4 - схема, иллюстрирующая структуру системы, вырабатывающей электрическую энергию, с топливным элементом и с комбинированным циклом согласно четвертому варианту осуществления настоящего изобретения.

фиг.5 - схема, иллюстрирующая типичную конфигурацию основного конструктивного оборудования в четвертом варианте осуществления настоящего изобретения.

фиг.6 - схема, иллюстрирующая структуру системы, вырабатывающей электрическую энергию, с топливным элементом и с комбинированным циклом согласно пятому варианту осуществления настоящего изобретения.

фиг.7 - схема, иллюстрирующая структуру системы, вырабатывающей электрическую энергию, с топливным элементом и с комбинированным циклом согласно шестому варианту осуществления настоящего изобретения.

фиг.8 - схема, иллюстрирующая структуру системы, вырабатывающей электрическую энергию, с топливным элементом и с комбинированным циклом согласно седьмому варианту осуществления настоящего изобретения.

фиг.9 - схема, иллюстрирующая структуру системы, вырабатывающей электрическую энергию, с топливным элементом и с комбинированным циклом согласно восьмому варианту осуществления настоящего изобретения.

фиг.10 - схема, иллюстрирующая структуру системы, вырабатывающей электрическую энергию, с топливным элементом и с комбинированным циклом согласно девятому варианту осуществления настоящего изобретения.

фиг.11 - изображение для пояснения пылеуловителя с подвижным слоем.

фиг.12 - упрощенный поперечный разрез, иллюстрирующий подробную структуру установки для риформинга топлива.

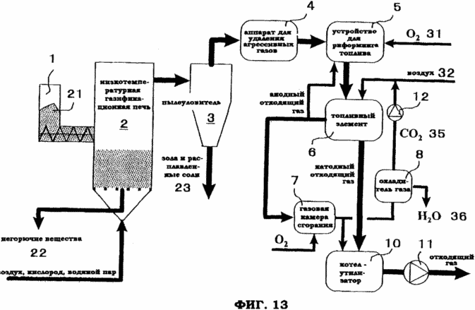
фиг.13 - схема, иллюстрирующая структуру системы, вырабатывающей электрическую энергию, с топливным элементом и с комбинированным циклом согласно десятому варианту осуществления настоящего изобретения.

фиг.14 - схема, иллюстрирующая структуру системы, вырабатывающей электрическую энергию, с топливным элементом и с комбинированным циклом согласно одиннадцатому варианту осуществления настоящего изобретения.

фиг.15 - схема, иллюстрирующая структуру системы, вырабатывающей электрическую энергию, с топливным элементом и с комбинированным циклом согласно двенадцатому варианту осуществления настоящего изобретения.

фиг.16 - детализированное изображение для пояснения устройства подачи исходного материала.

фиг.17 - схема, иллюстрирующая структуру системы, вырабатывающей электрическую энергию, с топливным элементом и с комбинированным циклом согласно тринадцатому варианту осуществления настоящего изобретения.

фиг.18 - схема, иллюстрирующая структуру системы, вырабатывающей электрическую энергию, с топливным элементом и с комбинированным циклом согласно четырнадцатому варианту осуществления настоящего изобретения.

фиг.19 - схема, иллюстрирующая структуру системы, вырабатывающей электрическую энергию, с топливным элементом и с комбинированным циклом согласно пятнадцатому варианту осуществления настоящего изобретения.

фиг.20 - схема, иллюстрирующая структуру системы, вырабатывающей электрическую энергию, с топливным элементом и с комбинированным циклом согласно шестнадцатому варианту осуществления настоящего изобретения.

фиг.21 - схема, иллюстрирующая структуру системы, вырабатывающей электрическую энергию, с топливным элементом и с комбинированным циклом согласно семнадцатому варианту осуществления настоящего изобретения.

фиг.22 - схема, иллюстрирующая структуру системы, вырабатывающей электрическую энергию, с топливным элементом и с комбинированным циклом согласно восемнадцатому варианту осуществления настоящего изобретения.

фиг.23 - схема, иллюстрирующая основную структуру системы, вырабатывающей электрическую энергию, с топливным элементом и с комбинированным циклом согласно настоящему изобретению.

фиг.24 - схема, иллюстрирующая первый вариант структуры технологического процесса очистки газа, входящего в систему, вырабатывающую электрическую энергию, с топливным элементом и с комбинированным циклом согласно настоящему изобретению.

фиг.25 - схема, иллюстрирующая второй вариант структуры технологического процесса очистки газа, входящего в систему, вырабатывающую электрическую энергию, с топливным элементом и с комбинированным циклом согласно настоящему изобретению.
Created/Updated: 25.05.2018
|
