| Начало раздела Производственные, любительские Радиолюбительские Авиамодельные, ракетомодельные Полезные, занимательные | Хитрости мастеру Электроника Физика Технологии Изобретения | Тайны космоса Тайны Земли Тайны Океана Хитрости Карта раздела | |
| Использование материалов сайта разрешается при условии ссылки (для сайтов - гиперссылки) | |||
Навигация: => | На главную/ Каталог патентов/ В раздел каталога/ Назад / |
|
| 1-я страница | 2-я страница | 3-я страница |
ИЗОБРЕТЕНИЕ
Патент Российской Федерации RU2203518
АППАРАТ ДЛЯ ВЫРАБОТКИ ЭНЕРГИИ НА НОВЫХ ФИЗИЧЕСКИХ ПРИНЦИПАХ - КОНВЕРТЕР
![]()
Имя заявителя: Богданов Игорь Глебович
Имя изобретателя: Богданов Игорь Глебович
Имя патентообладателя: Богданов Игорь Глебович
Адрес для переписки: 111402, Москва, ул. Старый Гай, 6-1-151, И.Г.Богданову
Дата начала действия патента: 2000.07.04
Изобретение относится к электротехнике, а именно к аппаратам для выработки энергии. Технический результат изобретения, заключающийся в обеспечении возможности использования вырабатываемой аппаратом энергии, достигается путем того, что аппарат для выработки энергии на новых физических принципах, содержащий устройство вращения, содержащее статор и ротор, причем ротор содержит вращаемое вещество и выполнен с возможностью вращаться вокруг оси, содержит, по крайней мере, одно устройство использования энергии излучений и полей, создаваемых вращающимся ротором, выполненное около ротора с возможностью использовать энергию излучений и полей, создаваемых вращающимся ротором, при этом ротор содержит, по крайней мере, один слой вращаемого вещества, выполненный с возможностью обеспечения возможности движения носителей заряда в слое вдоль двумерной поверхности.
ОПИСАНИЕ ИЗОБРЕТЕНИЯ
Изобретение относится к области устройств для выработки энергии.
Изобретение может быть использовано для создания источников энергии для тепловых электростанций, для тепловых энергетических сетей, теплоэнергоцентралей для обогревания городов, для бортовых электростанций различных тяговых систем и различных видов транспорта, например летательных аппаратов, морских кораблей, и для создания электростанций на новых физических принципах. и изобретение может содержать в качестве составного элемента ускоритель Богданова для осуществления управляемой реакции термоядерного синтеза. Вместе с ускорителем Богданова аппарат может входить в состав термоядерных реакторов и в состав термоядерных электростанций, созданных на основе этого ускорителя.
и изобретение может использоваться для создания в атмосфере плазменных лучей, позволяющих сваривать большие металлические и железобетонные конструкции, нагревать грунт до температуры кипения, испарять и перемещать значительные массы грунта, что позволяет рыть каналы, котлованы для водохранилищ и карьеры для добычи полезных ископаемых.
Известен аппарат для выработки энергии на новых физических принципах конвертер Мейера, запатентованный в 1990 году Стенли Мейером, в котором энергия сгорания кислорода и водорода превышала энергию, затраченную на их разложение [1] . Этот конвертер прошел успешное испытание на автомобиле марки "Фольгсваген". Расход воды из расчета на 100 км составлял менее трех литров.
Недостатком конвертера Мейера являетсямалая величина мощности выработки энергии, которая не превышает мощности автомобильного мотора.
Известен аппарат для выработки энергии на новых физических принципах конвертер Морея, сделанный в 1937 году американским изобретателем доктором Мореем, который потреблял 100 Вт энергии, а выдавал 3,5 кВт [1]. Устройство весило 25 кг и и имело антенну. В 1939 году тем же Мореем был разработан конвертер мощностью 50 кВт.
Недостатком конвертера Морея является малая величина мощности выработки энергии, которая не превышает 50 кВт.
Известен аппарат для выработки энергии на новых физических принципах конвертер Тесла, двигательная установка в легковом автомобиле, испытанная в 1931 году Николой Тесла [1]. Машину разгонял источник электроэнергии с так называемым аномальным энергобалансом (конвертер), когда на выходе получается больше энергии, чем подается на вход. Точная схема не известна, но в сообщениях фигурировали электровакуумные приборы и антенна. Автомобиль достиг скорости 130 км в час.
Недостатком конвертера Тесла является малая величина мощности выработки энергии, которая не превышает мощности автомобильного мотора.
Известен аппарат для выработки энергии на новых физических принципах конвертер Хайда - электростатический конвертер мощностью 20 кВт, патент на который был получен в 1991 году в США доктором Уильямом Хайдом [1]. Потребляемая на входе энергия составляла 10% от получаемой на входе.
Недостатком конвертера Хайда являетсямалая величина мощности выработки энергии, которая не превышает 20 кВт.
Известен аппарат для выработки энергии на новых физических принципах конвертер Чуканова - конвертер, созданный американским ученым К. Чукановым для генерации "шаровых молний" [1]. В ходе испытаний обнаружилось, что затрачиваемая на образование шарового сгустка плазмы энергия в 10 раз меньше энергии, выделяющейся при его разрушении.
Недостатком конвертера Чуканова являетсямалая частота повторения импульсов высокого напряжения, которые требуются для создания сгустков плазмы. Из ускорительной техники известно, что мощные батереи конденсаторов, создающие такие импульсы, работают с частотой всего несколько импульсов в сутки.
Известен аппарат для выработки энергии на новых физических принципах диск Сирла, использующий вырабатываемую энергию для создания тяги на новых физических принципах (Диск Серла, Царля, Шарля) [2,3], содержащий ротор, содержащий вращаемое вещество, выполненное как замагниченное кольцо, закрепленное на системе скольжения, выполненной в виде системы роликов, выполненной с возможностью вращаться вокруг оси. Аппарат для выработки энергии снабжен устройством вращения, выполненным с возможностью вращать ротор, выполненный в виде замагниченного кольца. Устройство вращения разгоняет электромагнитными силами замагниченное кольцо, закрепленное на роликах, до большого числа оборотов и вращает с большой скоростью. Кольцо, начиная с некоторой скорости вращения, самопроизвольно ускоряется, теряет вес и после этого взлетает. Был произведен управляемый полет аппарата из Лондона на полуостров Корнуолл и обратно, что в общей сложности составляет 600 км.
Недостатком аппарата для выработки энергии диска Серла является использование вырабатываемой энергии только для создания тяги.
Задачей, стоящей перед изобретением, является обеспечение возможности использования вырабатываемой аппаратом энергии для других целей, кроме создания тяги.
Указанная задача решается тем, что аппарат для выработки энергии на новых физических принципах, содержащий, по крайней мере, один ротор и, по крайней мере, одно устройство вращения, выполненное с возможностью вращать ротор, содержащий вращаемое вещество и выполненный с возможностью вращения вокруг оси на системе скольжения, дополнительно содержит, по крайней мере, одно устройство использования энергии излучений и полей, создаваемых вращающимся ротором, выполненное около ротора с возможностью использовать энергию излучений и полей, создаваемых вращающимся ротором.
Устройство использования энергии излучений и полей, создаваемых вращающимся ротором, содержит котел с жидкостью или с газом.
Устройство использования энергии излучений и полей, создаваемых вращающимся ротором, содержит генератор, выполненный с возможностью выработки электроэнергии, при этом генератор соединен с котлом и с системой охлаждения котла.
Устройство использования энергии излучений и полей, создаваемых вращающимся ротором, содержит МГД генератор.
Устройство использования энергии излучений и полей, создаваемых вращающимся ротором, содержит, по крайней мере, один ускоритель, содержащий систему питания, магнитную катушку, вакуумную камеру, систему фокусировки, ускоряющие электроды, систему подачи ускоряемого рабочего тела, по крайней мере, один конденсатор, высоковольтный генератор, содержащий устройство, вызывающее перенос зарядов, уединенный проводник (основной уединенный проводник), причем внутри проводника выполнена система подачи ускоряемого рабочего тела, при этом вакуумная камера содержит стенки, выполненные из изолятора в виде изолирующих труб, и в камере выполнено устройство удержания на весу элементов ускорителя, выполненное с возможностью удерживать на весу элементы ускорителя, образующие составные части ускорителя, причем устройство, вызывающее перенос зарядов, содержит, по крайней мере, один внешний конденсатор и батарею соединенных последовательно внутренних конденсаторов, выполненных внутри вакуумной камеры так, что две крайние обкладки крайних внутренних конденсаторов батареи совмещены с обкладками внешнего конденсатора, при этом между обкладками, по крайней мере, одного конденсатора выполнен зазор, в котором нет диэлектрика, причем, по крайней мере, один внешний конденсатор электрически соединен с основным уединенным проводником. При этом устройство, вызывающее перенос зарядов, выполнено с возможностью вызывать перенос зарядов между обкладками внешнего конденсатора через внутренние конденсаторы либо механически, либо электрическим полем, либо излучением радиоактивных изотопов. Причем устройство выполнено с возможностью вызывать перенос зарядов определенного знака в сторону одной обкладки внешнего конденсатора и не вызывать перенос в сторону другой обкладки, вдобавок, устройство удержания на весу элементов ускорителя выполнено с возможностью удерживать на весу внутри вакуумной камеры, по крайней мере, одну обкладку внешнего конденсатора и основной уединенный проводник так, чтобы обкладка конденсатора и уединенный проводник не касались стенок вакуумной камеры.
Устройство, вызывающее перенос зарядов, содержит, по крайней мере, одну трубу с жидкостью или газом, соединенную с системой охлаждения, при этом с трубой через систему клапанов соединен, по крайней мере, один котел, выполненный около ротора, причем внутри трубы выполнена, по крайней мере, одна турбина, выполненная с возможностью вращения под напором жидкости или газа, соединенная с генератором, выполненным с возможностью вырабатывать электроэнергию во время вращения турбины. При этом генератор соединен с ускорителем электронов, а ускоритель электронов выполнен на одной стороне пластины, а с другой стороны пластины ускорителя электронов нет.
Устройство использования энергии излучений и полей, создаваемых вращающимся ротором, содержит более двух ускорителей, кроме того, между ускорителями выполнено устройство для внесения мишени для термоядерной реакции, при этом в точке пересечения осей ускорителей предусмотрено внесение мишени для термоядерной реакции, причем ускорители выполнены симметрично относительно точки расположения мишени и соединены в драйвер.
По крайней мере два устройства вращения с роторами выполнены под элементом ускорителя, при этом роторы выполнены симметрично относительно вертикальной линии, проходящей через ось симметрии элемента ускорителя. Устройство, вызывающее перенос зарядов, содержит проводящие пластины, выполненные между обкладками внешнего конденсатора, при этом на поверхности пластины, обращенной к одной обкладке внешнего конденсатора, выполнены эмиссионные катоды, а на поверхности пластины, обращенной к другой обкладке внешнего конденсатора, эмиссионных катодов нет, кроме того, пластина совмещена с обкладкой внутреннего конденсатора. Аппарат для выработки энергии на новых физических принципах содержит, по крайней мере, один проводящий экран, выполненный рядом, по крайней мере, с одним ротором, при этом экран содержит проводящий материал, причем экран выполнен с возможностью экранировать электромагнитное излучение, при этом рядом с ротором выполнено устройство использования энергии излучений и полей, создаваемых вращающимся ротором. В экране около вращаемого вещества выполнено, по крайней мере, одно окно. При этом рядом с окном выполнено устройство использования энергии излучений и полей, создаваемых вращающимся ротором.
Ротор выполнен в виде кольца. Ротор с вращаемым веществом выполнен в виде диска. Устройство вращения выполнено в виде электродвигателя, содержащего ротор и статор. Ротор содержит кольцо, выполненное в виде замагниченного кольца. Вращаемое вещество содержит ферромагнитный материал. Вращаемое вещество содержит парамагнитный материал.
Вокруг оси устройства вращения выполнена система скольжения, содержащая, по крайней мере, одну систему роликов, соединенных с устройством вращения, при этом ролики выполнены с возможностью обеспечить ротору возможность вращаться вокруг оси устройства.
Аппарат содержит выполненную около устройства вращения, по крайней мере, одну индукционную катушку и систему питания индукционной катушки. Индукционная катушка выполнена вокруг ротора, при этом ось ротора параллельна плоскости витков индукционной катушки.
Ротор содержит кольцо, содержащее, по крайней мере, один виток обмотки, намотанной на кольцо, при этом обмотка электрически изолирована от кольца, причем ось витка лежит в плоскости кольца, при этом обмотка занимает угловой сегмент кольца не более половины поверхности кольца. Обмотка содержит сверхпроводник.
Устройство вращения соединено с проводящим экраном, выполненным из проводящего материала, причем в экране выполнено, по крайней мере, одно окно с возможностью свободного прохода через окно электромагнитного излучения, кроме того, экран выполнен вокруг устройства вращения и окружает устройство вращения.
Ротор содержит криостат, при этом криостат выполнен внутри ротора.
Ротор содержит двумерный проводник. Плоскость максимальной проводимости двумерного проводника перпендикулярна оси ротора.
Двумерный проводник выполнен в виде проводящей пленки, при этом плоскость пленки перпендикулярна оси кольца или диска.
Ротор содержит кольцо или диск, причем кольцо или диск содержит слоистый кристалл, при этом плоскость максимальной проводимости слоистого кристалла перпендикулярна оси кольца или диска.
Ротор содержит кольцо или диск, причем кольцо или диск содержит, по крайней мере, две структуры, содержащие, по крайней мере, два слоя двумерного проводника, кроме того, между слоями двумерного проводника выполнен диэлектрик, при этом структура выполнена в виде пластины, причем между пластинами выполнены зазоры пустого пространства. При этом пластины соединены друг с другом и образуют кольцо или диск, причем зазор открыт со стороны боковой поверхности кольца или диска.
Ротор содержит, по крайней мере, две структуры, содержащие, по крайней мере, два слоя двумерного проводника, при этом между слоями двумерного проводника выполнен диэлектрик, причем диэлектрик выполнен в виде волновода.
Ротор содержит, по крайней мере, одну структуру, содержащую, по крайней мере, два слоя двумерного проводника, при этом энергия Ферми материала слоя двумерного проводника с ростом расстояния от поверхности ротора не убывает, причем, либо энергия Ферми, по крайней мере, в двух соседних слоях двумерного проводника не меняется, либо возрастает в соседних слоях в направлении от поверхности ротора вглубь ротора с ростом расстояния от поверхности ротора.
Двумерный проводник выполнен в виде пленки.
Плоскость максимальной проводимости двумерного проводника перпендикулярна оси кольца или диска.
Двумерный проводник выполнен в виде проводящей пленки, при этом плоскость пленки перпендикулярна оси кольца или диска.
Аппарат содержит подвес, соединенный с устройством вращения и с ротором, выполненный с возможностью обеспечить возможность ротору свободно вращаться при перемещениях и вращениях аппарата.
Подвес выполнен в виде карданного подвеса, соединенного с устройством вращения, при этом устройство соединено с ротором, причем подвес выполнен с возможностью обеспечить возможность ротору свободно вращаться при перемещениях и вращениях аппарата.
Ротор содержит жидкость, при этом устройство вращения выполнено с возможностью вращать жидкость. Жидкость выполнена в виде ртути или в виде ферромагнитной жидкости.
Подвес выполнен в виде карданного подвеса, соединенного с устройством вращения, при этом устройство соединено с экраном и ротором, причем подвес выполнен с возможностью обеспечить возможность ротору свободно вращаться при изменении угла наклона устройства использования энергии излучений и полей, создаваемых вращающимся ротором.
Аппарат содержит, по крайней мере, одну дополнительную катушку продольного магнитного поля, выполненную с возможностью создавать во вращающемся веществе магнитное поле вдоль оси вращения. Дополнительные катушки продольного магнитного поля выполнены вокруг оси вращения.
Устройство вращения содержит, по крайней мере, одну дополнительную катушку поперечного магнитного поля, выполненную с возможностью создавать во вращающемся веществе магнитное поле поперек оси вращения, при этом силовые линии катушки идут перпендикулярно оси вращения.
Устройство использования энергии излучений и полей, создаваемых вращающимся ротором, содержит, по крайней мере, одну турбину, соединенную с генератором, при этом генератор выполнен с возможностью вырабатывать электроэнергию во время вращения турбины, причем турбина выполнена около ротора и лопасть турбины выполнена наклонно под углом по отношению к оси вращения ротора.
Устройство использования энергии излучений и полей, создаваемых вращающимся ротором, содержит, по крайней мере, одну турбину, соединенную с генератором, при этом генератор выполнен с возможностью вырабатывать электроэнергию во время вращения турбины, причем, по крайней мере, на одной лопасти турбины выполнен, по крайней мере, один ротор, причем около ротора выполнен, по крайней мере, один отражатель, при этом отражатель выполнен наклонно под углом по отношению к оси вращения ротора, вдобавок оси вращения ротора и турбины параллельны.
Внутренняя, обращенная к устройству вращения, поверхность экрана выполнена в виде многослойной структуры с двумерными проводниками, при этом многослойная структура внутренней поверхности экрана содержит двумерные проводники, выполненные либо из одного материала, либо из разных материалов, причем энергия Ферми материалов слоев двумерных проводников с ростом расстояния до поверхности ротора не убывает, при этом, либо энергия Ферми не меняется, по крайней мере, у двух соседних слоев двумерных проводников, либо возрастает в направлении от поверхности ротора вглубь экрана, по крайней мере, у двух соседних слоев двумерных проводников с ростом расстояния до поверхности основного кольца, причем внутри экрана выполнен, по крайней мере, один криостат с возможностью охлаждать двумерные проводники в структурах с двумерными проводниками.
Аппарат для выработки энергии на новых физических принципах содержит, по крайней мере, один отражатель, выполненный рядом, по крайней мере, с одним ротором, при этом отражатель содержит проводящий материал, причем отражатель выполнен с возможностью отражать электромагнитное излучение.
Устройство использования излучений и полей, создаваемых вращающимся ротором, содержит, по крайней мере, один отражатель, выполненный рядом, по крайней мере, с одним ротором, при этом отражатель содержит проводящий материал, причем отражатель выполнен с возможностью отражать электромагнитное излучение.
В устройстве использования излучений и полей, создаваемых вращающимся ротором, вокруг устройства вращения выполнена полость, причем в полости выполнено, по крайней мере, одно окно, выполненное с возможностью вывода наружу аппарата электромагнитного излучения. По крайней мере, одно окно выполнено из прозрачного тугоплавкого материала. Окно соединено с проводящей крышкой и с устройством перемещения крышки, выполненным с возможностью открывать и закрывать окно, причем крышка и устройство перемещения крышки выполнены с возможностью менять, регулировать поток электромагнитного излучения, проходящего через окно, а и открывать и закрывать окно.
Устройство использования излучений и полей, создаваемых вращающимся ротором, содержит, по крайней мере, одно устройство перемещения отражателя, выполненное с возможностью перемещать или поворачивать отражатель относительно окна.
Аппарат для выработки энергии на новых физических принципах содержит устройство электрического разложения воды или углеводородов на составные части с выделением водорода, выполненное с возможностью вызывать разложение воды или углеводородов с помощью электричества.
Такое конструктивное исполнение аппарата позволяет использовать энергию электромагнитных излучений и полей, создаваемых вращающимся ротором для других целей, кроме создания тяги. Например, для выработки энергии.
Энергию электромагнитных полей и излучений, создаваемых вращающимся ротором, теоретически реально использовать за счет того, что в аппарате удается снять экранирование с нескольких видов электромагнитных полей, которые изначально присутствуют в различных комбинациях в любом веществе, но не выходят наружу из-за того, что экранируются движениями свободных электронов и поворотами осей вращения электронных оболочек атомов и ядер. Эти электромагнитные поля возникают как релятивистский эффект различных видов движения заряженных частиц, образующих вещество. Движения частиц происходят внутри вещества.
Электрические поля движущихся частиц, в зависимости от скорости, имеют угловую зависимость, обусловленную релятивистскими эффектами. Во время вращения с большой скоростью электронные оболочки атомов и ядра атомов под действием суммарного излучения этих полей оказываются под действием рычага пары сил. Поскольку ядра и электронные оболочки еще вращаются, то под влиянием пары сил они совершают прецессию, которая препятствует такому повороту осей собственных моментов вращения, при котором эти излучения экранируются полностью. Эти электромагнитные поля вращающихся или колеблющихся заряженных частиц вращающейся системы при вращении вещества с большой скоростью частично перестают экранироваться и выходят наружу вещества, создавая мощное электромагнитное излучение вращающихся или колеблющихся заряженных частиц вращающейся системы.
Распределение интенсивности этого излучения в зависимости от угла по отношению к оси вращения симметрично относительно оси вращения и симметрично относительно плоскости, проходящей через центр масс вращаемого вещества перпендикулярно оси вращения. Направленное электромагнитное излучение создается благодаря тому, что участок пространства рядом с вращаемым веществом перекрывается проводящим экраном. При этом экран перекрывает поток электромагнитного излучения вращающихся или колеблющихся заряженных частиц в этом направлении и отражает часть излучения в противоположном направлении, создавая направленное электромагнитное излучение. Наибольшее направленное электромагнитное излучение возникает в двух случаях.
В первом случае на вращаемое с большой скоростью вещество устройство вращения воздействует короткими импульсами последовательно сначала магнитным полем, параллельным оси вращения, а потом магнитным полем, перпендикулярным оси вращения. В результате все вращаемое вещество начинает совершать прецессию. При этом большие области вращаемого вещества во время прецессии синхронно наклоняют оси магнитных моментов электронных оболочек атомов. Углы наклона большого числа магнитных моментов электронных оболочек совпадают. В это время вращающиеся электроны электронных оболочек атомов имеют одинаковую угловую направленность создаваемого ими электрического поля, обусловленную их релятивизмом. За счет этого эти области излучают электромагнитное излучение вращающихся или колеблющихся заряженных частиц.
Во втором случае вращаемое вещество содержит слои двумерного проводника, выполненные перпендикулярно оси вращения. В слоях двумерного проводника происходят колебания и вращения электронов плазмонов. При этом электроны плазмонов движутся преимущественно в одной плоскости и излучают электромагнитное излучение вращающихся или колеблющихся заряженных частиц. Излучение не экранируется вращаемым с большой скоростью диэлектриком, поскольку для экранирования магнитные моменты электронных оболочек атомов диэлектрика должны повернуться перпендикулярно оси вращения, а при создании рычага сил, вызывающих поворот, возникает прецессия, частота которой намного меньше частоты колебаний электронов плазмонов.
Поскольку частота электромагнитного излучения вращающихся или колеблющихся электронов плазмонов превышает частоту прецессии, то поля, возникающие в ходе прецессии, не могут полностью экранировать это излучение. Излучение выходит наружу и его энергию можно использовать в том числе для других целей, кроме создания тяги. Та часть энергии излучения и полей, создаваемых вращающимся ротором, которая поступает на устройство использования энергии излучений и полей, создаваемых вращающимся ротором, используется устройством использования энергии излучений и полей, создаваемых вращающимся ротором для каких либо целей, кроме создания тяги.
В случае, если аппарат для выработки энергии на новых физических принципах конвертер Богданова содержит в своем составе ускоритель Богданова для осуществления управляемой реакции термоядерного синтеза, то такое конструктивное решение позволяет ускорять тяжелые ионы до энергии порядка 200 МэВ с темпом ускорения порядка 1000 МВ/м, получать токи в импульсе от килоампер до десятков мегаампер при длительности импульса порядка десятков наносекунд, следующих с частотой повторения импульсов от 1 до 10 импульсов в секунду. При этом такие токи можно получать для каждого ускорителя драйвера. Энергия драйвера в одном импульсе может быть реализована на уровне 10 МДж и более, что даст термоядерный выигрыш в 100раз и более. Это может увеличить энергию, вырабатываемую конвертером, в 100 раз и более, по сравнению с вариантом создания конвертера без ускорителей Богданова, осуществляющих управляемый термоядерный синтез.
При этом мощность, развиваемая драйвером в одном импульсе, может быть реализована на уровне 100 ТВт и более. Реализуемые в одном импульсе уровни энергии и мощности позволят добиться сжатия дейтерий-тритиевой мишени в количестве от 103 до 104раз, а в перспективе в количество - от 105до 106, что позволит реализовывать термоядерные реакции не только в дейтерий-тритиевой мишени, но и в мишени, содержащей чистый дейтерий и бороводородную смесь. Такие мишени и смогут применяться для осуществления управляемой реакции термоядерного синтеза.
Достижению таких результатов способствует следующее. Все элементы ускорителя, находящиеся под высоким напряжением, находятся внутри вакуумной камеры в вакууме на весу и не касаются стенок вакуумной камеры. Элементы ускорителя висят внутри изолирующих труб вакуумной камеры, причем эти элементы удерживаются на весу силой рассеяния излучения, создаваемого вращающимися роторами конвертора Богданова, входящими в состав системы удержания на весу элементов ускорителя. Высокое напряжение создается устройством, вызывающим перемещение зарядов. При этом заряды перемещаются от одной обкладки внешнего конденсатора через батарею выполненных последовательно внутренних конденсаторов до другой обкладки внешнего конденсатора. При этом устройство, вызывающее перенос зарядов, перемещает заряды через внутренние конденсаторы либо механически, либо электрическим полем, либо используя заряженные частицы, испускаемые при радиоактивном распаде радиоактивных веществ. Во время переноса зарядов поле между обкладками внутренних конденсаторов и вдоль изолирующих тросов меньше значения напряженности электрического поля, при котором происходит электрический пробой изоляторов, входящих в состав конденсаторов и изолирующих тросов. Значение электрического поля между элементами ускорителя, находящимися под высоким напряжением, и стенками вакуумной камеры меньше значения электрического поля, при котором с поверхностей составных частей ускорителя происходит интенсивная автоэлектронная эмиссия. Поэтому реально осуществить перенос зарядов вдоль всей длины батареи внутренних конденсаторов так, чтобы между крайними двумя обкладками крайних внутренних конденсаторов, совпадающих с обкладками внешнего конденсатора, образовалась разность потенциалов порядка 200 MB.
Ориентировочная длина батареи внутренних конденсаторов порядка нескольких километров. За счет такой длины реально получить среднее значение продольного электрического поля вдоль всей батареи менее 0,2 МВ/м, что значительно меньше поля пробоя многих изоляторов. Силу тока ускоренных тяжелых ионов от килоампер до десятков мегаампер реально получить, ускоряя ионы за счет накопленного электрического заряда на обкладке основного конденсатора и на основном уединенном проводнике. Система подачи ускоряемого рабочего тела позволяет кроме тяжелых ионов ускорять и и макроскопические частицы весом несколько миллиграмм и пленки весом несколько миллиграмм до скоростей порядка несколько сот километров в секунду, что позволит увеличить кпд перехода кинетической энергии ускоряемого рабочего тела в энергию сжатия и нагрева мишени. Поскольку сжатие и нагрев мишени в этом случае происходит без процесса абляции, это позволяет экономить 90% энергии, расходуемой на абляцию дейтерий-тритиевой мишени. Ускорение ускоряемого рабочего тела, например тяжелых ионов, происходит благодаря тому, что между электродами, один из которых выполнен на основном уединенном проводнике, а другой на стенке вакуумной камеры, создается значительная разность потенциалов. Ускоренное рабочее тело поступает в сквозное отверстие магнитной катушки, распространяется вдоль магнитных силовых линий и фокусируется системой фокусировки на мишень.
Процесс ускорения происходит одновременно в нескольких ускорителях драйвера, и ускоренное рабочее тело от нескольких ускорителей фокусируется на мишень симметрично и одновременно. Ускоритель плазмы, выполненный около оси ускорителя, ионизирует дополнительную плазму, натекающую в основную часть вакуумной камеры ускорителя из области около точки расположения мишени, и ускоряет плазму в сторону точки расположения мишени. Это позволяет сделать вакуум в основной части вакуумной камеры более разряженным. Ускоритель плазмы выключается в момент импульса ускорения ускоряемого рабочего тела и включается после прохождения ускоряемого рабочего тела через ускоритель плазмы. Охлаждать работающие элементы ускорителя удается благодаря трубам с жидкостью или газом. Энергия для переноса зарядов устройством, вызывающим перенос зарядов, поступает через автономные зарядные устройства. При этом жидкость или газ в трубах с жидкостью или газом, которые не используются для охлаждения, вращают турбины, содержащие турбогенераторы, которые вырабатывают при вращении электроэнергию и обеспечивают часть автономных зарядных устройств энергией.
Эти автономные зарядные устройства испускают и ускоряют электроны, которые переносят заряды между обкладками внутреннего конденсатора. и может быть использован другой вид автономных зарядных устройств, которые заряжаются испусканием заряженных частиц в ходе радиоактивного распада. Заряженные частицы переносят заряды между обкладками внутреннего конденсатора.
Установка устройств вращения с роторами под элементами ускорителя в составе устройства удержания на весу элементов ускорителя позволяют существенно уменьшить размеры этого устройства.
При этом возможна реализация такой конструкции ускорителя, при которой все тоннели с изолирующими трубами вакуумной камеры ускорителя выполнены горизонтальными. Это, в свою очередь, существенно уменьшает общий объем и стоимость земляных работ, требуемых для прокладки тоннелей под изолирующие трубы вакуумной камеры ускорителя, что позволяет уменьшить общую стоимость работ по созданию драйвера с ускорителями для осуществления управляемой реакции термоядерного синтеза. Поэтому можно утверждать, что конвертер Богданова с таким драйвером с ускорителями будет стоить меньше и его будет проще построить, чем драйвер с ускорителями, не входящий в состав конвертера.
На фиг.1 изображена принципиальная схема аппарата. | На фиг.2 изображен разрез А-А. |
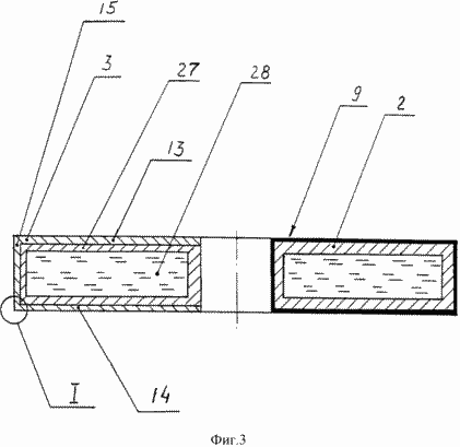
На фиг.3 изображен разрез основного кольца ротора. | На фиг.4 изображен разрез многослойной структуры. |
В соответствии с творческим замыслом автора изобретение следует называть Аппарат для выработки энергии на новых физических принципах конвертер Богданова. Далее в тексте изобретение называется либо просто аппарат, либо просто конвертер Богданова.
Конвертер Богданова содержит устройство вращения 1, содержащее ротор 2 с вращаемым веществом, выполненный в виде основного кольца 3, при этом устройство вращения выполнено с возможностью вращать ротор и вместе с ним основное кольцо. Ротор, а вместе с ним и основное кольцо соединены системой скольжения 4, выполненной в виде системы роликов или подшипников, с устройством вращения.
Устройство вращения содержит три индукционные катушки поперечного магнитного поля 5, 6, 7, выполненные вокруг основного кольца ротора симметрично относительно оси ротора с возможностью создания магнитного поля поперек оси вращения, при этом силовые линии магнитного поля катушки идут перпендикулярно оси вращения. Катушки выполнены на равном расстоянии друг от друга.
Конвертер Богданова содержит систему электропитания 8, содержащую систему электропитания индукционных катушек. Индукционная катушка выполнена сбоку от основного кольца, при этом плоскость кольца перпендикулярна плоскости витков индукционной катушки, причем виток индукционной катушки изогнут так, что окружает часть кольца, и кольцо выполнено с возможностью вращаться вокруг части витка так, что виток окружает участок кольца.
Кольцо содержит, по крайней мере, три витка обмотки 9, 10, 11, намотанной на кольцо, при этом обмотка электрически изолирована от кольца, причем ось витка лежит в плоскости кольца, при этом обмотка занимает по площади не всю поверхность кольца. Витки обмотки электрически изолированы друг от друга. Между витками участок поверхности кольца не содержит обмотки. Площадь поверхности основного кольца без обмоток превышает площадь поверхности кольца, покрытой обмотками. Витки обмотки выполнены симметрично относительно оси вращения.
Устройство вращения содержит, по крайней мере, одну катушку продольного магнитного поля 12, выполненную с возможностью создавать во вращающемся веществе магнитное поле вдоль оси вращения. Катушка продольного магнитного поля выполнена вокруг оси вращения. Катушки поперечного магнитного поля выполнены рядом друг с другом, при этом вокруг них выполнена катушка продольного магнитного поля, которая их окружает.
Вращающееся вещество основного кольца на отдельных участках содержит либо слой двумерного проводника, либо несколько многослойных структур 13, 14, 15, 16, содержащих несколько слоев двумерных проводников 17, 18, 19, 20.
Двумерные проводники представляют собой искусственно созданные электропроводящие системы на границе раздела двух плохопроводящих сред, например, вакуум - диэлектрик, полупроводник - диэлектрик [4]. Пример двумерного проводника - слой электронов, удерживаемый над поверхностью диэлектрика с отрицательным сродством к электрону (например, жидкого гелия) силами электростатического изображения (электроны поляризуют диэлектрик и притягиваются к нему), а и внешним постоянным электрическим полем, приложенным перпендикулярно поверхности диэлектрика. Аналогично в гетероструктурах (например, на основе арсенида галлия) у свободной поверхности полупроводников образуется двумерный слой с избыточной концентрацией подвижных носителей заряда или с инверсной проводимостью. Двумерный слой образуется из-за изгиба зон и при приложении разности потенциалов к структуре металл - диэлектрик - полупроводник. Двойными проводниками являются и тонкие пленки металлов и слоистые кристаллы.
Основное кольцо содержит много двумерных проводников, например, проводящих пленок, выполненных из металла толщиной 0,01 - 0,1 микрона, между которыми выполнены пленки из изолятора. Проводящие пленки выполнены параллельными друг другу и перпендикулярными оси вращения ротора. Много двумерных проводников, разделенных изоляторами, образуют многослойную структуру.
Между слоями двумерного проводника выполнены слои диэлектрика 21, 22, 23, 24. Структуры выполнены многослойными. Плоскость максимальной проводимости двумерного проводника перпендикулярна оси ротора. Двумерный проводник выполнен в виде проводящих пленок 25, 26, при этом плоскость пленки перпендикулярна оси ротора. Толщина пленки выбирается как можно меньше, например, порядка нескольких межатомных расстояний.
Некоторые структуры выполнены на торцевых поверхностях основного кольца, например, структуры 13, 14. Назовем их торцевыми структурами.
Торцевая структура основного кольца может содержать от 5 до 50 проводящих пленок. Ориентировочная толщина пленок из изолятора от 0,1 до 10 микрон. Проводящие пленки могут быть выполнены из ферромагнетика.
Остальные структуры, например структуры 15, 16, выполнены с боковых сторон основного кольца. Назовем их боковые структуры.
Двумерные проводники могут быть выполнены в виде ферромагнитных пленок.
Структуры выполнены в виде пластин, кроме того, дополнительно слои диэлектрика могут быть выполнены как диэлектрический волновод с возможностью пропускать вдоль плоскости слоя диэлектрика электромагнитное излучение с длиной волны излучения плазмонов. Для этого показатель преломления у диэлектрика в центре слоя диэлектрика должен быть больше, чем на краях слоя диэлектрика около двумерного проводника.
Выход диэлектрического волновода выполнен на боковой поверхности основного кольца. Для вывода из волновода излучения на боковой поверхности основного кольца выполнен торец диэлектрического волновода с возможностью вывода из торца излучения, распространяющегося внутри волновода.
Вращающееся вещество может содержать двумерный проводник, выполненный как слоистый кристалл [5]. Слоистый кристалл представляет собой кристалл со слоистым типом кристаллической упаковки и соответственно сильной анизотропией движения электронов. В качестве слоистого кристалла, который может содержать вращающееся вещество, можно предложить, например, интерканалированное соединение дихалькогенида переходного металла типа ТаS2с пиридином. Для этого соединения наблюдается высокая анизотропия проводимости порядка 105.
Если вращаемое основное кольцо содержит многослойную систему двумерных проводников, например, проводящих пленок, разделенных изоляторами, или слоистые кристаллы, плоскость пленки перпендикулярна оси вращения, плоскость двумерного проводника перпендикулярна оси вращения и плоскость или направление максимальной проводимости слоистого кристалла перпендикулярна оси вращения.
Поверхность ротора, поверхность основного кольца может быть выполнена в виде многослойной структуры с двумерными проводниками. Многослойная структура поверхности ротора, поверхности основного кольца может содержать двумерные проводники, выполненные либо из одного материала, либо из разных материалов. При этом энергия Ферми материалов двумерных проводников по мере удаления от поверхности основного кольца, от поверхности ротора не убывает, то есть, либо энергия Ферми не меняется, либо возрастает в направлении от поверхности вглубь основного кольца, то есть, по мере удаления от поверхности основного кольца.
Внутри ротора, внутри основного кольца выполнен криостат 27 с возможностью охлаждать двумерные проводники в структурах с двумерным проводником. Внутри криостата налит хладагент 28, в качестве которого может быть выполнен жидкий гелий.
Устройство вращения соединено с проводящим экраном 29, выполненным из проводящего материала.
Внутренняя, обращенная к устройству вращения, поверхность экрана может быть выполнена в виде многослойной структуры с двумерными проводниками. Многослойная структура внутренней поверхности экрана может содержать двумерные проводники, выполненные либо из одного материала, либо из разных материалов. При этом энергия Ферми материалов двумерных проводников по мере удаления от поверхности основного кольца, от поверхности ротора не убывает, то есть, либо энергия Ферми не меняется, либо возрастает в направлении от поверхности вглубь экрана, то есть, по мере удаления от поверхности основного кольца.
Внутри экрана может быть выполнен криостат с возможностью охлаждать двумерные проводники в структурах с двумерным проводником. Внутри криостата налит хладагент, в качестве которого может быть выполнен жидкий гелий. Внешняя поверхность криостата выполнена из проводящего материала с возможностью экранирования излучения.
В экране около устройства вращения выполнено окно 30 с возможностью свободного прохода через окно электромагнитного излучения. Экран выполнен вокруг устройства вращения и окружает устройство вращения. Поверхность экрана, обращенная к устройству вращения, может быть выполнена из металла и отполирована.
Окно может быть выполнено из прозрачного термостойкого диэлектрика, например кварцевого стекла. и окно может быть выполнено пустым внутри. Внутри объема, ограниченного окном и экраном, выполнена вакуумная камера 31 с возможностью создавать и поддерживать вакуум вокруг ротора. Например, вакуумная камера может быть соединена с вакуумными насосами.
Аппарат содержит подвес 32, соединенный с устройством вращения, с вакуумной камерой, с экраном и с основным кольцом, выполненный с возможностью обеспечить возможность ротору и основному кольцу свободно вращаться при изменении угла наклона вакуумной камеры по отношению к вертикали и при изменении направления силы тяжести. Подвес может быть выполнен в виде карданного подвеса. Карданный подвес выполнен вокруг устройства вращения, вокруг основного кольца и вокруг экрана. Карданный подвес содержит внутреннее кольцо подвеса 33 и внешнее кольцо основания подвеса 34, выполненные одно внутри другого, соединенные с экраном и друг с другом.
Около окна выполнено устройство использования энергии излучений и полей, создаваемых вращающимся ротором 35. Устройство может окружать со всех сторон экран с окном, а экран с окном может со всех сторон окружать ротор. Кольцо основания подвеса может быть закреплено на устройстве использования энергии излучений и полей, создаваемых вращающимся ротором. При этом внутри устройства может быть выполнена полость, внутри которой выполнен и экран с окном, и ротор, и подвес. Коэффициент отражения электромагнитного излучения внутренней поверхности полости должен быть меньше коэффициента отражения поверхности экрана.
Может быть предусмотрена возможность дополнительно заливать хладагент из внешнего источника внутрь криостата. Например, от внешнего резервуара хладагента через кольца подвеса к ротору могут быть подведены трубы с хладагентом, выполненные с возможностью заливать хладагент внутрь криостата.
Устройство использования энергии излучений и полей, создаваемых вращающимся ротором, может быть создано различных видов. В простейшем случае устройство содержит котел с жидкостью или газом, соединенный системой трубопроводов с генератором и системой охлаждения. При этом генератор выполнен с возможностью вырабатывать электроэнергию.
Аппарат содержит систему электропитания 8, при этом система электропитания выполнена с возможностью подачи энергии на устройство вращения.
Конвертер Богданова работает следующим образом.
Устройство вращения 1 вращает ротор 2 с вращаемым веществом. Одновременно вместе с ротором устройство вращает и основное кольцо 3 с вращаемым веществом. Ротор, а вместе с ним и основное кольцо вращаются на системе скольжения 4, выполненной в виде системы роликов или подшипников, вокруг устройства вращения.
Ротор приводят во вращение три индукционные катушки поперечного поля 5, 6, 7. Для этого индукционная катушка электромагнитными силами начинает вращать основное кольцо ротора. Энергию на индукционную катушку подает система электропитания индукционной катушки, содержащаяся в системе электропитания 8.
Вращение кольца осуществляется следующим образом.
В тот момент времени, когда один из витков 9, 10, 11 обмотки, намотанный вокруг кольца, находится вблизи одной конкретной индукционной катушки, в индукционной катушке начинает нарастать магнитное поле. Нарастающее в индукционной катушке магнитное поле создает в витке обмотки кольца индукционный ток, который направлен так, чтобы создаваемое им магнитное поле было направлено в сторону, противоположную той, в которую направлено поле индукционной катушки. При этом на ток, текущий по обмотке кольца, со стороны магнитного поля индукционной катушки действует сила Ампера, отталкивающая виток обмотки кольца от одной индукционной катушки к другой индукционной катушке. А у другой индукционной катушки со стороны приближающейся катушки поле направлено в противоположную сторону и там, наоборот, происходит притяжение витка к другой катушке. Процесс повторяется. Эта сила приводит кольцо или диск во вращение. Это давно известный один из возможных способов приведения ротора во вращение и ускорения вращения с помощью электромагнитных сил.
Индукционная катушка выполнена сбоку от оси кольца так, что витки индукционной катушки окружают участок поверхности кольца сверху, с боков и снизу. Поэтому, после того, как кольцо пришло во вращение, виток обмотки кольца начинает удаляться от одной индукционной катушки. Кольцо или диск делает некоторую часть одного оборота вокруг оси, и виток обмотки кольца начинает приближаться к другой индукционной катушке. Индукционная катушка запитывается переменным током и частота этого тока меняется синхронно с частотой оборота кольца таким образом, что когда виток обмотки кольца подходит к индукционной катушке, то сила тока в витках индукционной катушки уменьшается по модулю, и соответственно магнитное поле катушки тоже уменьшается. По витку кольца начинают течь индукционные токи, создающие магнитное поле, направленное противоположно полю индукционной катушки, препятствующее уменьшению поля в индукционной катушке. На токи, текущие по обмотке кольца, со стороны магнитного поля индукционной катушки воздействует сила Ампера, направленная в сторону индукционной катушки. Виток обмотки кольца притягивается силой Ампера к индукционной катушке. Приближается к ней, проходит мимо нее и начинает удаляться. В тот момент, когда виток обмотки кольца проходит мимо обмотки индукционной катушки, ток в индукционной катушке становится равен нулю, а потом начинает возрастать, при этом направление тока в индукционной катушке меняется на противоположное. После этого все повторяется, и таким образом кольцо или диск разгоняется. Специальный датчик измеряет скорость вращения кольца, частотомер измеряет частоту тока, подаваемого на индукционную катушку, и специальное устройство синхронизирует частоту оборотов кольца и частоту тока, а другое устройство синхронизирует фазу тока в индукционной катушке и положение витка обмотки кольца таким образом, чтобы виток обмотки кольца находился вблизи индукционной катушки строго в момент равенства нулю магнитного поля катушки.
Поскольку ротор жестко прикреплен к основному кольцу, ротор начинает вращаться вместе с основным кольцом, и частота вращения ротора увеличивается вместе с увеличением частоты вращения основного кольца.
Устройство вращения вращает многослойные структуры 13, 14, 15, 16, содержащие слои двумерного проводника 17, 18, 19, 20. Вращение происходит так, что плоскость максимальной проводимости слоя двумерного проводника перпендикулярна оси кольца, совпадающей с осью вращения. При вращении слоя двумерного проводника, выполненного в виде проводящей пленки, плоскость пленки перпендикулярна оси кольца. В двумерном проводнике, например в тонкой пленке, происходят колебания или вращения электронов плазмонов. При этом колебания или вращения электронов плазмонов осуществляются преимущественно в одной плоскости.
Известно, что если замагниченное кольцо, закрепленное на роликах, разогнать электромагнитными силами до большого числа оборотов и вращать с большой скоростью, то оно может, начиная с некоторой скорости вращения, самопроизвольно ускоряться, терять вес и после этого взлетать [2, 3]. В литературе появились сообщения, что на основе этого явления английским изобретателем Джоном Серлем создан летательный аппарат под названием диск Сирла (Диск Серла, Царля, Шарля). Диск взлетал. В ходе полевых испытаний Серлпотерял таким образом несколько действующих аппаратов, пока не научился регулировать этот процесс. После этого был произведен управляемый полет аппарата из Лондона на полуостров Корнуолл и обратно, что в общей сложности составляет 600 км.
В нашем случае до большого числа оборотов разгоняется основное кольцо. Основное кольцо может быть выполнено в виде магнита. Основное кольцо может быть покрыто ферромагнитным материалом. Он намагничивается, причем кольцо может намагничиваться предварительно, и тоже становится большим магнитом. При вращении с большой скоростью, при такой скорости вращения, при которой диск Серла начинает самопроизвольно разгоняться, терять вес и взлетать, ротор вместе с основным кольцом тоже начинает самопроизвольно разгоняться. Покажем, что одновременно основное кольцо при некоторых условиях излучает электромагнитное излучение. Покажем, что это излучение является причиной самопроизвольного ускорения вращения основного кольца.
| 1-я страница | 2-я страница | 3-я страница |
ИСТОЧНИКИ ИНФОРМАЦИИ
-
Игорь Царев. Энциклопедия чудес. Москва. Голос. 1998 г., стр. 189.
-
В.А. Чернобров. Энциклопедия непознанного. Москва, 1998 г., стр. 104.
-
Игорь Царев. Энциклопедия чудес. Москва, 1998 г., стр.413.
-
Физическая энциклопедия. Том 1, Москва, 1988 г., стр.565.
-
Физическая энциклопедия. Том 2, Москва, 1990 г., стр 252.
-
Л.Д. Ландау, Е.М. Лифшиц. Теория поля. Москва 1973 г., стр.124.
-
Физическая энциклопедия. Том 4, Москва, 1994 г., стр.405.
-
Физическая энциклопедия. Том 1, Москва, 1988 г., стр.569.
-
Физическая энциклопедия. Том 1, Москва, 1988 г., стр.293.
-
Физическая энциклопедия. Том 2, Москва, 1990 г., стр.664.
-
Савелий Кашницкий. Смерть подобна стрижке волос. Московский Комсомолец. 24 декабря 1999 г., стр.4.
-
Физическая энциклопедия. Том 3, Москва, 1992 г., стр.601.
-
Физическая энциклопедия. Том 3, Москва, 1992 г., стр.116.
-
Физическая энциклопедия. Том 3, Москва, 1992 г., стр.119.
-
Ф. Качмарек. Введение в физику лазеров. Москва. 1981 г. стр.530.
-
Л.Д. Ландау, Е.М. Лифшиц. Теория поля. Москва 1973 г., стр.280.
-
Б.М. Яворский, А.А. Детлаф. Справочник по физике. 1996, стр.705.
-
В.П. Бурдаков, Ю.И. Данилов. Физические проблемы космической тяговой энергетики. 1969 г., стр.154.
-
Б.М. Яворский, А.А. Детлаф. Справочник по физике. 1996, стр.283.
-
Гороскоп. 10. 1999 г., стр.3.
-
Дюдерштадт Дж. , Мозес Г. Инерциальный термоядерный синтез. Пер. с англ. М. 1984.
ФОРМУЛА ИЗОБРЕТЕНИЯ
Аппарат для выработки энергии на новых физических принципах, содержащий устройство вращения, при этом устройство вращения содержит статор и ротор, причем устройство вращения выполнено с возможностью вращать ротор, при этом ротор содержит вращаемое вещество и выполнен с возможностью вращаться вокруг оси, отличающийся тем, что содержит, по крайней мере, одно устройство использования энергии излучений и полей, создаваемых вращающимся ротором, выполненное около ротора с возможностью использовать энергию излучений и полей, создаваемых вращающимся ротором, при этом ротор содержит, по крайней мере, один слой вращаемого вещества, выполненный с возможностью обеспечения возможности движения носителей заряда в слое вдоль двумерной поверхности.
Аппарат для выработки энергии на новых физических принципах по п.1, отличающийся тем, что устройство использования энергии излучений и полей, создаваемых вращающимся ротором, содержит котел с жидкостью или с газом.
Аппарат для выработки энергии на новых физических принципах по п.2, отличающийся тем, что устройство использования энергии излучений и полей, создаваемых вращающимся ротором, содержит генератор, выполненный с возможностью выработки электроэнергии, при этом генератор соединен с котлом и с системой охлаждения котла.
Аппарат для выработки энергии на новых физических принципах по п.1, отличающийся тем, что устройство использования энергии излучений и полей, создаваемых вращающимся ротором, содержит МГД генератор.
Аппарат для выработки энергии на новых физических принципах по п.1, отличающийся тем, что устройство использования энергии излучений и полей, создаваемых вращающимся ротором, содержит, по крайней мере, один ускоритель, содержащий систему питания, магнитную катушку, вакуумную камеру, систему фокусировки, ускоряющие электроды, систему подачи ускоряемого рабочего тела, по крайней мере, один конденсатор, высоковольтный генератор, содержащий устройство, вызывающее перенос зарядов, уединенный проводник, причем внутри проводника выполнена система подачи ускоряемого рабочего тела, при этом вакуумная камера содержит стенки, выполненные из изолятора в виде изолирующих труб, и в камере выполнено устройство удержания на весу элементов ускорителя, выполненное с возможностью удерживать на весу элементы ускорителя, образующие составные части ускорителя, причем устройство, вызывающее перенос зарядов, содержит, по крайней мере, один внешний конденсатор и батарею соединенных последовательно внутренних конденсаторов, выполненных внутри вакуумной камеры так, что две крайние обкладки крайних внутренних конденсаторов батареи совмещены с обкладками внешнего конденсатора, при этом между обкладками, по крайней мере, одного конденсатора выполнен зазор, в котором нет диэлектрика, причем, по крайней мере, один внешний конденсатор электрически соединен с основным уединенным проводником, при этом устройство, вызывающее перенос зарядов, выполнено с возможностью вызывать перенос зарядов между обкладками внешнего конденсатора через внутренние конденсаторы либо механически, либо электрическим полем, либо излучением радиоактивных изотопов, причем устройство выполнено с возможностью вызывать перенос зарядов определенного знака в сторону одной обкладки внешнего конденсатора и не вызывать перенос в сторону другой обкладки, вдобавок, устройство удержания на весу элементов ускорителя выполнено с возможностью удерживать на весу внутри вакуумной камеры, по крайней мере, одну обкладку внешнего конденсатора и основной уединенный проводник так, чтобы обкладка внешнего конденсатора и уединенный проводник не касались стенок вакуумной камеры.
Аппарат для выработки энергии на новых физических принципах по п.5, отличающийся тем, что устройство, вызывающее перенос зарядов, содержит, по крайней мере, одну трубу с жидкостью или газом, соединенную с системой охлаждения, при этом с трубой через систему клапанов соединен, по крайней мере, один котел, выполненный около ротора, причем внутри трубы выполнена, по крайней мере, одна турбина, выполненная с возможностью вращаться под напором жидкости или газа, соединенная с генератором, выполненным с возможностью вырабатывать электроэнергию во время вращения турбины, при этом генератор соединен с ускорителем электронов.
Аппарат для выработки энергии на новых физических принципах по п.1, отличающийся тем, что устройство использования энергии излучений и полей, создаваемых вращающимся ротором, содержит более двух ускорителей, кроме того, между ускорителями выполнено устройство для внесения мишени для термоядерной реакции, при этом в точке пересечения осей ускорителей предусмотрено внесение мишени для термоядерной реакции, причем ускорители выполнены симметрично относительно точки расположения мишени и соединены в драйвер.
Аппарат для выработки энергии на новых физических принципах по п.7, отличающийся тем, что, по крайней мере, два устройства вращения вещества с роторами выполнены под элементом ускорителя, при этом роторы выполнены симметрично относительно вертикальной линии, проходящей через ось симметрии элемента ускорителя.
Аппарат для выработки энергии на новых физических принципах по п.1, отличающийся тем, что содержит, по крайней мере, один проводящий экран, выполненный рядом, по крайней мере, с одним ротором, при этом экран содержит проводящий материал, причем экран выполнен с возможностью экранировать электромагнитное излучение, при этом рядом с ротором выполнено устройство использования энергии излучений и полей, создаваемых вращающимся ротором.
Аппарат для выработки энергии на новых физических принципах по п.1, отличающийся тем, что либо ротор выполнен в виде кольца, либо ротор с вращаемым веществом выполнен в виде диска, причем устройство вращения вещества выполнено в виде электродвигателя, содержащего ротор и статор.
Аппарат для выработки энергии на новых физических принципах по п.1, отличающийся тем, что вокруг оси устройства вращения вещества выполнена система скольжения, содержащая, по крайней мере, одну систему роликов, соединенных с устройством вращения вещества, при этом ролики выполнены с возможностью обеспечить ротору возможность вращаться вокруг оси устройства.
Аппарат для выработки энергии на новых физических принципах по п.1, отличающийся тем, что ротор содержит кольцо, при этом кольцо выполнено в виде намагниченного кольца, причем вращаемое вещество содержит ферромагнитный материал.
Аппарат для выработки энергии на новых физических принципах по п.1, отличающийся тем, что вращаемое вещество содержит парамагнитный материал.
Аппарат для выработки энергии на новых физических принципах по п.1, отличающийся тем, что содержит выполненную около устройства вращения вещества, по крайней мере, одну индукционную катушку и систему питания индукционной катушки.
Аппарат для выработки энергии на новых физических принципах по п.14, отличающийся тем, что индукционная катушка выполнена вокруг ротора, при этом ось ротора параллельна плоскости витков индукционной катушки.
Аппарат для выработки энергии на новых физических принципах по п.1, отличающийся тем, что ротор содержит кольцо, содержащее, по крайней мере, один виток обмотки, намотанной на кольцо, при этом обмотка электрически изолирована от кольца, причем ось витка лежит в плоскости кольца, при этом обмотка занимает угловой сегмент кольца не более половины поверхности кольца.
Аппарат для выработки энергии на новых физических принципах по п.16, отличающийся тем, что обмотка содержит сверхпроводник.
Аппарат для выработки энергии на новых физических принципах по п.1, отличающийся тем, что устройство вращения вещества соединено с проводящим экраном, выполненным из проводящего материала, причем в экране выполнено, по крайней мере, одно окно с возможностью свободного прохода через окно электромагнитного излучения, кроме того, экран выполнен вокруг устройства вращения вещества и окружает устройство вращения вещества.
Аппарат для выработки энергии на новых физических принципах по п.1, отличающийся тем, что ротор содержит криостат, при этом криостат выполнен внутри ротора.
Аппарат для выработки энергии на новых физических принципах по п.1, отличающийся тем, что ротор содержит двумерный проводник.
Аппарат для выработки энергии на новых физических принципах по п.20, отличающийся тем, что плоскость максимальной проводимости двумерного проводника перпендикулярна оси ротора.
Аппарат для выработки энергии на новых физических принципах по п.20 или 21, отличающийся тем, что двумерный проводник выполнен в виде проводящей пленки, при этом плоскость пленки перпендикулярна оси кольца или диска.
Аппарат для выработки энергии на новых физических принципах по п.1, отличающийся тем, что ротор содержит кольцо или диск, причем кольцо или диск содержат слоистый кристалл, при этом плоскость максимальной проводимости слоистого кристалла перпендикулярна оси кольца или диска.
Аппарат для выработки энергии на новых физических принципах по п.1, отличающийся тем, что ротор содержит кольцо или диск, причем кольцо или диск содержат, по крайней мере, две структуры, содержащие, по крайней мере, два слоя двумерного проводника, кроме того, между слоями двумерного проводника выполнен диэлектрик, при этом структура выполнена в виде пластины, причем между пластинами выполнены зазоры пустого пространства, при этом пластины соединены друг с другом и образуют кольцо или диск, причем зазор открыт со стороны боковой поверхности кольца или диска.
Аппарат для выработки энергии на новых физических принципах по п.1, отличающийся тем, что ротор содержит, по крайней мере, две структуры, содержащие, по крайней мере, два слоя двумерного проводника, при этом между слоями двумерного проводника выполнен диэлектрик, причем диэлектрик выполнен в виде волновода.
Аппарат для выработки энергии на новых физических принципах по п.1 или 20, отличающийся тем, что ротор содержит, по крайней мере, одну структуру, содержащую, по крайней мере, два слоя двумерного проводника, при этом энергия Ферми материала слоя двумерного проводника с ростом расстояния от поверхности ротора не убывает, причем либо энергия Ферми, по крайней мере, в двух соседних слоях двумерного проводника не меняется, либо возрастает в соседних слоях в направлении от поверхности ротора вглубь ротора с ростом расстояния от поверхности ротора.
Аппарат для выработки энергии на новых физических принципах по п.20, отличающийся тем, что двумерный проводник выполнен в виде пленки.
Аппарат для выработки энергии на новых физических принципах по п.1, отличающийся тем, что аппарат содержит подвес, соединенный с устройством вращения вещества и с ротором, выполненный с возможностью обеспечить возможность ротору свободно вращаться при перемещениях и вращениях аппарата.
Аппарат для выработки энергии на новых физических принципах по п.1, отличающийся тем, что подвес выполнен в виде карданного подвеса, соединенного с устройством вращения вещества, при этом устройство соединено с ротором, причем подвес выполнен с возможностью обеспечить возможность ротору свободно вращаться при перемещениях и вращениях аппарата.
Аппарат для выработки энергии на новых физических принципах по п.1, отличающийся тем, что ротор содержит жидкость, при этом устройство вращения вещества выполнено с возможностью вращать жидкость.
Аппарат для выработки энергии на новых физических принципах по п.1 или 30, отличающийся тем, что жидкость выполнена в виде ртути или в виде ферромагнитной жидкости.
Аппарат для выработки энергии на новых физических принципах по п.1, отличающийся тем, что содержит устройство электрического разложения воды или углеводородов на составные части с выделением водорода, выполненное с возможностью вызывать разложение воды или углеводородов с помощью электричества.
Аппарат для выработки энергии на новых физических принципах по п.1, отличающийся тем, что содержит, по крайней мере, одну дополнительную катушку продольного магнитного поля, выполненную с возможностью создавать во вращающемся веществе магнитное поле вдоль оси вращения вещества.
Аппарат для выработки энергии на новых физических принципах по п.1, отличающийся тем, что дополнительные катушки продольного магнитного поля выполнены вокруг оси вращения вещества.
Аппарат для выработки энергии на новых физических принципах по п.1, отличающийся тем, что устройство вращения вещества содержит, по крайней мере, одну дополнительную катушку поперечного магнитного поля, выполненную с возможностью создавать во вращающемся веществе магнитное поле поперек оси вращения вещества, при этом силовые линии катушки идут перпендикулярно оси вращения вещества.
Аппарат для выработки энергии на новых физических принципах по п.1, отличающийся тем, что устройство использования энергии излучений и полей, создаваемых вращающимся ротором, содержит, по крайней мере, одну турбину, соединенную с генератором, при этом генератор выполнен с возможностью вырабатывать электроэнергию во время вращения турбины, причем турбина выполнена около ротора и лопасть турбины выполнена наклонно под углом по отношению к оси вращения ротора.
Аппарат для выработки энергии на новых физических принципах по п.1, отличающийся тем, что устройство использования энергии излучений и полей, создаваемых вращающимся ротором содержит, по крайней мере, одну турбину, соединенную с генератором, при этом генератор выполнен с возможностью вырабатывать электроэнергию во время вращения турбины, причем, по крайней мере, на одной лопасти турбины выполнен, по крайней мере, один ротор, причем около ротора выполнен, по крайней мере, один отражатель, при этом отражатель выполнен наклонно под углом по отношению к оси вращения ротора.
Аппарат для выработки энергии на новых физических принципах по п.9, отличающийся тем, что внутренняя, обращенная к устройству вращения вещества, поверхность экрана выполнена в виде многослойной структуры с двумерными проводниками, при этом многослойная структура внутренней поверхности экрана содержит двумерные проводники, выполненные либо из одного материала, либо из разных материалов, причем энергия Ферми материалов слоев двумерных проводников с ростом расстояния до поверхности ротора не убывает, при этом либо энергия Ферми не меняется, по крайней мере, у двух соседних слоев двумерных проводников, либо возрастает в направлении от поверхности ротора вглубь экрана, по крайней мере, у двух соседних слоев двумерных проводников с ростом расстояния до поверхности основного кольца, причем внутри экрана выполнен, по крайней мере, один криостат с возможностью охлаждать двумерные проводники в структурах с двумерными проводниками.
Аппарат для выработки энергии на новых физических принципах по п.5, отличающийся тем, что устройство, вызывающее перенос зарядов, содержит проводящие пластины, выполненные между обкладками внешнего конденсатора, при этом на поверхности пластины, обращенной к одной обкладке внешнего конденсатора, выполнены эмиссионные катоды, а на поверхности пластины, обращенной к другой обкладке внешнего конденсатора, эмиссионных катодов нет, кроме того, пластина совмещена с обкладкой внутреннего конденсатора.
Аппарат для выработки энергии на новых физических принципах по п.9, отличающийся тем, что в экране около вращаемого вещества выполнено, по крайней мере, одно окно, при этом рядом с окном выполнено устройство использования энергии излучений и полей, создаваемых вращающимся ротором.
Аппарат для выработки энергии на новых физических принципах по п.1, отличающийся тем, что устройство использования излучений и полей, создаваемых вращающимся ротором, содержит, по крайней мере, один отражатель, выполненный рядом, по крайней мере, с одним ротором, при этом отражатель содержит проводящий материал, причем отражатель выполнен с возможностью отражать электромагнитное излучение.
Аппарат для выработки энергии на новых физических принципах по п.1, отличающийся тем, что в устройстве использования излучений и полей, создаваемых вращающимся ротором, выполнена полость, причем в полости выполнено, по крайней мере, одно окно, выполненное с возможностью вывода наружу аппарата электромагнитного излучения.
Аппарат для выработки энергии на новых физических принципах по п.42, отличающийся тем, что, по крайней мере, одно окно выполнено из прозрачного тугоплавкого материала.
Аппарат для выработки энергии на новых физических принципах по п.42, отличающийся тем, что окно соединено с проводящей крышкой и с устройством перемещения крышки, выполненным с возможностью открывать и закрывать окно, причем крышка и устройство перемещения крышки выполнены с возможностью менять, регулировать поток электромагнитного излучения, проходящего через окно, а и открывать и закрывать окно.
Аппарат для выработки энергии на новых физических принципах по п.41 или 42, отличающийся тем, что устройство использования излучений и полей, создаваемых вращающимся ротором, содержит, по крайней мере, одно устройство перемещения отражателя, выполненное с возможностью перемещать или поворачивать отражатель относительно окна.
Версия для печати
Дата публикации 23.11.2006гг
Created/Updated: 25.05.2018
|
