| Начало раздела Производственные, любительские Радиолюбительские Авиамодельные, ракетомодельные Полезные, занимательные | Хитрости мастеру Электроника Физика Технологии Изобретения | Тайны космоса Тайны Земли Тайны Океана Хитрости Карта раздела | |
| Использование материалов сайта разрешается при условии ссылки (для сайтов - гиперссылки) | |||
Навигация: => | На главную/ Каталог патентов/ В раздел каталога/ Назад / |
|
ИЗОБРЕТЕНИЕ
Патент Российской Федерации RU2253070
![]()
СПОСОБ И УСТРОЙСТВО ДЛЯ ПОЛУЧЕНИЯ ЭЛЕКТРОЭНЕРГИИ
ИЗ ТВЕРДОГО ОРГАНИЧЕСКОГО ТОПЛИВА (ВАРИАНТЫ)
Имя изобретателя: Стребков Д.С. (RU); Безруких П.П. (RU); Ерхов М.В. (RU); Порев И.А. (RU); Чирков В.Г.
Имя патентообладателя: Государственное научное учреждение Всероссийский научно-исследовательский институт электрификации сельского хозяйства (ГНУ ВИЭСХ)
Адрес для переписки: 109456, Москва, 1-й Вешняковский пр-д, 2, ВИЭСХ, ОНТИ и патентования, О.В. Голубевой
Дата начала действия патента: 2003.07.02
Изобретение относится к области переработки жидких органических веществ в жидкое и газообразное топливо, в частности к технологии и технике пиролитической конверсии жидких нефтепродуктов. Превращение твердого органического топлива в генераторный газ осуществляется путем высокоскоростного нагрева в реакторе при температуре 700... 1200° С за время 100... 10-4 с без доступа кислорода и в присутствии холодного-плазменного разряда реактивной плазмы с плотностью электрической энергии 0,1... 1 кВт· ч на 1 кг перерабатываемого органического топлива. Для повышения коэффициента использования твердого топлива энергию отработавшего газа, а и энергию, полученную при охлаждении газифицированных продуктов пиролиза твердого органического топлива, преобразуют в энергию водяного пара, который направляют в тепловую электростанцию с паровым двигателем, а отработавший пар используют для производства теплоты и горячего водоснабжения. Изобретение позволяет повысить коэффициент использования твердого топлива и увеличить производство электроэнергии, снизить энергопотребление газогенератора и уменьшить содержание окислов азота, твердых частиц и смолистых веществ, а и увеличить ресурс двигателя внутреннего сгорания при производстве электроэнергии методом газификации твердого органического топлива и последующего сжигания полученного генераторного газа в теплоэлектростанции.
ОПИСАНИЕ ИЗОБРЕТЕНИЯ
Изобретение относится к области получения электрической и тепловой энергии из твердого органического топлива.
Известен способ получения электроэнергии в тепловой электростанции, преобразующей энергию горения твердого топлива в энергию пара, энергию пара - в механическую энергию паровой турбины и связанного с ней электрогенератора, вырабатывающего электрическую энергию.
Наиболее существенными недостатками этого способа являются:
- большое количество ступеней преобразования энергии;
- низкий КПД, который, в зависимости от рабочей температуры и давления пара, составляет 25... 35%.
Наиболее близким по сути предлагаемого изобретения является способ генерации электроэнергии путем сжигания генераторного газа, полученного методом газификации углей или растительной биомассы, в двигателе внутреннего сгорания (ДВС), и преобразования механической энергии ДВС в электрическую энергию посредством электрогенератора (Зысин Л.В. и др. “Исследование совместной работы дизеля и газогенератора, перерабатывающего растительную биомассу”/Теплотехника, 2002, №1, стр.14).
К недостаткам указанного метода следует отнести низкую эффективность использования органического сырья на стадии газификации (10... 30%) и низкую теплотворную способность генераторного газа, главным образом, вследствие того, что при его производстве в газогенераторе происходит частичное окисление энергетически активных компонентов. В частности, образуется моноокись углерода. Кроме того, имеет место окисление азота воздуха с образованием окислов, загрязняющих окружающую среду. Помимо этого, полученный традиционным способом генераторный газ содержит значительное количество твердых частиц и смолистых веществ, оказывающих негативное воздействие на работу ДВС, существенно снижая его ресурс.
Задача предлагаемого изобретения состоит в повышении коэффициента использования твердого топлива и увеличения производства электроэнергии, снижения энергопотребления газогенератора и уменьшения содержания окислов азота, твердых частиц и смолистых веществ, а и увеличения ресурса ДВС при производстве электроэнергии методом газификации твердого органического топлива и последующего сжигания полученного генераторного газа в теплоэлектростанции.
Вышеуказанный технический результат достигается за счет более полного превращения твердого органического топлива в генераторный газ и повышения теплотворной способности газа путем высокоскоростного нагрева в реакторе при температуре 700... 1200° С за время 100... 10-4 с без доступа кислорода и в присутствии холодного-плазменного разряда реактивной плазмы с плотностью электрической энергии 0,1... 1 кВт· ч на 1 кг перерабатываемого органического топлива.
и в способе получения электроэнергии из твердого органического топлива для повышения коэффициента использования твердого топлива энергию отработавшего газа преобразуют в энергию водяного пара, который направляют потребителю для производства теплоты и горячего водоснабжения.
Технический результат достигается и и тем, что в способе получения электроэнергии из твердого органического топлива для повышения коэффициента использования твердого топлива и увеличения выработки электроэнергии отработавший газ из теплового газового двигателя используют для производства пара, который направляют в тепловую электростанцию с паровым двигателем, а отработавший пар направляют потребителю для производства теплоты и горячего водоснабжения.
Технический результат достигается и и тем, что в способе получения электроэнергии из твердого органического топлива для повышения коэффициента использования твердого топлива и увеличения выработки электроэнергии энергию, полученную при охлаждении и частичной конденсации газифицированных продуктов пиролиза твердого органического топлива, используют для производства водяного пара, который направляют в тепловую электростанцию с паровым двигателем, а отработавший пар направляют потребителю для производства теплоты и горячего водоснабжения.
Сущность изобретения поясняется фиг.1, фиг.2. и фиг.3.

На фиг.1 показана общая схема устройства для производства электроэнергии.

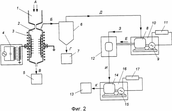
На фиг.2 приведена общая схема устройства для производства электроэнергии для переработки жидкого органического вещества, в котором энергия пара, полученного за счет утилизации энергии отработавшего газа, используется для получения дополнительной электроэнергии в паровой машине.

На фиг.3 приведена общая схема устройства для производства электроэнергии,
оснащенного парогенератором, интегрированным в циклон-конденсатор.
Устройство, изображенное на фиг.1, содержит камеру загрузки-дозирования органического сырья 1, реактор высокоскоростного пиролиза 2, снабженный нагревателем 3 и высокочастотным генератором 4 для возбуждения реактивной плазмы в реакторе высокоскоростного пиролиза, приемник твердого осадка 5, циклон-конденсатор 6, накопитель жидкого топлива 7, тепловую электростанцию 10, включающую в себя тепловой газовый двигатель 8 и электрогенератор 9, электрическую нагрузку 11, теплообменник-парогенератор 12 и потребитель теплоты и горячей воды 13.
Устройство работает следующим образом.
Твердое органическое топливо А через камеру загрузки-дозирования 1 поступает в реактор высокоскоростного пиролиза 2, где подвергается комплексному энергетическому воздействию с помощью нагревателя 3 и генератора реактивной плазмы 4 и претерпевает термоэлектрохимическое превращение, приводящее к газификации твердого органического вещества с образованием преимущественно низкомолекулярных соединений, которые переходят в газовую фазу Б, и небольшого количества углеподобного твердого вещества В, которое поступает в приемник твердого осадка 5. Находящиеся в газовой фазе низкомолекулярные соединения направляются в циклон-конденсатор 6, в котором происходит их охлаждение и разделение на жидкую фракцию Г, поступающую в накопитель жидкого топлива 7, и газ Д, который попадает на вход теплового газового двигателя 8 привода электрогенератора 9 тепловой электростанции 10. Генератор 9 соединен с электрической нагрузкой 11. Отработавший газ Е с выхода теплового газового двигателя 8 подается в теплообменник-парогенератор 12 для производства водяного пара Ж из воды 3, и поступающей в теплообменник 12 из системы водоснабжения. Водяной пар транспортируется к потребителю теплоты и горячей воды 13.
На фиг.2 показано устройство, которое для повышения эффективности преобразования твердого органического топлива в электроэнергию содержит и тепловую электростанцию с приводом от паровой машины. Кроме элементов, входящих в состав устройства, изображенного на фиг.1, устройство, схема которого показана на фиг.2, содержит и тепловую электростанцию 16, в состав которой входят паровой двигатель 14 и электрогенератор 15, и электрическую нагрузку 17. Особенность работы устройства заключается в следующем.
Произведенный в теплообменнике-парогенераторе 12 водяной пар направляется в паровой двигатель 14 привода электрогенератора 15 тепловой электростанции 16. Выход электрогенератора 15 соединен с электрической нагрузкой 17. Отработавший водяной пар транспортируется к потребителю теплоты и горячей воды 13. Принцип работы всех остальных частей устройства такой же, как и устройства, изображенного на фиг.1.
На фиг.3 показано устройство, в котором для повышения эффективности использования энергии твердого органического топлива применен парогенератор, интегрированный в циклон-конденсатор газифицированных низкомолекулярных продуктов высокоскоростного пиролиза. Кроме элементов, входящих в состав устройства, изображенного на фиг.2, устройство, схема которого показана на фиг.3, содержит и парогенератор 18, интегрированный в циклон-конденсатор 6. Особенность работы устройства состоит в следующем.
При охлаждении газифицированных низкомолекулярных продуктов пиролиза твердого органического топлива в циклоне-конденсаторе 6 происходит передача тепла парогенератору 18, являющемуся составной частью циклона-конденсатора 6. Образующийся в парогенераторе 18 пар подается на вход паровой машины 14 привода генератора 15 тепловой электростанции 16. Принцип работы всех остальных частей устройства такой же, как и устройства, изображенного на фиг.2.
ФОРМУЛА ИЗОБРЕТЕНИЯ
1. Способ получения электроэнергии из твердого органического топлива путем газификации топлива и преобразования энергии горения полученного газа в механическую и электрическую и тепловую энергию, отличающийся тем, что газификацию твердого топлива осуществляют путем высокоскоростного нагрева в реакторе без доступа кислорода при температуре 700... 1200° С за время 100... 10-4 с в присутствии холодно-плазменного разряда реактивной плазмы с плотностью электрической энергии 0,1... 1 кВт-ч на 1 кг перерабатываемого органического топлива, а полученный газ очищают от твердой и жидкой фракции в циклоне-конденсаторе и направляют в тепловую электростанцию с тепловым газовым двигателем, энергию отработавшего газа преобразуют в энергию водяного пара, который направляют потребителю для производства теплоты и горячего водоснабжения.
2. Способ получения электроэнергии из твердого органического топлива путем газификации топлива и преобразования энергии горения полученного газа в механическую и электрическую и тепловую энергию, отличающийся тем, что газификацию твердого топлива осуществляют путем высокоскоростного нагрева в реакторе без доступа кислорода при температуре 700... 1200° С за время 100... 10-4 с в присутствии холодно-плазменного разряда реактивной плазмы с плотностью электрической энергии 0,1... 1 кВт-ч на 1 кг перерабатываемого органического топлива, а полученный газ очищают от твердой и жидкой фракции в циклоне-конденсаторе и направляют в тепловую электростанцию с тепловым газовым двигателем, энергию отработавшего газа преобразуют в энергию водяного пара, который направляют в тепловую электростанцию с паровым двигателем, а отработавший пар направляют потребителю для производства теплоты и горячего водоснабжения.
3. Способ по п.2, отличающийся тем, что теплоту, полученную при охлаждении и частичной конденсации газифицированных продуктов пиролизной переработки твердого органического топлива, используют для производства пара, который направляют в тепловую электростанцию с паровым двигателем, а отработавший пар направляют потребителю для производства теплоты и горячего водоснабжения.
4. Устройство для получения электроэнергии из твердого органического топлива, содержащее тепловую электростанцию с тепловым газовым двигателем, отличающееся тем, что оно имеет в своем составе реактор высокоскоростного пиролиза с температурой 700... 1200° С и оснащено генератором холодно-плазменного разряда реактивной плазмы плотностью 0,1... 1 кВт-ч на 1 кг перерабатываемого органического топлива, выход реактора высокоскоростного пиролиза соединен со входом тепловой электростанции через циклон-конденсатор для отделения твердой и жидкой фракции, а выход теплового газового двигателя электростанции соединен через теплообменник-парогенератор с потребителем теплоты и горячей воды.
5. Устройство для получения электроэнергии из твердого органического топлива, содержащее тепловую электростанцию с тепловым газовым двигателем, отличающееся тем, что оно имеет в своем составе реактор высокоскоростного пиролиза с температурой 700... 1200° С и оснащено генератором холодно-плазменного разряда реактивной плазмы плотностью 0,1... 1 кВт-ч на 1 кг перерабатываемого органического топлива, выход реактора высокоскоростного пиролиза соединен со входом тепловой электростанции через циклон-конденсатор для отделения твердой и жидкой фракции, а выход теплового газового двигателя электростанции соединен через теплообменник-парогенератор с тепловой электростанцией, имеющей привод от паровой машины, выход паровой машины соединен с потребителем теплоты и горячей воды.
6. Устройство по п.5, отличающееся тем, что циклон-конденсатор содержит интегрированный в него парогенератор, выход которого соединен с тепловой электростанцией, имеющей привод от паровой машины.
Версия для печати
Дата публикации 07.02.2007гг
Created/Updated: 25.05.2018
|
