| Начало раздела Производственные, любительские Радиолюбительские Авиамодельные, ракетомодельные Полезные, занимательные | Хитрости мастеру Электроника Физика Технологии Изобретения | Тайны космоса Тайны Земли Тайны Океана Хитрости Карта раздела | |
| Использование материалов сайта разрешается при условии ссылки (для сайтов - гиперссылки) | |||
Навигация: => | На главную/ Каталог патентов/ В раздел каталога/ Назад / |
|
ИЗОБРЕТЕНИЕ
Патент Российской Федерации RU2105040
![]()
КОМБИНИРОВАННАЯ ПАРОГАЗОВАЯ УСТАНОВКА С ПЛАЗМОТЕРМИЧЕСКОЙ ГАЗИФИКАЦИЕЙ УГЛЯ
Имя изобретателя: Кореньков В.И.; Кустов Б.А.; Попов Ю.С.
Имя патентообладателя: Акционерное общество открытого типа "НовосибирскНИИхиммаш"; Акционерное общество открытого типа "Западно-Сибирский металлургический комбинат"
Адрес для переписки:
Дата начала действия патента: 1995.03.29
Использование: для выработки электрической и тепловой энергии, производства сжиженных и газообразных углеводородсодержащих продуктов из угля в любой отрасли промышленности. Сущность изобретения: парогенератор 4 установлен внутри плазмотермического газификатора 3 и гидравлически связан с паровой турбиной первой паротурбинной установки 6, с узлом 1 подачи угля и с первым плазмотроном 5. Парогенератор 18 установлен внутри котла-утилизатора 17 под газовой горелкой 19 для сжигания синтез-газа и гидравлически связан с паровой турбиной второй паротурбинной установки 20, узлом 1 подачи угля и вторым плазмотроном 5. Оба парогенератора гидравлически связаны с контуром 30 утилизации тепла. Выхлоп 25 газовой турбины газотурбинной установки 23 расположен внутри котла-утилизатора 17 в зоне действия пламени его газовой горелки 19 и гидравлически связан через теплообменник парогенератора 18 и дымосос 27 с дымовой трубой 28. Система очистки синтез-газа имеет первую ступень 10 - мокрую и вторую ступень 14 - сухую. Ступени связаны с плазмотермическим газификатором 3 при помощи пароэжектора 8, а между собой - с помощью газодувки 13. Установка может работать в трех режимах.
ОПИСАНИЕ ИЗОБРЕТЕНИЯ
Изобретение относится к энергетике, в частности, к комбинированной парогазовой установке с плазмотермической газификацией угля, предназначенной для выработки электрической и тепловой энергии, производства сжиженных и газообразных углеводородсодержащих продуктов из угля.
Изобретение может быть использовано в любой отрасли, включая химическую и металлургическую промышленность, т.е. любую отрасль, в которой есть потребность в электроэнергии, тепле или синтез-газе.
При решении региональных задач вопрос о выборе технологии по переработке местного сырья часто решался в пользу той технологии, в которой при малых капитальных и эксплуатационных затратах обеспечивалась максимальная прибыль от перерабатываемого сырья. Однако ухудшение экологической ситуации в мире диктует новые требования, по этой причине ни одна из существующих технологий не может экономически выгодной, если она не обеспечивает требования экологии. По этой причине прямое сжигание угля на ТЭЦ в других аналогичных установках стало экономически невыгодным и нецелесообразным из-за большого количества выбрасываемых в атмосферу вредных веществ.
Парогазовые установки с внутрицикловой газификацией угля частично решают эту проблему и поэтому рассматриваются сегодня как одно из перспективных направлений по снижению удельного расхода тепла на выработку электроэнергии в экологически чистых системах.
Однако плата за экологически чистую технологию сжигания угля в вышеуказанных установках пока очень велика, к тому же они имеют худшие параметры: удельный расход в парогазовых установках с внутрицикловой газификацией угля на 15 - 20% выше, чем в обычных установках.
Известна установка для получения электроэнергии из углеводородсодержащего топлива способом, включающим газификацию топлива в реакторе в присутствии водяного пара путем косвенного нагрева, очистку полученного синтез-газа от твердых частиц и серы, сжигание первой части очищенного синтез-газа, подачу продуктов сгорания в газовую турбину для выработки электроэнергии, в которой с целью упрощения процесса сжигают вторую часть очищенного синтез-газа и подают полученные продукты сгорания в качестве теплообменной среды в реактор для косвенного нагрева топлива, а после прохождения через реактор направляют в газовую турбину [1]. Причем вторую часть очищенного синтез-газа сжигают при избытке кислорода, температуру продуктов сгорания, подаваемых в реактор в качестве теплообменной среды, поддерживают на входе в интервале 850-1000oC, а на выходе -750-850oC, в то время как температуру продуктов сгорания на входе в газовую турбину обеспечивают в интервале 900-1000oC за счет сжигания части очищенного газа. Далее продукты сгорания от газовой турбины подают на перегрев пара или подогрев питательной воды парогенератора. Пар, подводимый на стадии газификации, получают в результате охлаждения синтез-газа или продуктов газовой турбины, или же продуктов сжигания части очищенного синтез-газа, в то время как полученный дымовой газ смешивают с паром и подают на стадию газификации.
Вышеуказанный способ имеет ряд существенных недостатков.
Осуществить косвенный нагрев газифицируемого угля трудно и пока не удалось ни в одном промышленном газификаторе. Сама схема получения электроэнергии и синтез-газа недостаточно гибка и сложна в управлении. Обеспечить оптимальный режим сразу четырех агрегатов, сидящих на одном валу (электрогенератор, воздушный компрессор и две ступени газовой турбины), практически невозможно, тем более, что косвенный подогрев продуктов сгорания перед второй ступенью газовой турбины продуктами сгорания первой ступени еще и невыгоден энергетически.
Известна другая энерготехнологическая установка с плазменной переработкой низкосортного твердого топлива, включающая две паровые и одну газовую турбины с электрогенераторами, плазмотермический газификатор с узлом подачи угля, парогенераторы, котел-утилизатор, камеру сгорания, газовый аккумулятор, систему очистки газа, воздушный и газовый компрессоры и каталитический реактор для получения сжиженных углеводородов [2].
Последний подключен к плазмохимическому реактору низкосортного топлива, который последовательно соединен с закалочным аппаратом кипящего слоя со встроенными поверхностями нагрева и турбогенератором для выработки электроэнергии.
Эффективность данной установки повышена за счет выдачи более дорогих продуктов - ацетилена и серы. Однако издержки от плазмохимического реактора для газификации твердого топлива при такой схеме и велики и не могут быть скомпенсированы только за счет повышения стоимости получаемого продукта, причем сравнительно дорогим способом. К недостаткам данной установки следует отнести и то, что для своей работы ей необходим дополнительный источник кислорода, и, следовательно, дополнительные затраты на его производство. При этом в плазмотермическом реакторе нет самопроизвольного разделения образующейся смеси газов на метан и синтез-газ, а устройство для их разделения не предусмотрено. Сжигание угля на такой установке, по мнению заявителя, исключено ввиду отсутствия аппаратов для отделения окислов серы и азота. К тому же реактор с кипящим слоем и трубным пучком для выработки пара за счет использования тепла будет чуть эффективен из-за плохой теплопередачи от витающих твердых частиц к реагенту (воде), проходящему по трубному пучку.
Техническим результатом изобретения является создание комбинированной парогазовой установки с плазмотермической газификацией угля с повышенными экологическими и энерготехническими параметрами, с гибкой и мобильной системой управления, способной обеспечить быстрый и простой переход с одного режима работы на другой, включая режим запуска и останова, а и создание установки с широким ассортиментом производимого продукта, включая выработку тепловой и электрической энергии, при одновременной выдачи потребителю углеводородсодержащих продуктов, например, бензина, ацетилена и др.
Для достижения указанного технического результата в комбинированной парогазовой установке с плазмотермической газификацией угля, включающей две паровые и одну газовую турбины с электрогенераторами, плазмотермический газификатор с узлом подачи угля, парогенераторы, котел-утилизатор, камеру сгорания, газовый аккумулятор, систему очистки газа, воздушный и газовый компрессоры и каталитический реактор для получения сжиженных углеводородов, согласно изобретению один из парогенераторов установлен внутри плазмотермического газификатора, имеющего два плазмотрона на парах воды, и гидравлически связан с паровой турбиной, с узлом подачи и с одним из плазмотронов, второй парогенератор установлен внутри котла-утилизатора под газовой горелкой для сжигания синтез-газа и гидравлически связан со второй паровой турбиной, узлом подачи угля и вторым плазмотроном, при этом оба парогенератора гидравлически связаны с контуром утилизации тепла, а выхлоп с газовой турбины расположен внутри котла-утилизатора в зоне действия пламени его газовой горелки и гидравлически связан через теплообменник парогенератора и дымосос с дымовой трубой.
Система очистки синтез-газа разделена на две ступени, связанные с плазмотермическим газификатором при помощи пароэжектора и между собой - с помощью газодувки, из которых первая ступень-мокрая и включает центробежно-барботажный аппарат с рециркуляционным контуром жидкого абсорбента и устройством для удаления шлама, а вторая ступень-сухая и включает сменный блок катализаторов с электрофильтрами и устройством для удаления серы и ее соединений.
Кроме того, газовая горелка котла-утилизатора, камера сгорания газовой турбины и газовой аккумулятор гидравлически соединен с газовым компрессором низкого давления, расположенным после второй ступени системы очистки синтез-газа.
Кроме того, в линии питания каталитического реактора синтез-газом установлен газовый компрессор высокого давления и предусмотрено устройство для забора газообразного и сжиженного продуктов газификации, например, синтез-газа и бензина.
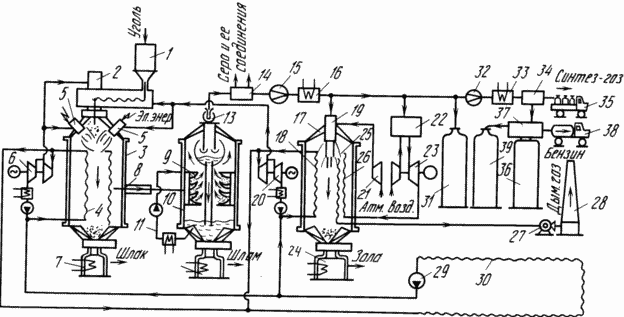
Описываемая установка поясняется чертежом, на котором представлена технологическая схема заявляемой комбинированной парогазовой установки с плазмотермической газификацией угля и каталитическим реактором для производства сжиженных и газообразных углеводородсодержащих продуктов высшего ряда.

Комбинированная парогазовая установка включает: бункер 1 для газифицируемого угля, дозатор 2, плазмотермический газификатор 3, его парогенератор 4, плазмотроны 5, паротурбинную установку 6 газификатора, шлак-сборник 7, пароэжектор 8, центробежно-барботажный аппарат 9 первой ступени 10 системы очистки, контур 11 регенерации жидкого абсорбента, шламоприемник 12, газодувку 13, вторую ступень 14 системы очистки, компрессор 15 низкого давления, охладитель 16, котел-утилизатор 17, его парогенератор 18, газовую горелку 19, вторую паротурбинную установку 20, воздушный компрессор 21, камеру 22 сгорания, газотурбинную установку 23, золаприемник 24, выхлоп 25 с газовой турбины, теплообменник 26, дымосос 27, дымовую трубу 28, главный насос 29 контура 30 утилизации тепла, газовый аккумулятор 31, компрессор 32 высокого давления, газовый охладитель 33, распределитель синтез-газа 34, транспортное устройство 35 для забора газообразного продукта, например, синтез-газа, каталитический реактор 36, устройства 37 загрузки углеводородсодержащих продуктов, транспортные устройства 38 для забора сжиженного продукта газификации, например, бензина, и накопитель 39 сжижаемого продукта.
Паротурбинные установки 6 и 20 включают каждая паровую турбину с электрогенератором, парогенератор для ее привода и ряд вспомогательных узлов. Газотурбинная установка 23 включает газовую турбину с электрогенератором, камеру 22 сгорания и воздушный компрессор 21 для более эффективного сгорания топлива в камере сгорания.
Бункер 1, дозатор 2 и питатель, соединяющий бункер 1 через дозатор 2 с газификатором 3 (на фигуре не обозначен позицией) образуют узел подачи угля в плазмотермический газификатор 3. Последний имеет два плазмотрона 5 на парах воды. Парогенератор 4 установлен внутри плазмотермического газификатора и гидравлически связан с первой паровой турбиной 6, узлом подачи угля и с одним из плазмотронов 5. Парогенератор 18 установлен внутри котла-утилизатора 17 под газовой горелкой 19 для сжигания синтез-газа и гидравлически связан со второй паровой турбиной 20, узлом подачи угля и вторым плазмотроном 5. При этом оба парогенератора гидравлически связаны с контуром 30 утилизации тепла. Выхлоп 25 с газовой турбины газотурбинной установки 23 расположен внутри котла-утилизатора 17 в зоне действия пламени его газовой горелки 19 и гидравлически связан через теплообменник 26 парогенератора 18 и дымосос 27 с дымовой трубой 28.
Система очистки синтез-газа разделена на две ступени, связанные с плазмотермическим газификатором 3 при помощи пароэжектора 8 и между собой с помощью газодувки 13. первая ступень 10 очистки-мокрая и включает центробежно-барботажный аппарат 9 с рециркуляционным контуром жидкого абсорбента и устройством 12 для удаления шлама. Вторая ступень 14 очистки-сухая и включает сменный блок катализаторов с электрофильтрами и устройством для удаления серы и ее соединений.
Газовая горелка 19 котла-утилизатора 17, камера 22 сгорания газовой турбины и газовый аккумулятор 31 гидравлически соединены с газовым компрессором 15 низкого давления, расположенным после второй ступени 14 очистки синтез-газа.
Газовый компрессор 32 высокого давления установлен в линии питания каталитического реактора 36 синтез-газом.
Работа на комбинированной парогазовой установке с плазмотермической газификацией угля предусмотрена в нескольких режимах: в режиме выдачи тепла, в режиме выдачи электроэнергии и в режиме выдачи сжиженных и газообразных углеводородсодержащих продуктов высшего ряда, например, бензина, ацетилена и синтез-газа.
Работа установки по первому режиму осуществляется следующим образом. Предварительно измельченный уголь из бункера 1 через дозатор 3 при помощи питателя подается в газификатор 3, где, взаимодействуя с факелом плазмотрона 5, он газифицируется. Образовавшийся в результате закалки синтез-газ, пройдя теплообменники парогенератора 4, попадает в пароэжектор 8 и далее - в центробежно-барботажный аппарат 9 первой ступени 10 системы очистки. Очистившись во вращающемся вихревом поле от пыли и балластируемого газа, синтез-газ поступает на вход в газодувку 13, которая направляет его во вторую ступень 14 системы очистки, в которой он осушается и очищается от серы и ее компонентов, а затем поступает на вход компрессора 15. После охладителя 16 очищенный синтез-газ направляется в газовую горелку 19, а при его избытке в газовый аккумулятор 31. При этом в котле-утилизаторе синтез-газ сжигается при избытке кислорода, который поступает туда из воздушного компрессора 21. Сгоревший синтез-газ и образовавшиеся при этом газы, пройдя теплообменник парогенератора 18 и теплообменник 26, с помощью дымососа 27 выкидываются через дымовую трубу 28 в атмосферу. В это время шлак из газификатора 3 поступает в шлакосборник 7, в шлам из первой ступени 10 системы очистки - в шламосборник 12. Пылевидные остатки из котла-утилизатора 17 накапливаются в золасборнике 24. Все тепло, образовавшееся в процессе газификации угля и сжигания синтез-газа, отдается через теплообменники воде, прокачиваемой через них с помощью насоса 29, и утилизируется в контуре 30. Это тепло идет либо на обогрев жилых помещений, либо - в технологический процесс.
Работа установки по второму режиму осуществляется следующим образом
Измельченный уголь из бункера 1 через дозатор 2 при помощи питателя подается в газификатор 3. С включением плазмотронов 5 в парогенераторе 4 начинает генерироваться пар, который направляется на паротурбинную установку 6, при этом прокачка воды через контур 30 осуществляется только в режиме запуска. С образованием в газификаторе значительного количества синтез-газа последний после осушения и очистки направляются в газовую горелку 19 котла-утилизатора 17 и параллельно в камеру сгорания 22 газотурбинной установки 23. Образовавшийся в парогенераторе 18 котла-утилизатора 17 пар направляется во вторую паротурбинную установку 20. Вся вырабатываемая установкой электрическая энергия, исключая собственную потребность, идет к потребителю. Сгоревший в камере сгорания 22 синтез-газ через выхлоп 25 с газовой турбины вновь впрыскивается в зону пламени горелки 19 котла-утилизатора 17. Образовавшиеся при сгорании газы, пройдя теплообменник 26, выкидываются дымососом 27 через дымовую трубу 28 в атмосферу. В зависимости от режима работы установки избыток или недостаток синтез-газа соответственно потребляется или накапливается в газовом аккумуляторе 31. При необходимости может быть включен насос 29, который будет подпитывать паротурбинные установки и поддерживать температуру в газификаторе 3 и котле-утилизаторе 17 на заданном уровне. Охлаждение шлакоприемника 7, шламоприемника 12 и золаприемника 24, как и охлаждение холодильников паротурбинных установок 6, 20 и компрессоров низкого и высокого давления, обеспечивается от дополнительного насоса (на чертеже условно не показан), а сброс избыточного тепла осуществляется через контору 30.
Работа установки в третьем режиме предусматривает дополнительное включение плазмотронов 5 в газификаторе 3 и включение компрессора 15, направляющего весь синтез-газ в газовый аккумулятор 31 или в компрессор 32. Последний выдает синтез-газ через распределитель 34 и транспортное устройство 35 потребителю или обеспечивает работу каталитического реактора 36, получаемые продукты которого выдаются через устройство 37 и транспортное устройство 38 потребителю либо накапливаются в сжиженном виде в накопителе 39. При этом паротурбинная установка 20 котла-утилизатора 17 находится в выключенном состоянии, а газотурбинная установка 23 - в дежурном режиме, кратковременно включаясь в работу по мере недостатка электрической энергии или накопления избыточного количества синтез-газа. Вырабатываемая паротурбинной установкой 6 и газотурбинной установкой 23 электрическая энергия идет в это время только на собственные нужды (плазмотроны, насосы, компрессоры).
Приведенные примеры режимов работы установки не ограничивают ее использование. Она может эксплуатироваться и в других режимах - при выдаче потребителю тепла, электроэнергии, синтез-газа, ацетилена и бензина одновременно. Соотношение выдаваемых продуктов зависит от нужд потребителя. Так, зимой потребитель тепла стоит на первом месте, а потребитель бензина - на втором, в теплое время года - наоборот. Суточная загрузка установки и диктуется запросами потребителя, например, ночью электрическая энергия может использоваться на производство синтез-газа, ацетилена или бензина, а утром и вечером выдаваться потребителю. Такой подход обеспечивает максимально полное использование установленной мощности оборудования и экономически выгодный режим работы его во времени. При этом установка не требует ни сложного оборудования, ни больших затрат при ее переключении с одного режима работы на другой. В аварийной ситуации установка выключается почти мгновенно.
ФОРМУЛА ИЗОБРЕТЕНИЯ
1. Комбинированная парогазовая установка с плазмотермической газификацией угля, включая две паровые и одну газовую турбины с электрогенераторами, плазмотермический газификатор с узлом подачи угля, парогенераторы, котел-утилизатор, камеру сгорания, газовый аккумулятор, систему очистки газа, воздушный и газовый компрессоры и каталитический реактор для получения сжиженных углеводородов, отличающаяся тем, что один из парогенераторов установлен внутри плазмотермического газификатора, имеющего по меньшей мере два плазмотрона на парах воды, и гидравлически связан с паровой турбиной, узлом подачи угля и одним из плазмотронов, второй парогенератор установлен внутри котла-утилизатора под газовой горелкой для сжигания синтез-газа и гидравлически связан с второй паровой турбиной, узлом подачи угля и другим плазмотроном, при этом оба парогенератора гидравлически связаны с контуром утилизации тепла, а выхлоп с газовой турбины расположен внутри котла-утилизатора в зоне действия пламени его газовой горелки и гидравлически связан через теплообменник парогенератора и дымосос с дымовой трубой.
2. Установка по п. 1, отличающаяся тем, что система очистки синтез-газа разделена на две ступени, связанные с плазмотермическим газификатором при помощи пароэжектора и между собой с помощью газодувки, из которых первая ступень мокрая и включает центробежно-барботажный аппарат с рециркуляционным контуром жидкого абсорбента и устройством для удаления шлама, а вторая ступень сухая и включает сменный блок катализаторов с электрофильтрами и устройством для удаления серы и ее соединений.
3. Установка по п. 2, отличающаяся тем, что газовая горелка котла-утилизатора, камера сгорания газовой турбины и газовый аккумулятор гидравлически соединены с газовым компрессором низкого давления, расположенным после второй ступени системы очистки синтез-газа.
4. Установка по п. 3, отличающаяся тем, что в линии питания каталитического реактора синтез-газом установлен газовый компрессор высокого давления и предусмотрено устройство для забора газообразного и сжиженного продуктов газификации, например синтез-газа и бензина.
Версия для печати
Дата публикации 07.01.2007гг
Created/Updated: 25.05.2018
|
