| Начало раздела Производственные, любительские Радиолюбительские Авиамодельные, ракетомодельные Полезные, занимательные | Хитрости мастеру Электроника Физика Технологии Изобретения | Тайны космоса Тайны Земли Тайны Океана Хитрости Карта раздела | |
| Использование материалов сайта разрешается при условии ссылки (для сайтов - гиперссылки) | |||
Навигация: => | На главную/ Каталог патентов/ В раздел каталога/ Назад / |
|
ИЗОБРЕТЕНИЕ
Патент Российской Федерации RU2222878
![]()
СВЧ УСТРОЙСТВО ДЛЯ ГЕНЕРАЦИИ ПЛАЗМОИДОВ ТИПА ШАРОВЫХ МОЛНИЙ (ВАРИАНТЫ)
Имя изобретателя: Щелкунов Г.П.
Имя патентообладателя: Федеральное государственное унитарное предприятие "Научно- производственное предприятие "Исток"
Адрес для переписки: 141190, Московская обл., г. Фрязино, ул. Вокзальная, 2А, ФГУП "НПП "Исток", патентный отдел
Дата начала действия патента: 2002.07.25
Изобретение относится к устройствам для генерации плазмоидов, близких по своим свойствам к шаровым молниям и имеющих возможность автономного существования в свободном пространстве. Устройство содержит СВЧ-резонатор открытого типа, снабженный снаружи отрезками запредельного круглого волновода; плазменную камеру, выполненную в виде диэлектрической трубки, которая проходит через СВЧ-резонатор и отрезки запредельного круглого волновода; волноводное устройство для подведения СВЧ-энергии; высокочастотный магнитно-импульсный индуктор, который расположен внутри СВЧ-резонатора и окружает проходящую через СВЧ-резонатор диэлектрическую трубку, по крайней мере на части ее длины. Во втором варианте изобретения устройство содержит объемный СВЧ-резонатор (шарообразной, цилиндрической или тороидальной формы) с волноводным устройством для подведения СВЧ- энергии и высокочастотный магнитно-импульсный индуктор, расположенный снаружи СВЧ-резонатора и окружающий выходной участок диэлектрической трубки. Технический результат – получение высокоэнергетичных плазмоидов типа шаровых молний, обладающих возможностью быть в свободном пространстве в течение продолжительного времени.
ОПИСАНИЕ ИЗОБРЕТЕНИЯ
Изобретение относится к устройствам для генерации плазмы, а именно к СВЧ-устройствам для генерации плазмоидов, близких по своим свойствам к шаровым молниям и имеющих возможность автономного существования в пространстве.
Известен генератор плазмоидов К. Чуканова, содержащий размещенные в вакуумной камере два плоских электрода, между которыми возбуждались шарообразные плазмоиды с помощью высокочастотного (ВЧ) поля (мощность ВЧ-генератора 3000 Вт, частота колебаний 13,56 МГц) [1, с.233]. Однако условия возбуждения плазмоидов в вакууме, низкий уровень подводимой ВЧ-мощности и значительное ее рассеяние вне электродов не позволяют получить в таком устройстве плотные плазмоиды с высоким энергосодержанием, характерным для естественных шаровых молний (ШМ).
Исходя из известных расчетных данных естественная шаровая молния имеет следующие параметры [1]:
- диаметр - 30 см,
- время существования - 70 сек,
- энергосодержание - 107 Дж.
В реальных условиях, при рождении естественной ШМ и ее автономном перемещении в пространстве, имеет место разброс параметров ШМ и их изменение во времени, обусловленное потерей энергии [2, 3]. И тем не менее, во всех случаях для естественной ШМ характерны достаточно высокое энергосодержание и возможность ее автономного существования в пространстве, свободном от действия возбудивших ее электромагнитных полей в течение нескольких десятков секунд.
Известны генераторы плазмы, например [4], в которых плазму возбуждают в волноводе, что позволяет значительно снизить рассеяние подводимой энергии и повысить энергосодержание плазмоидов.
Однако в волноводе достигается невысокая напряженность электрической компоненты электромагнитного поля даже при достаточно высоких уровнях проходящей мощности, что не может обеспечить генерацию плазмы с высоким энергосодержанием.
Для получения плазмы с более высоким энергосодержанием используют устройства для генерации плазмы, выполненные на основе СВЧ-резонаторов, например [5]. Такое устройство содержит газоразрядную трубку, проходящую через объемный СВЧ-резонатор, в одной из стенок которого выполнена прорезь для связи его с волноводным устройством, обеспечивающим подведение СВЧ-энергии. Однако неравномерность распределения электрической компоненты электромагнитного поля в прямоугольном резонаторе по азимутальным направлениям не позволяет обеспечить азимутальную однородность плазмы и локализацию ее на оси газоразрядной трубки.
Другим генератором плазмы является СВЧ-устройство для генерации плазмы, содержащее кооксиально расположенные цилиндрическую плазменную камеру и охватывающий ее объемный кольцевой СВЧ-резонатор [6]. В устройстве для генерации плазмы имеются и выполненные на основе волноводов устройства для подведения возбуждающей плазму энергии от СВЧ-генератора к кольцевому СВЧ-резонатору через прорезь в его внешней стенке. Во внутренней стенке кольцевого СВЧ-резонатора выполнены щели связи, расположенные равномерно по азимуту вокруг его оси. Они обеспечивают более равномерное по азимуту поступление СВЧ-энергии из кольцевого СВЧ-резонатора в плазменную камеру и тем самым улучшают пространственную однородность параметров возбуждаемой плазмы и локализацию ее на оси цилиндрической плазменной камеры. Устройство позволяет сформировать в плазменной камере столб плазмы с высоким энергосодержанием. Однако в этом устройстве связь СВЧ-волновода с плазменной камерой осуществляют через объемный кольцевой СВЧ-резонатор, прибегая к двухступенчатой и усложняющей устройство связи между СВЧ-волноводом - СВЧ-резонатором, СВЧ-резонатором - плазменной камерой. Связь между СВЧ-волноводом и СВЧ-резонатором через одну прорезь (щель) ограничивает уровень подводимой в СВЧ-резонатор и плазменную камеру СВЧ-мощности, так как к щели приложено СВЧ-напряжение, соответствующее подводимой СВЧ-мощности питания, а не рассредоточено на ряде щелей. Соответственно и достигаемое энергосодержание плазмы ограничено.
Известно СВЧ-устройство для генерации плазмы, содержащее объемный резонатор, газоразрядную трубку (в которую подается плазмообразующий газ), расположенную внутри упомянутого объемного резонатора вдоль его оси симметрии, питающий волновод для передачи СВЧ-энергии в полость объемного резонатора, при этом питающий волновод расположен перпендикулярно продольной оси газоразрядной трубки снаружи объемного резонатора и имеет с последним общую стенку, элементы электромагнитной связи, расположенные в общей стенке волновода и резонатора и предназначенные для излучения СВЧ-энергии из волновода в полость резонатора, причем элементы связи равноудалены от продольной оси газоразрядной трубки и отстоят один от другого на расстоянии, обеспечивающем синфазность возникающих в них колебаний [7].
В случае, когда соседние элементы связи расположены по разные стороны (двухрядная система) продольной оси волновода, расстояние между их центрами равно половине длины волны СВЧ-энергии питания.
В случае, когда соседние элементы связи расположены по одну сторону продольной оси волновода (однорядная система), расстояние между их центрами равно длине волны СВЧ-энергии питания.
В случае, когда волновод представляет собой замкнутое кольцо, СВЧ-энергия распространяется от места ее ввода в обе стороны равномерно.
В качестве объемного резонатора возможно использование шарового и цилиндрического СВЧ-резонаторов.
Устройство имеет более высокую мощность и обеспечивает локализацию возбужденной в нем плазмы на оси газоразрядной трубки. В устройстве можно получить столб плазмы с высоким энергосодержанием, заданными размерами и одинаковыми по всему его сечению параметрами.
Однако описанные выше устройства являются генераторами плазмы с высокочастотным и сверхвысокочастотным возбуждением. При их проектировании и создании не ставилась задача получения автономно существующих в пространстве в течение продолжительного времени высокоэнергетических плазмоидов.
На решение такой задачи направлено известное устройство для генерации автономных плазменных образований [1, с.235], состоящее из генератора плазмы, выполненного на основе разрядника, и вращающегося диска с отверстиями (обтюратора), установленного на выходе генератора плазмы.
С помощью обтюратора выходящая из генератора плазмы плазменная струя разбивалась на отдельные порции плазмы, которые принимали форму веретен и совершали автономный полет в свободном пространстве в течение 3 миллисекунд на расстояние до 1,5 м.
Энергосодержание таких порций плазмы чуть, поэтому чуть и время их существования и у них отсутствует возможность при более длительном полете приобрести шарообразную форму.
Настоящее изобретение направлено на получение высоэнергетичных плазмоидов типа шаровых молний, обладающих возможностью быть в свободном пространстве в течение продолжительного времени.
В первом варианте изобретения предлагается СВЧ-устройство для генерации плазмоидов типа шаровых молний, которое содержит соосно расположенные плазменную камеру, аксиально-симметричный СВЧ-резонатор с устройством для подведения СВЧ-энергии и высокочастотный магнитно-импульсный индуктор, при этом СВЧ-резонатор выполнен в виде резонатора открытого типа, содержащего два зеркала, разнесенных друг от друга вдоль оси СВЧ-резонатора и обращенные друг к другу лицевыми сторонами, каждое из которых снабжено отрезком запредельного круглого волновода, расположенным снаружи от СВЧ-резонатора и соосно с ним, плазменная камера выполнена в виде диэлектрической трубки, которая проходит через СВЧ-резонатор и отрезки запредельного круглого волновода, причем выходной конец диэлектрической трубки служит выходом СВЧ-устройства, устройство для подведения СВЧ-энергии к СВЧ-резонатору содержит один или несколько волноводов, каждый из которых свернут вокруг оси СВЧ-резонатора в неполное кольцо и установлен на одном из зеркал с внешней стороны СВЧ-резонатора и электромагнитно связан с СВЧ-резонатором через элементы связи, расположенные в зеркале СВЧ-резонатора равноудаленно от оси и равномерно по азимуту СВЧ-резонатора, при этом СВЧ-устройство содержит высокочастотный магнитно-импульсный индуктор, который расположен внутри СВЧ-резонатора симметрично между его зеркалами и окружает проходящую через СВЧ-резонатор диэлектрическую трубку по крайней мере на части ее длины.
В качестве зеркал СВЧ-резонатора могут быть использованы параболические зеркала или зеркала, выполненные в виде сегментов сферы, или плоские зеркала.
Элементы связи могут быть выполнены в виде по крайней мере одного ряда щелей в зеркале СВЧ-резонатора.
Проходящие через отрезки запредельного круглого волновода входной и выходной участки диэлектрической трубки могут быть соосно присоединены через переходные участки к центральному участку диэлектрической трубки, который имеет большее поперечное сечение и длину, равную длине окружающего его высокочастотного магнитно-импульсного индуктора.
Диэлектрическая трубка может быть соединена входным концом с устройством для подведения газа.
В предлагаемом устройстве возбуждение плазмоида с высоким энергосодержанием производят в плазменной камере, размещенной внутри СВЧ-резонатора, а быстрый вывод плазмоида за пределы устройства осуществляют с помощью высокочастотного магнитно-импульсного индуктора. Этот индуктор размещен внутри СВЧ-резонатора открытого типа, между зеркалами которого могут укладываться до 10-12 длин волн СВЧ-энергии питания (длина индуктора составит одну полуволну СВЧ-энергии питания).
Каждое из зеркал СВЧ-резонатора снабжено отрезком запредельного круглого волновода, расположенным по оси зеркал на внешней их стороне. Это позволяет зажигать плазму при меньшей мощности СВЧ-питания.
Плазменная камера выполнена в виде диэлектрической трубки, например, из кварца, что предотвращает “растекание” плазмы по объему СВЧ-резонатора и ее оседание на отрезках запредельного круглого волновода, зеркалах СВЧ-резонатора и на поверхностях высокочастотного магнитно-импульсного индуктора и возможность закорачивания элементов связи. Выполнение диэлектрической трубки с расширением в центральной части позволяет уменьшить искажение СВЧ-поля внутри -резонатора.
Использование в устройстве одного или нескольких волноводов, свернутых в неполные кольца и связанных с СВЧ-резонатором через элементы связи, расположенные равноудаленно от оси и равномерно по азимуту СВЧ-резонатора, обеспечивает равномерность подвода СВЧ-энергии питания ко всем элементам связи и синфазность СВЧ-колебаний в них.
В случае подведения к СВЧ-резонатору СВЧ-энергии питания высокого уровня мощности целесообразно использовать в устройстве не один, а несколько волноводов питания и выполнять несколько рядов элементов связи, например несколько рядов щелей, электрическая прочность каждой из которых ограничена при атмосферном давлении. При этом наиболее простая конструкция устройства получается при использовании плоских зеркал СВЧ-резонатора.
Для обеспечения высокого уровня подводимой к СВЧ-резонатору СВЧ-энергии и для сокращения при этом энергопотребления источником СВЧ-энергии предпочтительно использовать импульсные источники СВЧ-энергии.
Возможность быстрого вывода плазмы из устройства в виде плазмоида с помощью ВЧ магнитно-импульсного индуктора объясняется следующим. При подаче на индуктор импульса ВЧ-энергии от импульсного ВЧ-источника в индукторе возникает магнитное поле. Оно проникает в плазму, находящуюся внутри индуктора, на величину скин-слоя, не влияя при этом на внутреннюю структуру плазмы (она сохраняется). Наводимое магнитное поле имеет направление, противоположное направлению магнитного поля, создаваемого в индукторе. В результате этого возникает сила, мгновенно выталкивающая плазму из индуктора в виде плазмоида. Направление “вылета” плазмоида зависит от направления магнитного поля индуктора.
Для обеспечения эффективного взаимодействия магнитного поля индуктора с наведенным в скин-слое плазмы магнитным полем величину скин-слоя плазмы можно регулировать, изменяя частоту импульсного ВЧ-источника, подключенного к индуктору.
Во втором варианте изобретения предлагается СВЧ-устройство для генерации плазмоидов типа шаровых молний, которое содержит соосно расположенные плазменную камеру, аксиально-симметричный объемный СВЧ-резонатор с устройством для подведения СВЧ-энергии и высокочастотный магнитно-импульсный индуктор, при этом СВЧ-резонатор снабжен входным и выходным отрезками запредельного круглого волновода, расположенными вдоль оси СВЧ-резонатора по обе стороны от него, плазменная камера выполнена в виде диэлектрической трубки, которая проходит через объемный СВЧ-резонатор и отрезки запредельного круглого волновода, причем диэлектрическая трубка соединена входным концом с устройством для подведения газа, а выходным концом выведена из объемного СВЧ-резонатора через выходной отрезок запредельного круглого волновода и выступает из него, устройство для подведения СВЧ-энергии к объемному СВЧ-резонатору содержит свернутый вокруг оси СВЧ-резонатора в неполное кольцо волновод, который охватывает объемный СВЧ-резонатор и электромагнитно связан с ним через элементы связи, расположенные в стенке объемного СВЧ-резонатора равноудаленно от оси и равномерно по азимуту, а высокочастотный магнитно-импульсный индуктор окружает выступающий из выходного отрезка запредельного круглого волновода участок диэлектрической трубки по всей его длине.
В качестве СВЧ-резонатора может быть использован шарообразный, или цилиндрический, или тороидальный резонатор.
Элементы связи могут быть выполнены в виде по крайней мере одного ряда щелей в стенке СВЧ-резонатора.
При недостаточности подводимой к СВЧ-резонатору мощности для самоподжига плазмы СВЧ-устройство может быть снабжено дополнительным средством для огневого поджига плазмы, обеспечивающим, например, подсыпку горячего табачного пепла в диэлектрическую трубку.
В предлагаемом устройстве предпочтительно использовать объемный СВЧ-резонатор, выполненный на типе колебаний с максимумом напряженности электрического поля в его центре. Наиболее подходит для этого шарообразная форма СВЧ-резонатора. Он может быть выполнен и в виде цилиндра или тороида.
Свернутый в неполное кольцо волновод, охватывающий СВЧ-резонатор, позволяет получить равномерное подведение СВЧ-энергии ко всем элементам связи между волноводом и СВЧ-резонатором.
Размещение элементов связи на равном удалении от оси и равномерное расположение их по азимуту обеспечивает синфазность СВЧ-колебаний во всех элементах связи.
Для предотвращения оседания плазмы на стенках СВЧ-резонатора и возможного при этом закорачивания элементов связи (выполненных, например, в виде узких щелей) при зажигании газового разряда в плазменной камере она выполнена в виде диэлектрической трубки, например, из кварца.
Снабжение объемного СВЧ-резонатора входным и выходным отрезками запредельного круглого волновода предотвращает утечку СВЧ-энергии из СВЧ-резонатора, позволяя тем самым зажигать плазму при меньшей подводимой к СВЧ-резонатору СВЧ-мощности.
Совокупность указанных конструктивных признаков предлагаемого изобретения позволяет возбудить в диэлектрической трубке СВЧ-устройства плазму с высоким энергосодержанием.
Устройство снабжено ВЧ магнитно-импульсным индуктором. Он размещен вне полости объемного СВЧ-резонатора и окружает выступающий из выходного отрезка запредельного волновода участок диэлектрической трубки по всей его длине.
Использование такого индуктора и предлагаемое размещение его в устройстве позволяет осуществить максимально быстрый вывод (“выстрел”) возбужденной плазмы за пределы устройства в виде плазмоида. Вывод плазмоида происходит практически без потерь энергии и обеспечивает автономное его существование в свободном пространстве в течение продолжительного времени.
В обоих вариантах изобретения для зажигания плазмы в газовой среде, отличающейся по составу от атмосферного воздуха, диэлектрическая трубка может быть соединена входным концом с устройством для подведения газа или смеси газов, образующих эту газовую среду.
Изобретение поясняется чертежами.
![]() | ![]() |
![]() | На фиг.1 показано СВЧ-устройство для генерации плазмоидов, выполненное на основе СВЧ-резонатора открытого типа согласно первому варианту изобретения. На фиг.2 показан другой пример выполнения СВЧ-устройства по этому варианту. На фиг.3 показано СВЧ-устройство для генерации плазмоидов, выполненное на основе объемного СВЧ-резонатора согласно второму варианту изобретения. СВЧ-устройство для генерации плазмоидов согласно первому варианту изобретения, показанное на фиг.1, содержит СВЧ-резонатор 1 открытого типа, образованный двумя разнесенными друг от друга зеркалами 2 и 3, снабженными расположенными вдоль оси СВЧ-резонатора цилиндрическими отрезками запредельного круглого волновода 4 и 5 соответственно. Между зеркалами 2 и 3 расположен высокочастотный магнитно-импульсный индуктор 6. Через СВЧ-резонатор 1, отрезки волновода 4 и 5 и канал индуктора 6 проходит диэлектрическая трубка 7, например, из кварца. Устройство для подведения СВЧ-энергии к зеркалам 2 и 3 от СВЧ-генераторов 8 и 8’ (СВЧ-генератор 8’ на чертеже не показан) содержит волноводы 9 и 9’. В зеркалах 2 и 3 (на их участках 10 и 10’, образующих общие стенки СВЧ-резонатора 1 и волноводов 9 и 9’) выполнены щели связи 11 и 11’ соответственно. |
Входной конец диэлектрической трубки (охваченный отрезком волновода 4) может быть соединен с устройством подведения газа (не показано на чертеже), которое может быть выполнено, например, в виде форсунки, как показано на фиг.3 во втором варианте изобретения. Для уменьшения искажений СВЧ-поля внутри СВЧ-резонатора 1 и для снижения в нем СВЧ-потерь желательно располагать индуктор 6 внутри СВЧ-резонатора дальше от его оси (делать диаметр канала индуктора 6 больше), а внешнюю поверхность диэлектрической трубки желательно располагать вблизи стенок канала индуктора 6. На фиг.2 показан пример выполнения такого устройства. Проходящие через отрезки 4 и 5 запредельного волновода входной 7’ и выходной 7” участки диэлектрической трубки соосно присоединены через переходные участки 7’’’ к центральному участку 7”” диэлектрической трубки. Центральный участок 7”” диэлектрической трубки имеет большое поперечное сечение, а длину, равную длине окружающего его индуктора 6.
УСТРОЙСТВО РАБОТАЕТ СЛЕДУЮЩИМ ОБРАЗОМ
К СВЧ-резонатору 1 через волноводы 9 или 9’ от СВЧ-генераторов 8 или 8’ подводится СВЧ-энергия, предпочтительно в импульсном режиме.
Для зажигания плазмы в трубке 7 через отверстие на ее входном конце (охваченном отрезком волновода 4) подсыпают, например, горячий табачный пепел. В случае непрерывного режима подсыпают начальную для каждого цикла работы порцию пепла, а в случае импульсного режима подсыпку пепла осуществляют непрерывно.
После зажигания плазмы в трубке 7 подают на индуктор 6 импульс высокочастотного напряжения, в результате чего плазма из трубки 7 выбрасывается (“выстреливается”) через отверстие на ее выходном конце (охваченном отрезком 5) в свободное пространство в виде плазмоида.
Устройство, показанное на фиг.2, работает аналогично устройству, показанному на фиг.1, с тем отличием, что плазма зажигается внутри диэлектрической трубки, состоящей из участков 7’, 7”, 7’’’, 7””.
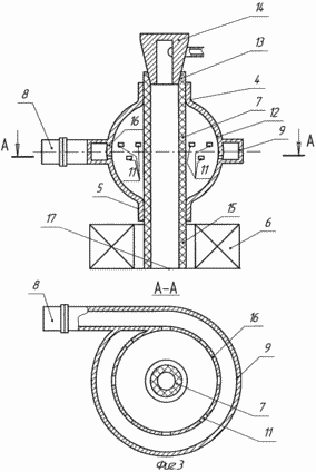
СВЧ-устройство для генерации плазмоидов согласно второму варианту изобретения, один из возможных примеров конкретного выполнения которого изображен на фиг.3, содержит шарообразный объемный СВЧ-резонатор 12 (в устройстве может быть использован и цилиндрический или тороидальный резонатор), снабженный двумя отрезками 4 и 5 запредельного круглого волновода, расположенными вдоль оси СВЧ-резонатора 12 на противоположных его концах. Отрезки 4 и 5 охватывают диэлектрическую трубку 7 (например, из кварца), которая расположена вдоль оси СВЧ-резонатора 12 и пересекает его.
К входному концу 13 трубки 7 подсоединена пробка-форсунка 14 (вихревая газовая форсунка), через которую подается газ в диэлектрическую трубку 7.
Выходной участок 15 трубки 7 выведен из СВЧ-резонатора и выступает из выходного отрезка волновода 5.
СВЧ-резонатор 12 охвачен волноводом 9, свернутым в неполное кольцо вокруг оси СВЧ-резонатора 12 и имеющим общую с СВЧ-резонатором 12 стенку 16. В стенке 16 равномерно по азимуту вокруг оси СВЧ-резонатора 12 и равноудаленно от оси расположены элементы связи, выполненные, например, в виде рядов щелей связи 11. На фиг.3 показаны два ряда щелей, расположенных выше и ниже сечения А-А.
Волновод 9 входным концом подключен (непосредственно или через дополнительные элементы волноводного тракта) к СВЧ-генератору 8, в качестве которого может быть использован, например, мощный клистрон.
СВЧ-генератор 8 может работать в непрерывном или импульсном режимах.
Выступающий из отрезка волновода 5 участок 15 диэлектрической трубки 7 окружен по всей его длине насаженным на участок 15 трубки 7 высокочастотным магнитно-импульсным индуктором 6.
ВЧ магнитно-импульсный индуктор 6 подключен к импульсному ВЧ-источнику (не показан на чертеже).
На практике применяют импульсные ВЧ-источники с частотой колебаний в процессе импульса (разряда батарей высоковольтных конденсаторов) 20 и 100 кГц.
Такой индуктор может быть выполнен, например, в виде широкой спирали или в виде набора пластин с полукруглыми центральными отверстиями. Каждый виток индуктора изолирован от другого, например, текстолитовыми пластинами с полукруглыми центральными отверстиями.
Для вывода возбужденной плазмы из устройства служит отверстие 17 на выходном конце диэлектрической трубки 7.
Дополнительный огневой поджиг плазмы может быть произведен, например, путем подсыпания горячего табачного пепла в трубку 7 со стороны ее входного конца (пробка-форсунка 14 при этом удалена).
УСТРОЙСТВО РАБОТАЕТ СЛЕДУЮЩИМ ОБРАЗОМ
СВЧ-энергию подают от СВЧ-генератора 8 через волновод 9 и щели связи 11 в объемный СВЧ-резонатор 12.
Для облегчения зажигания плазмы в трубку 7 подсыпают горячий табачный пепел (при открытом положении пробки-форсунки 14). При этом в случае непрерывного режима работы СВЧ-генератора 8, в трубку 7 подсыпают начальную для каждого цикла работы порцию пепла, а в случае импульсного режима работы (предпочтительного по уровню подаваемой мощности) подсыпку пепла производят непрерывно с помощью соответствующего устройства.
После зажигания плазмы в трубке 7 (в центральной области СВЧ-резонатора 12) отверстие у входного конца 13 трубки 7 закрывают пробкой-форсункой 14 и затем подают через нее в трубку 7 под напором газ, например, азот. Струя газа увлекает плазму и выносит ее в область 15 трубки 7, окруженную ВЧ магнитно-импульсным индуктором 6.
При подаче на индуктор 6 импульса ВЧ-энергии находящаяся внутри индуктора в трубке 7 (участок 15) плазма выбрасывается (“выстреливается”) через отверстие 17 в свободное пространство в виде плазмоида.
В случае работы СВЧ-генератора 8 в импульсном режиме импульс ВЧ-энергии на ВЧ-индуктор 6 следует подавать с задержкой относительно импульса СВЧ-энергии (подаваемой в резонатор 12), учитывая время пролета плазмы от центра резонатора 12 до центра канала индуктора 6.
Предлагаемые варианты изобретения позволяют возбудить в диэлектрической трубке плазму с высоким энергосодержанием и вывести ее в свободное пространство с помощью высокочастотного магнитно-импульсного индуктора в виде плазмоида, близкого по своим свойствам к естественной шаровой молнии.
Исследование таких плазмоидов позволит изучить особенности условий их существования и состава. Полученные при исследовании данные могут быть использованы для создания эффективных устройств перспективной энергетики.
ИСТОЧНИКИ ИНФОРМАЦИИ
1. Будущее открывается квантовым ключом. Сборник статей академика Р.Ф. Авраменко. М.: Химия, 2000.
2. “Наука и жизнь”, 1975, № 12, с.86.
3. “Техника молодежи”, 1982, № 7, с.46-52.
4. Авт. свид. СССР № 449288, МКИ G 01 N 21/56. СВЧ-плазмотрон для спектрального анализа, приоритет от 29.04.71, опубл. 05.11.74, БИ № 41.
5. Патент Германии № 4008195, МКИ Н 05 Н 1/46. Устройство для возбуждения газового промежутка с помощью СВЧ-энергии, приоритет от 15.03.90, опубл. 26.09.91.
6. Патент Германии № 4235914, МКИ Н 05 Н 1/46. Устройство для создания СВЧ-плазмы, приоритет от 23.10.97, опубл. 28.04.94.
7. Патент Германии № 1924790, МКИ Н 05 Н. Сверхвысокочастотный плазмотрон, приоритет от 14.05.69, опубл. 19.11.70.
ФОРМУЛА ИЗОБРЕТЕНИЯ
1. СВЧ-устройство для генерации плазмоидов типа шаровых молний, отличающееся тем, что оно содержит соосно расположенные плазменную камеру, аксиально-симметричный СВЧ-резонатор с устройством для подведения СВЧ-энергии и высокочастотный магнитно-импульсный индуктор, при этом СВЧ-резонатор выполнен в виде резонатора открытого типа, содержащего два зеркала, разнесенные друг от друга вдоль оси СВЧ-резонатора и обращенные друг к другу лицевыми сторонами, каждое из которых снабжено отрезком запредельного круглого волновода, расположенным снаружи от СВЧ-резонатора и соосно с ним, плазменная камера выполнена в виде диэлектрической трубки, которая проходит через СВЧ-резонатор и отрезки запредельного круглого волновода, причем выходной конец диэлектрической трубки служит выходом СВЧ-устройства, устройство для подведения СВЧ-энергии к СВЧ-резонатору содержит один или несколько волноводов, каждый из которых свернут вокруг оси СВЧ-резонатора в неполное кольцо и установлен на одном из зеркал с внешней стороны СВЧ-резонатора и электромагнитно связан с СВЧ-резонатором через элементы связи, расположенные в зеркале СВЧ-резонатора равноудаленно от оси и равномерно по азимуту СВЧ-резонатора, при этом СВЧ-устройство содержит высокочастотный магнитно-импульсный индуктор, который расположен внутри СВЧ-резонатора симметрично между его зеркалами и окружает проходящую через СВЧ-резонатор диэлектрическую трубку по крайней мере на части ее длины.
2. СВЧ-устройство по п.1, отличающееся тем, что в качестве зеркал СВЧ-резонатора использованы параболические зеркала или зеркала, выполненные в виде сегментов сферы, или плоские зеркала.
3. СВЧ-устройство по п.1 или 2, отличающееся тем, что элементы связи выполнены в виде по крайней мере одного ряда щелей в зеркале СВЧ-резонатора.
4. СВЧ-устройство по любому из пп.1-3, отличающееся тем, что проходящие через отрезки запредельного круглого волновода входной и выходной участки диэлектрической трубки соосно присоединены через переходные участки к центральному участку диэлектрической трубки, который имеет большее поперечное сечение и длину, равную длине окружающего его высокочастотного магнитно-импульсного индуктора.
5. СВЧ-устройство по любому из пп.1-4, отличающееся тем, что диэлектрическая трубка соединена входным концом с устройством для подведения газа.
6. СВЧ-устройство для генерации плазмоидов типа шаровых молний, отличающееся тем, что оно содержит соосно расположенные плазменную камеру, аксиально-симметричный объемный СВЧ-резонатор с устройством для подведения СВЧ-энергии и высокочастотный магнитно-импульсный индуктор, при этом СВЧ-резонатор снабжен входным и выходным отрезками запредельного круглого волновода, расположенными вдоль оси СВЧ-резонатора по обе стороны от него, плазменная камера выполнена в виде диэлектрической трубки, которая проходит через объемный СВЧ-резонатор и отрезки запредельного круглого волновода, причем диэлектрическая трубка соединена входным концом с устройством для подведения газа, а выходным концом выведена из объемного СВЧ-резонатора через выходной отрезок запредельного круглого волновода и выступает из него, устройство для подведения СВЧ-энергии к объемному СВЧ-резонатору содержит свернутый вокруг оси СВЧ-резонатора в неполное кольцо волновод, который охватывает объемный СВЧ-резонатор и электромагнитно связан с ним через элементы связи, расположенные в стенке объемного СВЧ-резонатора равноудаленно от оси и равномерно по азимуту, а высокочастотный магнитно-импульсный индуктор окружает выступающий из выходного отрезка запредельного круглого волновода участок диэлектрической трубки по всей его длине.
7. СВЧ-устройство по п.6, отличающееся тем, что в качестве СВЧ-резонатора использован шарообразный, или цилиндрический, или тороидальный резонатор.
8. СВЧ-устройство по п.6 или 7, отличающееся тем, что элементы связи выполнены в виде по крайней мере одного ряда щелей в стенке СВЧ-резонатора.
Версия для печати
Дата публикации 15.02.2007гг
Created/Updated: 25.05.2018
|



