| Начало раздела Производственные, любительские Радиолюбительские Авиамодельные, ракетомодельные Полезные, занимательные | Хитрости мастеру Электроника Физика Технологии Изобретения | Тайны космоса Тайны Земли Тайны Океана Хитрости Карта раздела | |
| Использование материалов сайта разрешается при условии ссылки (для сайтов - гиперссылки) | |||
Навигация: => | На главную/ Каталог патентов/ В раздел каталога/ Назад / |
|
ИЗОБРЕТЕНИЕ
Патент Российской Федерации RU2290572
![]()
НАГРЕВАТЕЛЬ ТЕКУЧЕЙ СРЕДЫ
Имя изобретателя: Лисняк Станислав Афанасьевич (RU); Никольский Вячеслав Павлович (RU); СОН БИНГ КИН
Имя патентообладателя: Никольский Вячеслав Павлович (RU); Лисняк Станислав Афанасьевич
Адрес для переписки: 690001, г.Владивосток, ул. Пушкинская, 37, ДВГТУ, патентный отдел, М.И. Звонареву
Дата начала действия патента: 2005.04.19
Изобретение может быть использовано для нагрева жидкостей, подаваемых посредством трубопроводов (в быту или различных областях промышленности), а и при эксплуатации трубопроводных транспортных систем. Задача: повышение рабочего ресурса нагревателя и снижение зависимости эффективности его работы от качества водоподготовки. Сущность: нагреватель текучей среды содержит корпус, в полости которого размещены соосно расположенные с зазором электроды, внешним из которых охвачен внутренний, подводящую и отводящую камеры, расположенные на концах корпуса. Электроды выполнены из химически инертного проводящего материала, например на основе углерода, при этом корпус, подводящая и отводящая камеры выполнены из диэлектрического материала, внешний электрод без зазора закреплен на внутренней поверхности корпуса, причем размеры поперечного сечения его внутренней поверхности монотонно изменяются по его длине, кроме того, размеры поперечного сечения поверхности внутреннего электрода, обращенной к внешнему электроду, монотонно изменяются по его длине, при этом внутренний электрод установлен с возможностью возвратно-поступательного перемещения в полости внешнего электрода, при этом подводящая камера снабжена средством для преобразования поступательного движения жидкости во вращательное, а отводящая камера снабжена средством для преобразования вращательного движения жидкости в поступательное. Кроме того, в качестве средства для преобразования поступательного движения жидкости во вращательное использован циклон, корпус которого использован как корпус подводящей камеры, его тангенциальный патрубок связан с обратным трубопроводом системы отопления, а его осевое отверстие связано с приемным отверстием корпуса нагревателя, при этом в качестве средства для преобразования вращательного движения жидкости в поступательное использован циклон, корпус которого использован как корпус отводящей камеры, его тангенциальный патрубок связан с входным трубопроводом системы отопления, а его осевое отверстие связано с выпускным отверстием корпуса нагревателя, причем стенки улиток размещены по спирали, например, Паскаля или Архимеда. Кроме того, конусность внешнего электрода меньше конусности внутреннего электрода. Кроме того, внутренний электрод выполнен в виде облицовки конического наконечника, закрепленного на одном конце штока, второй конец которого снабжен резьбой и размещен в снабженном аналогичной резьбой отверстии, соосном с продольной осью электродов, выполненном в торцовой стенке отводящей камеры, продольная ось электродов размещена вертикально, при этом в торцовой стенке подводящей камеры выполнено отверстие, закрытое съемным поддоном.
ОПИСАНИЕ ИЗОБРЕТЕНИЯ
Изобретение относится к устройствам для нагревания протекающей через них текучей среды и может быть использовано для нагрева жидкостей, подаваемых посредством трубопроводов (в быту или различных областях промышленности), а и при эксплуатации трубопроводных транспортных систем.
Известны нагреватели текучей среды, выполненные как трубчатые электронагреватели (ТЭНы) для нагрева жидкостей и воздуха (см. Электротехнический справочник, т.3, кн.2. М.: Энергоатомиздат, 1988, раздел 53.1).
Коэффициент полезного действия таких нагревателей составляет от 68 до 90% в зависимости от конструктивного исполнения и срока службы. Срок службы таких нагревателей не превышает 3000 час, а удельная поверхностная мощность для жидкости не должна превышать 10...12 Вт/см, в противном случае срок эксплуатации падает в квадратичной зависимости, и совершенно недопустимо включение «сухого» нагревателя.
Известен и нагреватель текучей среды, содержащий корпус, в полости которого размещены соосно расположенные с зазором электроды, внешним из которых охвачен внутренний, подводящую и отводящую камеры, расположенные на концах корпуса. К таким устройствам относятся электродные водогрейные котлы различной мощности от 25 до 1000 кВт (пат. РФ №2189541, Кл. F 24 Н 1/20, 2002). Нагрев происходит за счет прохождения электрического тока в воде между электродами, фазным и нулевым (антиэлектродом). Достоинством таких котлов является их очень высокий КПД до 98%. Срок службы таких котлов при регулярном обеспечении качественной водоподготовки практически не ограничен. Габариты таких котлов многократно ниже ТЭНовых котлов, т.к. допустимая удельная поверхностная мощность их составляет порядка 400 Вт/см.
К недостаткам известного устройства относится необходимость применения циркуляционных насосов, необходимость водоподготовки для приведения воды к необходимым физическим свойствам, в противном случае неизбежно образование накипи на электродах (приводящее к резкому росту энергопотребления и/или выходу нагревателя из строя) и общее загрязнение воды продуктами электрохимических процессов в воде. Нагреватели котлов этого типа представляют собой в общем случае трубчатые коаксиальные (соосные) двухэлектродные конструкции, в которых наружный электрод-труба подключен к нулевому потенциалу сети, а внутренний стержень подключен к фазному потенциалу сети. Все нагреватели, как правило, изготавливаются из обычных конструкционных сталей. Большинство таких котлов загрязняют систему солями и продуктами обычной коррозии металла, что приводит при нерегулярном обслуживании к удвоению, а то и учетверению потребляемой мощности. Во избежание таких осложнений разработчики применяют специальные стандартизованные жидкости и сложные электронные схемы управления, стоимость которых на порядок и более превышает стоимость собственно самого котла.
Решаемая техническая задача - повышение рабочего ресурса нагревателя и снижение зависимости эффективности его работы от качества водоподготовки.
Технический результат, получаемый при решении поставленной задачи, выражается в повышенной стабильности теплоэнергетических показателей работы нагревателя, исключении необходимости использования сложных электронных схем управления, простоте конструкции, исключении возможности загрязнения системы отопления или каналов для прокачки теплоносителя, какого-либо другого устройства (к которым подключен нагреватель) солями и продуктами коррозии металла, тем самым снижении эксплуатационных затрат.
Для решения поставленной задачи нагреватель нагреватель текучей среды, содержащий корпус, в полости которого размещены соосно расположенные с зазором электроды, внешним из которых охвачен внутренний, подводящую и отводящую камеры, расположенные на концах корпуса, отличается тем, что электроды выполнены из химически инертного проводящего материала, например на основе, углерода, при этом корпус, подводящая и отводящая камеры выполнены из диэлектрического материала, внешний электрод без зазора закреплен на внутренней поверхности корпуса, причем размеры поперечного сечения его внутренней поверхности монотонно изменяются по его длине, кроме того, размеры поперечного сечения поверхности внутреннего электрода, обращенной к внешнему электроду, монотонно изменяются по его длине, при этом внутренний электрод установлен с возможностью возвратно-поступательного перемещения в полости внешнего электрода, при этом подводящая камера снабжена средством для преобразования поступательного движения жидкости во вращательное, а отводящая камера снабжена средством для преобразования вращательного движения жидкости в поступательное. Кроме того, в качестве средства для преобразования поступательного движения жидкости во вращательное использован циклон, корпус которого использован как корпус подводящей камеры, его тангенциальный патрубок связан с обратным трубопроводом системы отопления, а его осевое отверстие связано с приемным отверстием корпуса нагревателя, при этом в качестве средства для преобразования вращательного движения жидкости в поступательное использован циклон, корпус которого использован как корпус отводящей камеры, его тангенциальный патрубок связан с входным трубопроводом системы отопления, а его осевое отверстие связано с выпускным отверстием корпуса нагревателя, причем стенки улиток размещены по спирали, например, Паскаля или Архимеда. Кроме того, конусность внешнего электрода меньше конусности внутреннего электрода. Кроме того, внутренний электрод выполнен в виде облицовки конического наконечника, закрепленного на одном конце штока, второй конец которого снабжен резьбой и размещен в снабженном аналогичной резьбой отверстии, соосном с продольной осью электродов, выполненном в торцовой стенке отводящей камеры, продольная ось электродов размещена вертикально, при этом в торцовой стенке подводящей камеры выполнено отверстие, закрытое съемным поддоном.
Сопоставительный анализ признаков заявленного решения с признаками прототипа и аналогов свидетельствует о соответствии заявленного решения критерию "новизна".
Признаки отличительной части формулы изобретения обеспечивают решение следующих функциональных задач:
Признаки «...электроды выполнены из химически инертного проводящего материала, например, на основе углерода» обеспечивают продолжительный срок службы устройства и стабильность во времени его рабочих характеристик, исключает попадание в жидкость - рабочий агент продуктов их электроэрозионного разрушения.
Признаки «...корпус, подводящая и отводящая камеры выполнены из диэлектрического материала» повышают электробезопасность устройства.
Признаки «...внешний электрод без зазора закреплен на внутренней поверхности корпуса» обеспечивают конструктивную прочность устройства и делают управление более глубоким, поскольку перемещение электрода определяет гидродинамические условия всего потока жидкости, проходящего через нагреватель.
Признаки «...размеры поперечного сечения его (т.е. внешнего электрода) внутренней поверхности монотонно изменяются по его длине, кроме того, размеры поперечного сечения поверхности внутреннего электрода, обращенной к внешнему электроду, монотонно изменяются по его длине» определяет тот факт, что «рабочие» поверхности электродов могут быть либо коническими, либо пирамидальными, что, в свою очередь, позволяет легко решить проблему регулирования мощности нагревателя путем изменения величины межэлектродного зазора, за счет придания подвижности внутреннему электроду. Кроме того, одновременно появляется возможность регулирования гидродинамических характеристик потока жидкости, проходящего через нагреватель, что важно с позиций очистки поверхностей электродов от накипи.
Признаки «...внутренний электрод установлен с возможностью возвратно-поступательного перемещения в полости внешнего электрода обеспечивают регулирование рабочего зазора между электродами, кроме того, постепенный износ материала электродов легко компенсируется подвижностью внутреннего электрода.
Признаки «...подводящая камера снабжена средством для преобразования поступательного движения жидкости во вращательное, а отводящая камера снабжена средством для преобразования вращательного движения жидкости в поступательное» обеспечивают преобразование ламинарного потока жидкости на входе в нагреватель во вращательно-поступательный (в межэлектродном пространстве) и обратное превращение потока в ламинарный на выходе нагревателя, что способствует повышению эффективности зачистки поверхностей электродов, а и способствует дополнительному нагреву воды за счет ее вращательного движения в трубе, а затем ее кинетического торможения на выходе из нагревателя.
Признаки второго пункта формулы изобретения конкретизируют конструктивное выполнение подводящей и отводящей камер.
Признаки третьего пункта формулы изобретения обеспечивают возможность повышения скорости движения потока жидкости в верхней части за счет уменьшения толщины зазора, что частично компенсирует эффект снижения скорости потока из-за увеличения периметра зазора по мере движения потока к отводящей камере.
Признаки четвертого пункта формулы изобретения раскрывают конкретный вариант решения признака «подвижность внутреннего электрода».
Признаки пятого пункта формулы изобретения обеспечивают удаление накипи (твердых частиц) из жидкости.
Заявленное решение иллюстрируется чертежами.
![]() | ![]() |
![]() | ![]() |
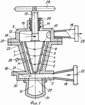
![]() | На фиг.1 показан вертикальный разрез через нагреватель; на фиг.2 показан пример работы нагревателя в рамках системы обогрева; на фиг.3-5 показаны разрезы, соответственно, через подводящую камеру, поперек нагревателя и через отводящую камеру. |
На чертежах показаны корпус 1, межэлектродный зазор 2, внешний 3 и внутренний 4 электроды, подводящая 5 и отводящая 6 камеры, расположенные на концах корпуса 1, внутренняя поверхность 7 корпуса 1, внутренняя поверхность 8 внешнего электрода 3, поверхность 9 внутреннего электрода 4, обращенная к внешнему электроду 3, облицовка 10 конического наконечника 11, шток 12, снабженный резьбой 13 и размещенный в снабженном аналогичной резьбой отверстии 14, соосном с продольной осью 15 корпуса 1 и электродов 3 и 4, выполненном в торцовой стенке 16 отводящей камеры 6. Кроме того, показаны средство для преобразования поступательного движения жидкости во вращательное и средство для преобразования вращательного движения жидкости в поступательное, выполненные в виде циклонов, содержащих дискообразный корпус (являющийся одновременно корпусом соответствующей камеры), в полости которого выполнена улитка в виде спиральной стенки 17 (размещенной по спирали, например, Паскаля или Архимеда), при этом дискообразный корпус снабжен тангенциальным патрубком 18 и осевым отверстием 19, выполненным в торцовой стенке 20 соответствующей камеры, обращенной к корпусу 1. Причем осевое отверстие 19 подводящей камеры 5 связано с приемным отверстием 21 корпуса 1, а осевое отверстие 19 отводящей камеры 6 связано с выпускным отверстием 22 корпуса 1. Кроме того, тангенциальный патрубок 18 отводящей камеры 6 связан с входным трубопроводом 23 системы отопления 24, а тангенциальный патрубок 18 подводящей камеры 5 связан с обратным трубопроводом 25 системы отопления.
Кроме того, показаны клеммы 26 электродов, подключенные к источнику тока 27.
Внешний 3 и внутренний 4 электроды, выполнены из электрохимически инертного проводящего материала, например на основе углерода (углерода или графита), корпус 1, подводящая 5 и отводящая камеры 6 выполнены из диэлектрического материала, например, керамики, углепласта или полипропилена, при этом для материала корпуса и отводящей камеры важна термостойкость.
Внешний электрод 3 (используемый как нулевой) представляет собой трубу в форме усеченного конуса с небольшим углом конусности (2-6 градусов). Он без зазора закреплен на внутренней поверхности корпуса 1 (например, запрессован) и снабжен клеммой 26 для подключения к источнику переменного тока 27 переменной частоты (в качестве которого используют устройство известной конструкции, снабженное защитной автоматикой, работающей по известной схеме, обеспечивающей отключение нагревателя при опасных утечках тока). Внутренний электрод 4 (фазный электрод) выполнен в виде конической облицовки 10, зафиксированной на поверхности конического наконечника 11 со штоком 12, причем конусность облицовки на 2-8° больше, чем конусность внешнего электрода 3, оба электрода сосны друг другу и продольной оси 15, при этом основания конусов, образующих их рабочие поверхности, распложены с одной стороны (со стороны отводящей камеры 6). Целесообразно, для исключения электрохимической коррозии конического наконечника 11 и штока 12, снабдить их соответствующим покрытием из химически инертного материала, по крайней мере, участков, находящихся в контакте с жидкостью и не несущих электрод. В принципе поверхность электродов, являющаяся конической, оптимальна, хотя за основу может быть взята и равносторонняя пирамида (при этом шток 12 должен перемещаться поступательно). Конец штока 12, выступающий из корпуса 1, снабжен «барашком» 28 из диэлектрического материала и клеммой 26.
Циклоны, используемые как средство для преобразования поступательного движения жидкости во вращательное и средство для преобразования вращательного движения жидкости в поступательное, конструктивно одинаковы и отличаются только размерами осевых отверстий, кроме того, корпус циклона, являющегося подводящей камерой 5, дополнительно содержит отверстие 29, выполненное в торцовой стенке 30 подводящей камеры, нормально закрытое съемным поддоном 31 (выполненным в виде стакана с фланцами, закрепляемого резьбовым соединением на торцовой стенке 30).
УСТРОЙСТВО РАБОТАЕТ СЛЕДУЮЩИМ ОБРАЗОМ
Монтируют систему обогрева, например, как показано на фиг.2 (при этом входной трубопровод 23 системы отопления 24 подключают к баку-аккумулятору 32, находящемуся в самой верхней точке системы, который, в свою очередь, связывают с теплообменниками 33, выход последнего из них посредством обратного трубопровода 25 связывают с тангенциальным патрубком 18 подводящей камеры 5. Нагреватель располагают так, чтобы его продольная ось 15 была вертикальна. Далее монтируют заземление 34 системы отопления 24 и нагревателя (подключенное к клемме 26 внешнего электрода 3).
После заполнения отопительной системы, при включении источника переменного тока 27, на электроды 3 и 4 подается электрическое напряжение.
При прохождении электрического тока по жидкостному промежутку, межэлектродному зазору 2 выделяется энергия принудительной диссоциации и рекомбинации молекул и ассоциатов (кластеров) воды. Нагретая вода, поднимаясь вверх по корпусу нагревателя, инициирует циркуляцию во всей системе.
С каждым циклом нагрева вода, попадая на вход нагревателя, за счет термо- и гидродинамических процессов ускоряется на 10...18% после первого импульса включения. При достижении температуры примерно в 60°С процесс начинает приобретать лавинообразный характер с увеличением давления на выходе из нагревателя до 30 м водяного столба без применения циркуляционных насосов.
Сужающееся межэлектродное пространство обеспечивает уменьшение площади его горизонтального сечения от вершин конусов до их оснований. Прямолинейное движение жидкости преобразуется во вращательное в подводящей камере, канал которой выполнен в форме улитки Паскаля или спирали Архимеда, и продолжается как вращательно-поступательное при ее движении вверх по межэлектродному зазору 2, причем с линейным и угловым ускорениями из-за уменьшения его сечения. В интегральном виде это движение происходит по спирали с двумя ускорениями. При достижении жидкости отводящей камеры из-за ее большого объема происходит некоторое динамическое торможение с дополнительным выделением тепловой энергии. Таким образом, сужающаяся форма межэлектродного пространства выполняет функцию термодинамического насоса.
Одновременно обеспечивается гидродинамическое очищение электродов 3 и 4 от солей интенсивным вихревым движением жидкости.
Горячая вода попадает в бак-аккумулятор 32, откуда самотеком попадает в теплообменники 33, где отдает свое тепло и далее поступает к тангенциальному патрубку 18 подводящей камеры 5. Далее все повторяется.
Для настройки нагревателя внутренний электрод перемещают в ту или иную сторону вдоль оси 15, что позволяет при изменении зазора между электродами всего на 1 мм по радиусу изменять мощность нагревателя более чем на 20% в ту или иную стороны без изменения площади электродов.
Такой нагреватель позволяет довести КПД отопительной системы до 100%.
ФОРМУЛА ИЗОБРЕТЕНИЯ
1. Нагреватель текучей среды, содержащий корпус, в полости которого размещены соосно расположенные с зазором электроды, внешним из которых охвачен внутренний, подводящую и отводящую камеры, расположенные на концах корпуса, отличающийся тем, что электроды выполнены из химически инертного проводящего материала, например на основе углерода, при этом корпус, подводящая и отводящая камеры выполнены из диэлектрического материала, внешний электрод без зазора закреплен на внутренней поверхности корпуса, причем размеры поперечного сечения его внутренней поверхности монотонно изменяются по его длине, кроме того, размеры поперечного сечения поверхности внутреннего электрода, обращенной к внешнему электроду, монотонно изменяются по его длине, при этом внутренний электрод установлен с возможностью возвратно-поступательного перемещения в полости внешнего электрода, при этом подводящая камера снабжена средством для преобразования поступательного движения жидкости во вращательное, а отводящая камера снабжена средством для преобразования вращательного движения жидкости в поступательное.
2. Нагреватель по п.1, отличающийся тем, что в качестве средства для преобразования поступательного движения жидкости во вращательное использован циклон, корпус которого использован как корпус подводящей камеры, его тангенциальный патрубок связан с обратным трубопроводом системы отопления, а его осевое отверстие связано с приемным отверстием корпуса нагревателя, при этом в качестве средства для преобразования вращательного движения жидкости в поступательное использован циклон, корпус которого использован как корпус отводящей камеры, его тангенциальный патрубок связан с входным трубопроводом системы отопления, а его осевое отверстие связано с выпускным отверстием корпуса нагревателя, причем стенки улиток размещены по спирали, например, Паскаля или Архимеда.
3. Нагреватель по п.1, отличающийся тем, что внутренний электрод выполнен в виде облицовки конического наконечника, закрепленного на одном конце штока, второй конец которого снабжен резьбой и размещен в снабженном аналогичной резьбой отверстии, соосном с продольной осью электродов, выполненном в торцовой стенке отводящей камеры.
4. Нагреватель по п.1 или 3, отличающийся тем, что конусность внешнего электрода меньше конусности внутреннего электрода.
5. Нагреватель по п.1, отличающийся тем, что продольная ось электродов размещена вертикально, при этом в торцовой стенке подводящей камеры выполнено отверстие, закрытое съемным поддоном.
Версия для печати
Дата публикации 29.01.2007гг
Created/Updated: 25.05.2018
|





