| Начало раздела Производственные, любительские Радиолюбительские Авиамодельные, ракетомодельные Полезные, занимательные | Хитрости мастеру Электроника Физика Технологии Изобретения | Тайны космоса Тайны Земли Тайны Океана Хитрости Карта раздела | |
| Использование материалов сайта разрешается при условии ссылки (для сайтов - гиперссылки) | |||
Навигация: => | На главную/ Каталог патентов/ В раздел каталога/ Назад / |
|
ИЗОБРЕТЕНИЕ
Патент Российской Федерации RU2063581
![]()
ВОДОНАГРЕВАТЕЛЬНОЕ УСТРОЙСТВО
Имя изобретателя: Шмагин Юрий Алексеевич
Имя патентообладателя: Шмагин Юрий Алексеевич
Адрес для переписки:
Дата начала действия патента: 1993.07.13
Использование в энергетике при местном отоплении и горячем водоснабжении жилых домов. Сущность изобретения: устройство содержит теплогенератор 1, расположенную под ним газовую горелку 2 с автоматикой безопасности и регулирования температуры воды, термометр. Устройство снабжено панелью, на которой жестко укреплены теплогенератор 1 с газовой горелкой 2, и на ее лицевой стороне имеются в нижней части регулятор подачи воздуха и обратный патрубок теплогенератора, в верхней части - подающий патрубок, в котором установлены датчик регулятора 4 температуры воды и термометр, а сама панель защищена декоративным открывающимся кожухом с отверстиями 11 для подачи воздуха и отверстием обзора показаний термометра и крепится отдельным блоком к рамке 7, предварительно монтируемой в проеме топки бытовой печи.
ОПИСАНИЕ ИЗОБРЕТЕНИЯ
Изобретение относится к энергетике и может быть использовано при местном отоплении и горячем водоснабжении жилых домов.
Известен водонагреватель /патент ФРГ ДЕ 3638194 А1, опубл. 14.05.1987/, содержащий кожух, калорифер и огневую камеру со змеевиком по внешней поверхности, в которой установлена газовая горелка. При сжигании газа продукты сгорания передают тепло через стенки огневой камеры и змеевика и нагревают проходящую в змеевике и далее в калорифере воду.
Недостатком данного водонагревателя является расположение змеевика по внешнему контуру огневой камеры и малая площадь его контакта со стенкой камеры, что обуславливает значительное термическою сопротивление при переносе тепла от продуктов сгорания к воде и низкий КПД змеевика. Известно и "Водонагревательное устройство" /патент Англии СВ 2174483 А, опубл. 05.11.1986/, содержащее емкость со змеевиком внутри, который сообщается с топкой, оснащенной газовой горелкой, а на выходе имеет вытяжной вентилятор. При сжигании газа продукты сгорания проходя в змеевике, нагревают воду в емкости.
Недостатками устройства являются:
необходимость обеспечения герметичности емкости;
значительнее сопротивление змеевика по отношению к движению продуктов сгорания, что
определяет применение вытяжного вентилятора и высокую стоимость устройства.
Наиболее близким по технической сущности к предлагаемому техническому решению является оборудование топки бытовой печи /Ю.П.Соснин и др. "Газовые отопительные и отопительно-варочные печи". М. Стройиздат, 1965 г. с.187/, содержащее теплогенератор, расположенную под ним газовую горелку и регулятор подачи воздуха, отличающееся тем, что оно снабжено регулятором температуры воды с датчиком, термометром, панелью и рамой, вмонтируемой в проем топки, причем теплогенератор с газовой горелкой жестко укреплены на панели, имеющей на лицевой стороне в нижней части регулятор подачи воздуха и обратный патрубок теплогенератора, в верхней части подающий парубок, в котором установлены датчик регулятора температуры воды и термометр, а панель прикреплена к раме и эащищена декоративным открывающимся кожухом с отверстиями для подачи воздуха и обзора показаний термометра.
Недостатками данного оборудования являются:
выход продуктов сгорания газа с концентрациями вредностей выше ПДК, что обусловлено
разобщенной установкой теплогенератора и газовой горелки в топке, когда расстояние
между теплогенератором и горелкой, от которого сильно зависит качество сжигания газа,
не может обеспечиваться оптимальным;
низкая тепловая эффективность внешней поверхности топки в зоне, где обустроен канал
подачи воздуха в топку с поддувальной дверкой;
неточная установка температуры используемой воды, т.к. термометр, по показаниям
которого настраивается терморегулятор, оборудуется "вдали" от датчика
температуры, как правило, на подающем трубопроводе системы отопления;
разобщенная установка теплогенератора и газовой горелки в топке затрудняет защиту
панели от случайных повреждений и декоративное оформление оборудования.
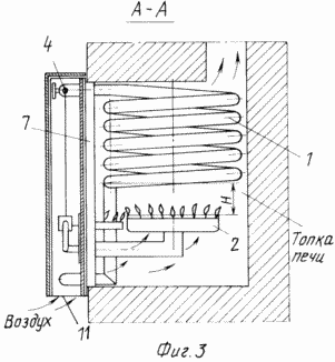
Техническая задача изобретения заключается в устранении указанных недостатков, т.е. в повышении потребительских качеств водонагревательного устройства: улучшении качества сжигания газа со снижением концентраций вредностей в продуктах сгорания газа; повышении тепловой эффективности нижней зоны топки; повышении точности настройки и контроля температуры подающей воды; защите панели от случайных повреждений, которая защищается кожухом, закрепленным на раме; наличии отверстий в кожухе для подачи воздуха и обзора показаний термометра. На фиг.1 изображено водонагревательное устройство, вид спереди; на фиг.2 водонагревательное устройство, вид спереди без кожуха; на фиг.3 водонагревательное устройство, вид сбоку.
![]() | ![]() | ![]() |
Предлагаемое водонагревательное устройство содержит теплогенератор 1 расположенную под ним газовую горелку 2 и регулятор подачи воздуха 3, регулятор температуры воды с датчиком 4, термометр 5, панель 6 и раму 7, вмонтируемую в проем топки. Теплогенератор с газовой горелкой жестко закреплены на панели. На лицевой стороне панели имеются: в нижней части обратный патрубок 8 теплогенератора, в верхней части подающий патрубок 9, в котором установлены датчик регулятора температуры воды и термометр. Панель закреплена к раме и защищена декоративным открывающимся кожухом 10 с отверстиями подачи воздуха 11 и обзора показаний термометра 12.
ВОДОНАГРЕВАТЕЛЬНОЕ УСТРОЙСТВО РАБОТАЕТ СЛЕДУЮЩИМ ОБРАЗОМ
В исходном состоянии перед эксплуатацией водонагревательное устройство соединено входным газовым патрубком с сетевым газопроводом, патрубками теплогенератора с трубопроводами системы отопления и горячего водоснабжения. Рама 7 плотно и прочно вмонтирована в кирпичной кладке проема топки, панель 6 прикреплена к раме. Устройство готово к эксплуатации.
Открывается кожух 10. К газовой горелке 2 подается газ из сетевого газопровода, воздух к горелке подается через отверстие 11, расположенное в нижней части кожуха, и регулятор подачи воздуха 3. Образовавшаяся газовоздушная смесь поджигается. Регулятором подачи воздуха 3 производится настройка оптимального качества сжигания газа, и кожух закрывается. Горение газа протекает и завершается с хорошим качеством при прохождении реагентами и продуктами сгорания оптимального расстояния, которое задано размерами на панели, и равное Н высоте от газовой горелки до теплогенератора. Горячие продукты сгорания газа, омывая теплогенератор 1, нагревают воду, поступающую из обратного патрубка 8. Нагретая в теплогенераторе вода по подающему патрубку 9 циркулирует в систему отопления и горячего водоснабжения. Температура используемой воды настраивается датчиком 4 и контролируется через обзорное отверстие 12 по термометру 5.
После пользования водонагревательным устройством перекрывается газ, подаваемый из сетевого газопровода.
ФОРМУЛА ИЗОБРЕТЕНИЯ
Водонагревательное устройство, содержащее теплогенератор, расположенную под ним газовую горелку и регулятор подачи воздуха, отличающееся тем, что оно снабжено панелью, регулятором температуры воды с датчиком, термометром и рамой, вмонтированной в проем топки, причем теплогенератор с газовой горелкой жестко укреплены на панели, имеющей на лицевой стороне в нижней части регулятор подачи воздуха и обратный патрубок теплогенератора, в верхней части подающий патрубок, в котором установлены датчик регулятора температуры воды и термометр, а панель прикреплена к раме и защищена декоративным открывающимся кожухом с отверстиями для подачи воздуха и обзора показаний термометра.
Версия для печати
Дата публикации 29.01.2007гг
Created/Updated: 25.05.2018
|



