| Начало раздела Производственные, любительские Радиолюбительские Авиамодельные, ракетомодельные Полезные, занимательные | Хитрости мастеру Электроника Физика Технологии Изобретения | Тайны космоса Тайны Земли Тайны Океана Хитрости Карта раздела | |
| Использование материалов сайта разрешается при условии ссылки (для сайтов - гиперссылки) | |||
Навигация: => | На главную/ Каталог патентов/ В раздел каталога/ Назад / |
|
ИЗОБРЕТЕНИЕ
Патент Российской Федерации RU2132517
![]()
ТЕПЛОГЕНЕРАТОР И УСТРОЙСТВО ДЛЯ НАГРЕВА ЖИДКОСТИ
Имя изобретателя: Мустафаев Рафаэль Измайлович
Имя патентообладателя: Мустафаев Рафаэль Измайлович
Адрес для переписки: 170017, Тверь, Б.Перемерки, а/я 157
Дата начала действия патента: 1997.08.20
Изобретение предназначено для нагрева жидкости и может быть использовано в жилищно-коммунальной отрасли, сельском хозяйстве и транспорте. Для обеспечения автономного водяного отопления в конструкцию теплогенератора введены вихревые трубы, соединенные с блоком ускорителей движения жидкости в виде улиток. Каждая улитка оснащена ускорительной втулкой определенных размеров. В вихревых трубах установлены тормозные устройства. Устройство для нагрева жидкости содержит теплогенератор, рабочий сетевой насос, подающий и обратный трубопроводы с запорными вентилями, связывающие потребителя с теплогенератором, имеющим блок ускорителей движения жидкости. С боковой стороны к блоку подсоединены инжекторные патрубки. Они состоят из соосно установленных и жестко соединенных между собой коноидального насадка с цилиндрической частью, дросселя и вихревого патрубка с завихрителем. К сетевому насосу присоединен напорный трубопровод, на противоположном конце которого установлен глушитель. Отношение плеч глушителя относительно места его соединения с напорной трубой составляет 3:5. Один выход глушителя соединен с верхним коллектором, а другие выходы через инжекционные патрубки с блоком ускорителя движения жидкости. Вихревые трубы сообщаются с нижним коллектором, который соединен с подающим трубопроводом, а боковая сторона коллектора - с насосом, и через боковой отвод - с обратным трубопроводом. Введение в конструкцию вышеперечисленных элементов позволило повысить КПД установки, снизить уровень шума и вибраций.
ОПИСАНИЕ ИЗОБРЕТЕНИЯ
Изобретение относится к теплотехнике и может быть использовано для нагрева жидкости в промышленности, жилищно-коммунальной отрасли, в сельском хозяйстве, строительстве и транспорте.
Известен теплогенератор "Рязань", используемый для нагрева жидкости путем превращения механической энергии вращения рабочего колеса сначала в гидравлическую, а затем в тепловую. Из нагнетателя через напорный патрубок жидкость поступает в трубопровод. Затем часть ее направляется в струйный аппарат и через сопло и всасывающий патрубок возвращается в нагреватель. Другая часть жидкости направляется в теплообменник, где отдает часть тепла потребителю, затем отсасывается струйным аппаратом и с повышенным давлением, предотвращающим кавитацию, подается к нагнетателю. Отвод и подвод жидкости осуществляются через два патрубка. Нагревание происходит за счет потерь гидравлической энергии на вихреобразование и трение в потоке оборотной жидкости /авт.св. N 1703924, МПК F 24 H 3/02/.
Недостатками данной конструкции являются низкий КПД установки, повышенный уровень шума.
Наиболее близким техническим решением к заявленному относится теплогенератор, позволяющий генерировать тепловую энергию путем изменения давления и скорости рабочей среды, в качестве которой используется вода. Конструкция состоит из корпуса с цилиндрической частью. Ускоритель движения жидкости выполнен в виде циклона, торцевая сторона которого соединена с цилиндрической частью корпуса. В основании цилиндрической части, противолежащей циклону, смонтировано тормозное устройство, вслед за которым установлено дно с выходным отверстием, сообщающимся с выходным патрубком, соединенным с циклоном с помощью перепускного патрубка. Соединение выполнено на торце циклона, противолежащем цилиндрической части корпуса и соосно с последним. Тормозное устройство выполнено из двух радиально расположенных ребер, закрепленных на центральной втулке. В перепускном патрубке установлено дополнительное тормозное устройство /патент N 2045715, МПК F 25 B 29/00/.
Недостатком известного теплогенератора является низкая эффективность обводной трубки, не позволяющая получить максимальную тангенциальную скорость движения жидкости в цилиндрической части корпуса, что в свою очередь снижает общий КПД установки.
Наиболее близким к заявляемому техническому решению относится устройство для нагрева жидкости, содержащее теплогенератор, подающие и обратные трубопроводы. Ускоритель движения жидкости связан с насосом посредством инжекционного патрубка, соединенного с боковой стороной ускорителя движения жидкости /патент N 2045715, МПК F 25 B 29/00/.
Недостатком устройства является то, что прямоточный принцип движения жидкости не позволяет в полной мере гасить пульсации жидкости, создаваемые насосом. Это приводит к недостаточному извлечению энергии, движения жидкости и повышенной вибрации и уровню шума при использовании установки.
Задачей создания предлагаемой конструкции является повышение КПД, снижение вибраций и уровня шума за счет использования принципа многоканальной организации движения жидкости по разветвленной системе.
Технический эффект достигается созданием дополнительных зон нагрева жидкости и образования мест шумоподавления потока и гашение волнового движения жидкости.
Поставленная задача выполняется благодаря тому, что в теплогенераторе установлены вихревые трубы, каждая из которых соединена с торцевой стороной блока ускорителей движения жидкости, в котором каждая улитка оснащена расположенной соосно с осевой линией вихревой трубы ускорительной втулкой. Нижний торец втулки расположен в плоскости верхнего торца вихревой трубы, а верхний - в нижней плоскости верхнего коллектора, герметично установленного над блоком ускорителей движения жидкости. Площадь поперечного сечения ускорительной втулки равна 0,2-0,25 от площади поперечного сечения улитки. Тормозные устройства, размещенные в основаниях вихревых труб, выполнены в виде пластин трапецеидальной формы, жестко прикрепленных в нижней своей части к боковым стенкам вихревой трубы с возможностью возвратно-поступательного перемещения верхнего конца пластины относительно стенок вихревых труб, и дна с отверстием, площадь поперечного сечения которого равна 1,5-2,0 площади поперечного сечения вихревой трубы.
Устройство для нагрева жидкости, содержащее теплогенератор, рабочий сетевой насос с электроприводом, подающий и обратный трубопроводы с запорными вентилями, обеспечивающими взаимосвязь теплообменника с теплогенератором, имеющим блок укорителей жидкости в виде улиток. С боковой стороной блока ускорителей движения жидкости соединены инжекционные патрубки, каждый из которых состоит из соосно установленных и жестко соединенных между собой коноидального насадка с цилиндрической частью, дросселя и вихревого патрубка с размещенным внутри него завихрителем. Завихритель выполнен в виде шнека с переменным шагом, уменьшение которого направлено в сторону цилиндрической части коноидального насадка, а направление винтовой линии завихрителя совпадает с направлением входной части улики.
К сетевому насосу присоединен напорный трубопровод, на противоположном конце которого установлен глушитель, один выход которого соединен верхним трубопроводом с верхним коллектором, а другие выходы через инфекционные патрубки - с блоком ускорителя движения жидкости. Каждый выходной патрубок вихревых труб сообщается с нижним коллектором. Площадь поперечного сечения глушителя составляет 1,5-2,0 площади поперечного сечения одной вихревой трубы, а отношение плеч глушителя l1/l2относительно места присоединения напорной трубы составляет 3/5. Торец нижнего коллектора через фланец и задвижку соединен с подающим трубопроводом, а боковая сторона коллектора соединена с входным отверстием насоса трубой с размещенной в ней заслонкой, за которой установлен боковой отвод с фланцем и задвижкой, соединенный с обратным трубопроводом.
Сочетание теплогенератора с глушителем, инжекционными патрубками с завихрителями и ускорительными втулками позволило превратить указанную систему не только в источник тепловой энергии, но и в мощный вакуумный насос (насосы). Это дало возможность существенно снизить нагрузку на привод сетевого насоса, уменьшить вибрации и повысить КПД установки. Введение в устройство глушителя с одним входом и несколькими выходами позволило разделить поток жидкости на отдельные потоки, следующие по верхнему трубопроводу в верхний коллектор к инжекционным патрубкам в улитки вихревых труб (фиг. 4). Тем самым дополнительно гасятся пульсации жидкости, создаваемые насосом, и выделяется дополнительное тепло. Замена конического патрубка коноидальными насадками позволила снизить гидравлические потери и повысить эффективность системы. Введение завихрителя позволило увеличить тангенциальную скорость вращения жидкости в вихревой трубе. Установка ускорительных втулок способствует подавлению осевого противотока жидкости, возникающего в вихревой трубе, и тем самым дополнительно снизить нагрузку на силовой насос, способствуя повышению КПД установки.
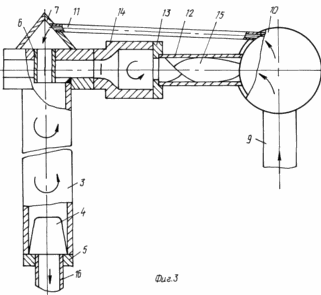
Изобретение поясняется чертежами, где на фиг.1 изображено устройство, вид сбоку; на фиг.2 - то же, вид спереди; на фиг.3 - разрез по основным элементам и схема движения жидкости; на фиг.4 - разрез Б-Б по блоку ускорителей движения жидкости; на фиг.5 - схема разделения потока жидкости в глушителе.
![]() | ![]() | ![]() |
![]() | ![]() | |
Теплогенератор содержит блок 1 ускорителей движения жидкости, выполненных в виде улиток 2, расположенных в блоке 1 параллельно друг другу на равном расстоянии. Торцевая сторона блока 1 соединена с вихревыми трубами 3, в основаниях которых, противолежащих улиткам 2, размещены тормозные устройства, состоящие из трапецеидальной пластины 4 и дна 5. Каждая улитка 2 оснащена ускорительной втулкой 6, закрепленной в верхней крышке блока 1 и установленной соосно с осевой линией вихревой трубы 3. Площадь поперечного сечения ускорительной втулки 6 составляет 0,2-0,25 от площади входного сечения улитки 2. При отношении площади поперечного сечения ускорительной втулки 6, меньшем чем 0,2 от площади входного сечения улитки 2, противоток жидкости в вихревой трубе не заглушается. При отношении площади поперечного сечения ускорительной втулки 6, большем чем 0,25 от площади входного сечения улитки 2, уменьшается тангенциальная скорость жидкости в вихревой трубе 3. Нижний торец ускорительной втулки 6 расположен в плоскости верхнего торца вихревой трубы 3, а верхний торец ускорительной втулки 6 расположен в нижней плоскости верхнего коллектора 7, который герметично установлен над блоком 1 ускорителей движения жидкости. Каждое тормозное устройство состоит из пластины трапецеидальной формы 4 и дна 5. Пластина 4 жестко прикреплена в нижний своей части к боковым стенкам вихревой трубы 3 с возможностью возвратно поступательного перемещения относительно стенок вихревой трубы 3.
Устройство для нагрева жидкости содержит электрический сетевой насос 8, соединенный с напорным трубопроводом 9, на противоположном конце которого установлен глушитель 10. Последний представляет собой цилиндр с глухими торцами. Напорный трубопровод 9 присоединен к глушителю 10 (фиг.5) со смещением, так что соотношение плеч l1/k2 глушителя составляет 3/5. При изменении этой величины в ту или иную сторону ухудшается скорость гашения волн в глушителе 10, что уменьшает количество выделяемой тепловой энергии. Глушитель 10 соединен верхним трубопроводом 11 с верхним коллектором 7 и через инжекционные патрубки - с блоком 1 ускорителя движения жидкости. Инжекционный патрубок состоит из вихревого патрубка 12, к торцевой стороне которого жестко прикреплен дроссель 13, который в свою очередь жестко соединен с коноидальным насадком 14 с цилиндрической частью. Внутри вихревого патрубка 12 размещен завихритель 15 в виде шнека с переменным шагом. Уменьшение шага направлено в сторону цилиндрической части коноидального насадка 14, а направление винтовой линии завихрителя 15 совпадает с направлением входной части улитки 2, что обеспечивает дополнительную подкрутку потока жидкости. Отношение площади поперечного сечения глушителя 10 к площади поперечного сечения вихревой трубы 3 составляет 1,5-2,0, что позволяет создать дополнительный импульс движению потока в сторону вихревой трубы 3. При отношении, меньшем 1,5, ухудшается динамика движения жидкости из глушителя 10 в вихревые трубы 3. При отношении, большем 2,0, увеличивается металлоемкость установки, а динамика процесса не изменяется. На нижних концах вихревых труб 3 установлены выходные патрубки 16. Площадь поперечного сечения патрубка 16 выбирается из расчета 1,5-2,0 площади поперечного сечения вихревой трубы 3. При отклонении площади поперечного сечения патрубка 16 от указанного нарушается гидродинамика процесса. Выходные патрубки 16 соединены с нижним коллектором 17, на торце которого установлены фланец 18 и задвижка (не показана) для подключения подающего трубопровода. К нижней боковой части коллектора 17 крепится труба 19 с установленной в ней заслонкой 20, соединяющая нижний коллектор 17 с входным отверстием насоса 8. После заслонки 20 перед входом в насос 8 установлен боковой отвод 21 с фланцем 22 и задвижкой (не показана) для соединения с обратным трубопроводом (не показан).
Работают теплогенератор и устройство следующим образом. При включении электрического сетевого насоса 8 жидкость по напорному трубопроводу 9 под давлением поступает в глушитель 10, в котором периодические колебания жидкости, создаваемые лопатками насоса 8, образуют волновое движение, имеющее пучности и разрежения в продольном направлении. Так как напорная труба 9 смещена относительно торцев глушителя 10 в отношении 3/5, то волны после отражения от торцев глушителя 10 встречаются пучностями, несущими основную энергию волны, в противофазе. Происходит гашение волн и выделение основной доли теплоты. Выходящая из глушителя 10 жидкость разделяется на отдельные потоки. Часть жидкости по верхнему трубопроводу 11 поступает в верхний коллектор 7, а другая часть инжекционным патрубкам проходит в блок 1 ускорителя движения жидкости. Проходя по вихревым патрубкам 12, жидкость закручивается завихрителем 15 в сторону вращения потока в вихревой трубе 3. После прохождения через отверстие дросселя 13 вода отбрасывается центробежными силами к цилиндрической части коноидального насадка 14. Создаваемое при этом разрежение способствует возникновению организованной акустической кавитации. При схлопывании кавитационных пузырьков в сужающейся части коноидального насадка 14 происходит выделение тепловой энергии. Выделение тепла происходит и при движении потока по улиткам 2 и вихревым трубам 3, перемещаясь по которым жидкость и дополнительно нагревается за счет интенсивного перемещения и трения. При соударении вихревого потока с пластиной 4 тормозного устройства происходит не только преобразование кругового движения в прямолинейное, но и образование несплошностей в жидкости, а следовательно, и кавитационных каверн. Вибрации верхней части тормозной пластины 4 тормозного устройства вследствие автоколебаний приводят к возникновению дополнительной акустической кавитации. При прохождении потока жидкости в выходном патрубке 16, имеющем меньшее поперечное сечение, пузырьки схлопываются и происходит выделение тепловой энергии. Меньшее поперечное сечение выходного патрубка 16 по сравнению с поперечным сечением вихревой трубы 3 способствует и возрастанию скорости потока, который, ударяясь о боковую стенку коллектора 17, приводит к дополнительному тепловыделению вследствие удара и перемешивания жидкости. При частично открытой заслонке 20 часть жидкости поступает во входное отверстие насоса 8, а оттуда в напорную трубу 9. Охлажденная жидкость, вернувшаяся от потребителя, и попадает во входное отверстие насоса 8, а затем снова в напорную трубу 9.
Устройство может работать в автоматическом режиме.
Был изготовлен опытный образец устройства. В установке был использован насос марки КМ 80-50-200 Щелковского насосного завода. Объем воды в системе 30 л. Установка испытывалась по малому кругу без радиаторной системы отопления. Давление воды в системе составляло 3,2 атмосферы. Скорость нагрева воды - 7o в 1 мин, что соответствует теплой мощности процесса 15,7 кВт (225 Ккал/мин). Измеренная мощность двигателя насоса составляла 11,2 кВт.
Предлагаемый теплогенератор может быть использован для автономного водяного отопления взамен централизованного. Это позволяет ликвидировать затраты на транспортировку теплоносителей, избавиться от низкоэффективных мелких котельных, снизить затраты на содержание обслуживающего персонала, транспортировку топлива, улучшить экологию окружающей среды. Теплогенератор может быть использован для отопления железнодорожных вагонов, нагрева воды и других технологических нужд.
ФОРМУЛА ИЗОБРЕТЕНИЯ
1. Теплогенератор, содержащий снабженный цилиндрической частью корпус, в основании которого размещено тормозное устройство и блок ускорителей движения жидкости, отличающийся тем, что в нем дополнительно установлен по крайней мере еще один корпус с цилиндрической частью, причем цилиндрические части всех установленных корпусов выполнены в виде вихревых труб, соединенных с торцевой стороной блока ускорителей движения жидкости, выполненного в виде улитки, каждая из которых оснащена расположенной соосно осевой линии вихревой трубы ускорительной втулкой, нижний торец последней расположен в плоскости верхнего торца вихревой трубы, а верхний - в нижней плоскости верхнего коллектора, герметично установленного над блоком ускорителей движения.
2. Теплогенератор по п.1, отличающийся тем, что площадь поперечного сечения ускорительной втулки равна 0,2 - 0,25 от площади входного сечения улитки.
3. Теплогенератор по пп.1 и 2, отличающийся тем, что каждое тормозное устройство выполнено в виде пластины трапецеидальной формы, жестко прикрепленной в нижней своей части к боковым стенкам вихревой трубы с возможностью возвратно-поступательного перемещения верхнего конца пластины относительно стенок вихревой трубы и дна с выходным отверстием площадью поперечного сечения 1,5 - 2,0 к площади поперечного сечения вихревой трубы.
4. Устройство для нагрева жидкости, содержащее теплогенератор, рабочий сетевой насос с электроприводом, подающий и обратный трубопроводы с запорными вентилями, обеспечивающими взаимосвязь теплообменника с теплогенератором, имеющим блок ускорителей движения жидкости в виде улиток, инжекционные патрубки, соединенные с боковой стороной блока ускорителей движения жидкости, отличающееся тем, что каждый инжекционный патрубок состоит из соосно установленных и жестко соединенных между собой коноидального насадка с цилиндрической частью, дросселя, вихревого патрубка с размещенным внутри него завихрителем, а к сетевому насосу присоединен напорный трубопровод, на противоположном конце которого установлен глушитель, один выход которого соединен верхним трубопроводом с верхнем коллектором, а другие выходы через инжекционные патрубки - с блоком ускорителей движения жидкости, причем каждый выходной патрубок вихревой трубы теплогенератора сообщается с нижним коллектором.
5. Устройство по п.4, отличающееся тем, что завихритель выполнен в виде шнека с переменным шагом, уменьшение шага которого направлено в сторону цилиндрической части коноидального насадка, а направление винтовой линии завихрителя совпадает с направлением входной части улитки.
6. Устройство по пп.4 и 5, отличающееся тем, что площадь поперечного сечения глушителя составляет 1,5 - 2,0 площади поперечного сечения одной вихревой трубы, а отношение плеч глушителя относительно места присоединения к нему напорной трубы составляет 3/5.
7. Устройство по пп.4 - 6, отличающееся тем, что торец нижнего коллектора через фланец и задвижку соединен с подающим трубопроводом, а боковая сторона коллектора соединена с входным отверстием насоса трубой с размещенной в ней заслонкой, за которой установлен боковой отвод с фланцем и задвижкой, соединенный с обратным трубопроводом.
Версия для печати
Дата публикации 19.03.2007гг
Created/Updated: 25.05.2018
|





