| Начало раздела Производственные, любительские Радиолюбительские Авиамодельные, ракетомодельные Полезные, занимательные | Хитрости мастеру Электроника Физика Технологии Изобретения | Тайны космоса Тайны Земли Тайны Океана Хитрости Карта раздела | |
| Использование материалов сайта разрешается при условии ссылки (для сайтов - гиперссылки) | |||
Навигация: => | На главную/ Каталог патентов/ В раздел каталога/ Назад / |
|
ИЗОБРЕТЕНИЕ
Патент Российской Федерации RU2201562
![]()
ТЕПЛОГЕНЕРАТОР ПРИВОДНОЙ КАВИТАЦИОННЫЙ
Имя изобретателя: Бритвин Лев Николаевич; Бритвина Татьяна Валерьевна
Имя патентообладателя: Бритвин Лев Николаевич; Бритвина Татьяна Валерьевна
Адрес для переписки: 111673, Москва, а/я 60, Л.Н. Бритвину
Дата начала действия патента: 1999.05.19
Изобретение относится к теплогенерирующим установкам кавитационного типа и может быть использовано для систем отопления. Теплогенератор приводной кавитационный включает корпус, в котором расположены относительно подвижные рабочие органы, вход и выход которых гидравлически сообщены посредством циркуляционного канала с дросселирующим элементом. Рабочие органы, по меньшей мере, один из которых связан с приводным двигателем, выполнены в виде оппозитно расположенных дисков, установленных с гарантированным зазором между их торцами, снабженными прилегающими между собой канавками, расположенными на взаимодействующих рабочих торцах дисков наклонно друг к другу. Такое выполнение теплогенератора упрощает его конструкцию и обеспечивает эффективность его применения с приводными двигателями малой и средней мощности при одновременном повышении надежности, упрощении условий эксплуатации и ремонта.
ОПИСАНИЕ ИЗОБРЕТЕНИЯ
Изобретение относится к теплогенераторам кавитационного типа, используемым для систем отопления.
Известен способ получения тепла за счет процесса кавитации, согласно которому жидкость перекачивают насосом по замкнутому циркуляционному каналу через вихревую форсунку, создавая колебания давления в контуре циркуляции, см. патент РФ 2061195, кл. 6 F 24 J 3/00 - аналог.
Устройства, реализующие этот способ, требуют использования технически сложных устройств, а режимы создания колебаний в контуре циркуляции не достаточно четко определены.
Известно и устройство, в котором рабочие органы насоса - лопастные центробежные колеса - на своем выходе взаимодействуют со специальным неподвижным рабочим органом, что приводит к возникновению кавитации и пульсации давления. При этом рабочие органы расположены в общем корпусе, а вход и выход из этих рабочих органов сообщены циркуляционным каналом, снабженным дроссельным элементом, см. патент РФ 2054604, кл. F 24 J 3/00 - прототип.
Данный теплогенератор имеет сложную конструкцию, практически не позволяющую эффективно его выполнять для небольших тепловых мощностей. Установка неподвижного рабочего органа на выходе подвижного рабочего органа приводит к срабатыванию всего напора рабочего колеса на небольшом участке неподвижного рабочего органа, что приводит к повышенному его износу.
Задачей данного изобретения являетсясущественное упрощение конструкции теплогенератора и технологии его изготовления до уровня, обеспечивающего эффективность его применения с приводными двигателями малой и средней мощности, ориентировочно от 1,5 до 15 кВт при одновременном повышении надежности, упрощении условий эксплуатации и ремонта.
Данная задача решается тем, что рабочие органы, по меньшей мере, один из которых связан с приводным двигателем, выполнены в виде оппозитно расположенных дисков, установленных с гарантированным зазором между их рабочими торцами, снабженными прилегающими между собой канавками, выполненными по всей поверхности рабочих торцов. При этом для интенсификации процесса образования и схлопывания кавитационных каверн при движении жидкости вдоль канавок и по щели между дисками от оси к периферии канавки на взаимодействующих рабочих торцах дисков выполнены наклонно друг к другу.
Кроме того, для дополнительной интенсификации процесса энерговыделения в случае выполнения канала между дисками с проходным сечением, увеличивающимся с радиусом, а и для снижения потребления энергии на приведение дисков и обеспечения многоразового процесса образования и схлопывания кавитационных каверн при движении жидкости от оси к периферии дисков, по меньшей мере, в одном из дисков на его торце выполнены сквозные расположенные на одном или нескольких различных радиусах отверстия, сообщающие рабочий канал между дисками с полостью корпуса.
Для этих же целей дросселирующий элемент циркуляционного канала установлен непосредственно на входе и/или выходе междискового рабочего канала и выполнен с переменным проходным сечением по углу поворота подвижного диска, а по периферии дисков на выходе из междискового рабочего канала установлен дополнительный щелевой кавитатор.
Для упрощения теплосистемы в целом, ускорения ее разогрева и обеспечения принудительной циркуляции жидкости во внешних потребителях тепла (например, теплообменниках) посредством тех же дисковых рабочих органов в корпусе в периферийной зоне действия дисков расположены прямой (отводной) и обратный (подводной) каналы, подключенные к теплообменникам. К циркуляционному каналу и может быть подключен, по меньшей мере, один потребитель тепла с регулируемым по температуре дросселем.
Для повышения удельной мощности и разгрузки опор привода от осевых усилий, по меньшей мере, один рабочий орган-диск снабжен канавками с обоих его торцов и расположен между рабочими торцами других двух дисковых рабочих органов.
Для обеспечения запуска и эксплуатации теплогенератора после подключения его к теплосистеме в корпусе теплогенератора со стороны нерабочего торца диска выполнена осесимметричная сепарационная камера, сообщенная с атмосферой для сброса воздуха из системы и снижения насыщенности рабочей жидкости растворенным газом.
Для целей получения потока теплого воздуха корпус теплогенератора может быть снабжен теплообменными ребрами, которые могут быть выполнены как вентиляторные лопатки при кинематической связи корпуса с приводным двигателем.
![]() | ![]() |
![]() | ![]() |
![]() | ![]() |
![]() | На фиг. 1 - 7 даны примеры выполнения описываемого устройства и его рабочих органов. В корпусе 1, см. фиг.1, закреплен неподвижный
рабочий орган-диск 2, оппозитно которому
установлен вращающийся подвижный рабочий
орган-диск 3, расположенный с
гарантированным зазором На подвижном диске 3 выполнены сквозные отверстия 7, расположенные, например, по торцу диска в шахматном порядке и сообщающие канавки 5 с внутренней полостью 8 корпуса 1. В корпусе 1 в периферийной зоне действия рабочих органов 2 и 3 установлены тангенциально расположенные прямой и обратный каналы-патрубки 9 и 10, сообщенные с внешними теплообменниками 11. Со стороны нерабочего торца диска 3 в корпусе 1 выполнена осесимметричная сепарационная камера 12, в данном варианте конструкции отделенная от отверстий 7 разделительной перегородкой 13 и сообщенная вертикальным каналом 14 с расширительным бачком 15 системы теплоснабжения. |
Примеры выполнения канавок 5 на торце диска представлены на фиг.2. Диски 2 и 3 могут иметь различные формы канавок и их ориентации на рабочем торце или одинаковые и использоваться в теплогенераторе в различных комбинациях.
Наиболее предпочтительны формы ориентации
канавок, когда канавки 5 и 5' на
взаимодействующих рабочих горцах дисков 2 и
3 выполнены наклонно друг к другу, см. фиг.3, и
составляют между собой угол
существенно больший нуля, что обеспечивает
создание в торцевом зазоре сети рабочих
камер 16, 16', 16''..., расположенных на различных
радиусах дисков и ограничиваемых вихревыми
жгутами, образующимися на кромках канавок 5
и 5' при их относительном движении.
Вход и выход рабочих органов 2, 3 сообщены посредством циркуляционного канала, в данном случае проходящего через полость 8 (см. фиг.1) корпуса 1, зазор между перегородкой 13 и диском 3. Дросселирующий элемент, выполненный здесь в виде калиброванных отверстий 17 в центральной части диска 3, и полость всасывания 18 рабочих органов.
РАБОТАЕТ ТЕПЛОГЕНЕРАТОР СЛЕДУЮЩИМ ОБРАЗОМ
После заполнения теплосистемы рабочей жидкостью, например водой, и включении двигателя за счет вращения диска 3 через вал 6 происходит циркуляция воды между периферийным выходом их рабочих органов 2 и 3 и полостью их всасывания 18. Одновременно за счет вращения жидкости в периферийной зоне полости 8 осуществляется циркуляция воды через эту полость, патрубки 9, 10 и теплообменники 11. При этом выделяющийся воздух постепенно сепарируется в камере 12 и выводится вверх в бачок 15.
Дополнительная циркуляция воды в рабочем
канале между дисками 2 и 3 осуществляется за
счет перетока воды через каналы 7 в диске 3.
При относительном движении канавок в поле
центробежных сил образуются интенсивные
вихри по всем кромкам сети рабочих камер 16.
Кавитационные каверны, которые,
перемещаясь по рабочему каналу между
дисками 2 и 3, периодически попадают в зоны
низкого и высокого давления за счет
изменения размера самих камер, перемещения
вихрей в плоскости дисков через переменные
сопротивления ограничивающих их и
относительно подвижных кромок канавок 5, 5'.
На весь процесс и наложены
высокочастотные пульсации давления,
возникающие при коллапсе кавитационных
каверн, а и за счет пульсаций расхода
через каналы 7 и зазор
между дисками. В результате происходит
интенсивное тепловыделение и разогрев
рабочей жидкости в теплосистеме. Процесс
пуска и остановки вала 6, а и скорость
его вращения могут регулироваться по
температуре рабочей жидкости в
теплосистеме и обогреваемом помещении.
На фиг. 4 представлен вариант выполнения теплогенератора с подвижным диском 3, на обоих торцах которого выполнены рабочие канавки 5 и который расположен между двумя неподвижными дисками 19 и 19', Теплогенератор имеет два нагревательных контура, один из которых каналами 9, 10 сообщен с внешним теплообменником 11, а второй в циркуляционном контуре содержит теплообменник 11' и бойлер (тепловой аккумулятор) 20 (с теплообменником системы горячего водоснабжения с дросселем 21, выполненным регулируемым по температуре в бойлере 20. При этом с понижением температуры сечение дросселя 21 уменьшается, что приводит к снижению давления в полости 18 всасывания, интенсификации процессов кавитации и тепловыделения и, следовательно, к ускорению разогрева бойлера 20.
С повышением температуры и давления насыщенных паров дроссель 21 приоткрывается и повышает давление в полости всасывания 18, одновременно увеличивая расход жидкости в циркуляционном контуре. Подвод тепла к теплообменнику 11 регулируется дросселем 22, например, по температуре в помещении. Для дополнительной интенсификации кавитационных процессов здесь на выходе рабочего междискового канала дисков 19 и 3 последовательно основному дросселирующему элементу 17 циркуляционного канала установлен дополнительный дросселирующий элемент 23, с переменным сечением по углу поворота подвижного диска 3 (например, с рядом окон, расположенных по периферии элемента 23, выполненного в виде цилиндрической гильзы). Такая конструкция при работе теплогенератора обеспечивает переменность давления в сети рабочих камер 16, 16', 16'', ... в различных секторах рабочего междискового канала по углу поворота диска и интенсификации процесса тепловыделения.
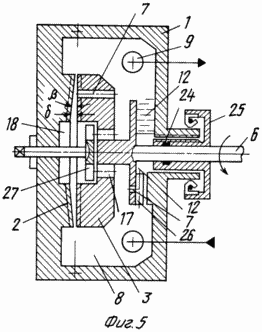
На фиг.5 дан пример выполнения теплогенератора, где сепарационная камера 12 выполнена со стороны вала 6, а вал снабжен лабиринтным уплотнением 24 и стояночным уплотнением 25. Вместо лабиринтного уплотнения возможно применение импеллерного уплотнения 26 на разделительной перегородке 13 камеры 12. Отверстия 7 в перегородке 13 улучшают работу импеллера как центробежного сепаратора воздуха. Применение динамических уплотнений по типу 24, 26 в совокупности со стояночным уплотнением обеспечивает автоматическое удаление воздуха из рабочей жидкости при простой конструкции теплогенератора.
В данном варианте исполнения
дополнительная интенсификация процесса
тепловыделения достигается за счет
периодического изменения проходного
сечения дросселирующего элемента,
выполненного в виде калиброванных
отверстий 17 на подвижном диске 3,
перекрываемых по углу его поворота
торцевой шайбой 27 с проходными окнами.
Положение шайбы 27 относительно отверстий 17
может регулироваться вручную или
автоматически. Выполнение зазора
переменным при угле
>0
между торцами дисков способствует
интенсификации процесса коллапса
кавитационных каверн при наложении
пульсаций давления.
На фиг.6 дан пример теплогенератора для нагрева воздуха посредством обдува ребер 28 нагретого корпуса 1 теплогенератора. В показанном варианте корпус 1 выполнен вращающимся и жестко связан с валом 6, а ребра корпуса выполнены как вентиляторные лопатки, обеспечивающие движение нагретого воздуха.
На фиг.7 в корпусе 1 оба рабочих органа - 29 и 30 - выполнены вращающимися в разные стороны, например, посредством двух двигателей 31 и 32, что позволяет в широком диапазоне регулировать теплопроизводительность теплогенератора. При отключении одного из двигателей соответствующий вал затормаживается тормозным устройством 33 или 34, например, выполненным в виде обгонной муфты.
Дополнительные пульсации давления в рабочем междисковом канале здесь достигается периодическим подключением и отключением отверстий 7 к полости 8 корпуса 1 за счет относительного вращения дисков 29 и 30 относительно пазов 35 в торцевых стенках корпуса 1, гидравлически сообщающих камеру 8 с полостью всасывания 18 рабочих органов.
Для ускорения процесса схлопывания кавитационных каверн в рабочем зазоре между дисками на их выходе располагается кольцевой щелевой дополнительный кавитатор, повышающий давление перед выходом рабочей жидкости из рабочего зазора в камерах. 16, см. фиг.3, и интенсифицирующий затухание кавитационных процессов в камере 8, при одновременном снижении в ней рабочего давления.
Описанный теплогенератор имеет простую конструкцию, технологичен, рабочие органы легко и без больших затрат заменяются при обслуживании и ремонте.
Теплогенератор легко приспосабливается для использования в самых различных системах отопления и горячего водоснабжения, автоматически обеспечивает запуск системы, имеет широкие возможности для peгулирования температуры и интенсификации процесса избыточного энерговыделения.
ФОРМУЛА ИЗОБРЕТЕНИЯ
1. Теплогенератор приводной кавитационный, в корпусе которого расположены относительно подвижные рабочие органы, вход и выход которых гидравлически сообщены посредством циркуляционного канала с дросселирующим элементом, отличающийся тем, что рабочие органы, по меньшей мере, один из которых связан с приводным двигателем, выполнены в виде оппозитно расположенных дисков, установленных с гарантированным зазором между их торцами, снабженными прилегающими между собой канавками, расположенными на взаимодействующих рабочих торцах дисков наклонно друг к другу.
2. Теплогенератор по п. 1, отличающийся тем, что дросселирующий элемент циркуляционного канала установлен на входе и/или на выходе междискового рабочего канала и выполнен с переменным сечением по углу поворота подвижных рабочих органов.
3. Теплогенератор по любому из пп. 1 и 2, отличающийся тем, что, по меньшей мере, в одном из дисков выполнены сквозные, расположенные, по меньшей мере, на одном радиусе, отверстия, сообщающие образованный торцами дисков и канавками рабочий канал с полостью корпуса.
4. Теплогенератор по любому из пп. 1-3, отличающийся тем, что на периферии дисков на выходе междискового рабочего канала установлен дополнительный кольцевой щелевой кавитатор.
5. Теплогенератор по любому из пп. 1-4, отличающийся тем, что в корпусе расположены связанные с внешними потребителями тепла прямые и обратные гидравлические каналы, находящиеся под перепадом давления, образованным за счет относительного вращения дисковых рабочих органов.
6. Теплогенератор по любому из пп. 1-5, отличающийся тем, что, по меньшей мере, один рабочий орган снабжен канавками с обоих его торцев и расположен между рабочими торцами других двух дисковых рабочих органов.
7. Теплогенератор по любому из пп. 1-6, отличающийся тем, что в корпусе теплогенератора со стороны нерабочего торца диска выполнена осесимметричная сепарационная камера, сообщенная с атмосферой.
8. Теплогенератор по любому из пп. 1-7, отличающийся тем, что корпус теплогенератора снабжен выполненными как вентиляторные лопатки теплообменными ребрами и кинематически связан с приводным двигателем.
Версия для печати
Дата публикации 31.12.2006гг
Created/Updated: 25.05.2018
|







