| Начало раздела Производственные, любительские Радиолюбительские Авиамодельные, ракетомодельные Полезные, занимательные | Хитрости мастеру Электроника Физика Технологии Изобретения | Тайны космоса Тайны Земли Тайны Океана Хитрости Карта раздела | |
| Использование материалов сайта разрешается при условии ссылки (для сайтов - гиперссылки) | |||
Навигация: => | На главную/ Рынок технологий / Актуальные изобретения и модели / Назад / |
|
ИЗОБРЕТЕНИЕ
Патент Российской Федерации RU2136102
ЭЛЕКТРОГРАВИТАЦИОННЫЙ ДВИГАТЕЛЬ
![]()
Имя заявителя: Общество с ограниченной ответственностью "Институт Проблем Экологии, Защиты и Безопасности Информации Международной Академии Наук Экологии, Безопасности Человека и Природы"
Имя изобретателя: Федоров В.В.; Баглаев Е.Б.; Славянский Г.В.; Моклокова Е.А.
Имя патентообладателя: Общество с ограниченной ответственностью "Институт Проблем Экологии, Защиты и Безопасности Информации Международной Академии Наук Экологии, Безопасности Человека и Природы"
Адрес для переписки: 191119, Санкт-Петербург, ул.Днепропетровская 9В., ООО "Институт Проблем Экологии, Защиты и Безопасности Информации Международной Академии Наук Экологии, Безопасности Человека и Природы"
Дата начала действия патента: 1997.10.02
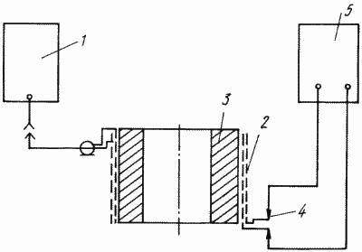
Двигатель предназначен для движения транспортного средства.Устройство состоит из генератора СВЧ 1, сосредоточенной обмотки 2, выполненной в виде многослойной цилиндрической катушки из полосковой линии, жестко связанной с корпусом приводимого в движение транспортного средства, сердечника 3, электродов 4 и высоковольтного блока 5. В момент разряда электрического импульса высоковольтного блока между электродами возникает электрическая дуга, которая замыкает выход полосковой линии. В результате изменения нагрузки в линии начинается переходный процесс, сопровождающийся ускоренным движением инертной массы, эквивалентной энергии высокочастотного электромагнитного поля в полосковой линии, поступающей от генератора СВЧ. Импульсное гравитационное поле от ускоренно движущейся в полосковой линии инертной массы или изменяющегося во времени гравитационного тока создает внутри сердечника вихревые гравитационные токи и соответствующее, усиленное за счет высокой импульсной гравитационной проницаемости материала сердечника, изменяющееся во времени импульсное гравитационное поле или давление. При этом сила внутри сердечника направлена в противоположную сторону по сравнению с силой во внешней среде. На основании третьего закона Ньютона, закона равенства действия и противодействия гравитационное поле Земли создаст встречные импульсные гравитационные поля, а следовательно, давления. В результате транспортное средство приходит в движение. Скорость движения транспортного средства может регулироваться величиной выходной мощности генератора СВЧ, а направление его движения и торможение - изменением направления потока мощности электромагнитной СВЧ-энергии в полосковой линии. Это и является техническим результатом изобретения.
ОПИСАНИЕ ИЗОБРЕТЕНИЯ
Изобретение относится к электротехнике, в частности к шаговым двигателям, преобразующим электромагнитную энергию в гравитационную, и может быть использовано для движения транспортного средства.
Известны шаговые двигатели, имеющие статор с постоянным магнитом и обмоткой управления, расположенной на сердечнике, несущем полюса и зубчатый ротор, питаемые от импульсных генераторов. Например авторские свидетельства СССР кл. H 02 К 37/00, 544063, 1979 г., 934567, 1982г.
Основным недостатком существующих шаговых двигателей являютсяих большие массогабаритные данные на единицу мощности и низкий КПД.
Наиболее близким техническим решением, выбранным в качестве прототипа, является шаговый злектрогравитационный двигатель (патент РФ N 2086071, кл. H 02 N 11/00, 12.09.97 по заявке N 94001384/25 от 12.01.94.), состоящий из сосредоточенной обмотки, выполненной в виде плоской спирали из полосковой линии, подключенной на входе к импульсному генератору СВЧ, а на выходе - электродами к высоковольтному блоку.
Технической задачей изобретения является создание нового двигателя повышенной мощности с малыми массогабаритными данными с высоким КПД.
Устройство состоит из генератора СВЧ, сосредоточенной обмотки, выполненной в виде многослойной цилиндрической катушки из полосковой линии, жестко связанной с корпусом приводимого в движение транспортного средства, сердечника, электродов и высоковольтного блока.
В основе принципа действия электрогравитационного двигателя лежит эффект возникновения давления внутри сердечника цилиндрической катушки при изменении в нем во времени импульсного гравитационного поля, созданного за счет движения инертной массы (гравитационного тока генератора СВЧ), эквивалентной энергии высокочастотного поля в полосковой линии в момент возникновения в ней переходного процесса.
Технический эффект повышения мощности, уменьшения массогабаритных данных двигателя достигается за счет использования в нем цилиндрического сердечника из высокопрочного твердого материала, усиливающего давление импульсного гравитационного поля внутри катушки.
Структурная схема предлагаемого устройства показана на чертеже.

Генератор СВЧ 1 подключается к входу полосковой линии 2, размещенной на сердечнике 3, электроды 4 - к высоковольтному блоку 5 и к выходу полосковой линии 2.
В момент разряда электрического импульса высоковольтного блока 5 между электродами 4 возникает электрическая дуга, которая замыкает выход полосковой линии 2. В результате изменения нагрузки в линии начинается переходный процесс, сопровождающийся ускоренным движением инертной массы, эквивалентной энергии высокочастотного электромагнитного поля в полосковой линии, поступающей от генератора СВЧ 1. Импульсное гравитационное поле от ускоренно движущейся в полосковой линии инертной массы или изменяющегося во времени гравитационного тока создает внутри сердечника 3 вихревые гравитационные токи и соответствующее, усиленное за счет высокой импульсной гравитационной проницаемости материала сердечника, на основании первого уравнения Максвелла для гравитационного поля, изменяющееся во времени импульсное гравитационное поле или давление. При этом сила внутри сердечника направлена в противоположную сторону по сравнению с силой во внешней среде. На основании третьего закона Ньютона, закона равенства действия и противодействия, гравитационное поле Земли создаст встречные импульсные гравитационные поля, а следовательно, давления. В результате транспортное средство приходит в движение. Скорость движения транспортного средства может регулироваться величиной выходной мощности генератора СВЧ 1, а направление его движения и торможение - изменением направления потока мощности электромагнитной СВЧ-энергии в полосковой линии 2.
В качестве примера реализации предлагаемого изобретения может служить образец электрогравитационного двигателя со следующими параметрами:
- число витков полосковой линии - 6, ее внешний радиус - 0.04 м;
- частота генератора СВЧ - 3 ГГц, мощность - 600 Вт.
Полосковая линия была размещена в корпусе и подключена к выходу генератора СВЧ. После замыкания с помощью электрического разряда разомкнутой на конце полосковой линии в конструкции возникли внутренние силы, превышающие 10 Н.
Данное устройство может быть реализовано при изготовлении сердечника из высокопрочного материала, например, стеклопластика.
ФОРМУЛА ИЗОБРЕТЕНИЯ
Электрогравитационный двигатель, состоящий из сосредоточенной цилиндрической обмотки, на входе подключенной к импульсному генератору СВЧ, а на выходе электродами - к высоковольтному блоку, отличающийся тем, что дополнительно внутри сосредоточенной цилиндрической обмотки размещен сердечник из твердого высокопрочного материала.
Версия для печати
Дата публикации 15.11.2006гг
Created/Updated: 25.05.2018
|
