| Начало раздела Производственные, любительские Радиолюбительские Авиамодельные, ракетомодельные Полезные, занимательные | Хитрости мастеру Электроника Физика Технологии Изобретения | Тайны космоса Тайны Земли Тайны Океана Хитрости Карта раздела | |
| Использование материалов сайта разрешается при условии ссылки (для сайтов - гиперссылки) | |||
Навигация: => | На главную/ Рынок технологий / Актуальные изобретения и модели / Назад / |
|
ИЗОБРЕТЕНИЕ
Патент Российской Федерации RU2256815
УСТРОЙСТВО ДЛЯ МАГНИТНОЙ МОДИФИКАЦИИ
ТОПЛИВА
ДВИГАТЕЛЯ ВНУТРЕННЕГО СГОРАНИЯ
![]()
Имя заявителя: Федеральное государственное унитарное предприятие Всероссийский научно-исследовательский и конструкторско-технологический институт подвижного соства Министерства путей сообщения Российской Федерации (ФГУП ВНИКТИ МПС России) (RU)
Имя изобретателя: Евстифеев Б.В. (RU); Соин Ю.В. (RU); Крючков П.А. (RU)
Имя патентообладателя: Федеральное государственное унитарное предприятие Всероссийский научно-исследовательский и конструкторско-технологический институт подвижного соства Министерства путей сообщения Российской Федерации (ФГУП ВНИКТИ МПС России) (RU)
Адрес для переписки: 140402, Московская обл., г. Коломна, ул. Октябрьской революции, 410, ФГУП ВНИКТИ
Дата начала действия патента: 2003.12.24
Изобретение относится к двигателестроению, в частности к топливным системам двигателей внутреннего сгорания, а именно к устройствам для магнитной модификации топлива двигателя внутреннего сгорания. Изобретение позволяет оптимизировать процесс модификации топлива магнитным полем за счет добавочного воздействия магнитного поля при прохождении топлива через периферийную камеру модификации топлива вдоль наружной цилиндрической поверхности постоянного магнита, что позволяет повысить полноту сгорания топлива и дополнительно улучшить топливную экономичность и снизить выбросы вредных веществ с отработавшими газами двигателя. Устройство для магнитной модификации топлива двигателя внутреннего сгорания содержит корпус преимущественно цилиндрической формы, крышку, входной и выходной топливные штуцеры с подводящим и отводящим каналами, магнитную систему, образованную постоянными магнитами кольцевой формы, размещенными в корпусе соосно друг за другом с зазором и обращенными друг к другу одноименными полюсами и центрирующей вставкой. Каждый постоянный магнит размещен между входной обечайкой с цилиндрическим выступом и выходной обечайкой с внутренним отверстием. Магнитная система имеет центральную камеру модификации топлива, проходящего по подводящему каналу входного топливного штуцера через равноудаленный от оси устройства ряд отверстий входной обечайки, торцевую камеру завихрения топлива, образованную в выходной обечайке и сообщенную с центральной камерой модификации топлива, промежуточную камеру, образованную конусными поверхностями, выполненными соответственно на торце цилиндрического выступа входной обечайки и на выходной обечайке, входную камеру, сообщающую подводящий канал с рядом отверстий входной обечайки. Корпус, крышка и центрирующая вставка выполнены из немагнитного материала. Входная и выходная обечайки выполнены из ферромагнитного материала. Устройство снабжено периферийной камерой модификации топлива, центральным каналом, перепускными каналами, кольцевым зазором, центрирующими шлицами, распорной втулкой и уплотнительной прокладкой. Периферийная камера модификации топлива выполнена между наружной цилиндрической поверхностью постоянного магнита и частью внутренней цилиндрической поверхности корпуса и сообщена перепускными каналами с торцевой камерой завихрения топлива и с центральным каналом через кольцевой зазор. Центральный канал выполнен во входной обечайке и сообщен с промежуточной камерой. Центрирующие шлицы выполнены на цилиндрическом выступе входной обечайки и контактируют с внутренней поверхностью центрирующей вставки. Распорная втулка размещена в зазоре. Уплотнительная прокладка размещена между цилиндрическим выступом входной обечайки и выходной обечайкой и выполнена из любого упругого топливостойкого материала.
ОПИСАНИЕ ИЗОБРЕТЕНИЯ
Изобретение относится к конструированию машин, в частности к топливным системам двигателей внутреннего сгорания, а именно к устройствам для магнитной модификации топлива двигателя внутреннего сгорания.
Известно устройство для обработки топлива, содержащее гидравлическое устройство, состоящее из полого корпуса с двумя штуцерами для соединения с подводящим и отводящим топливопроводами, положительного электрода, установленного по оси корпуса и топливоотводящего трубопровода, и отрицательного электрода, размещенного концентрично положительному электроду с образованием между ними канала для прохода топлива. Корпус и отводящий топливопровод выполнены из электроизоляционного материала. Положительный электрод частично расположен в отводящем топливопроводе, а отрицательный электрод выполнен в виде оплетки на внешней поверхности отводящего топливопровода, причем последний снабжен вставками для положительного электрода, имеющего каналы для прохода топлива.
Система предусматривает наличие электрического источника (преобразователя) высокого напряжения для формирования электрического потенциала на электродах (SU, авторское свидетельство №1671934, по кл. F 02 М 27/ 04, опубл. 1991).
Недостатками известного устройства являются необходимость наличия источника электрического питания и отсутствие обработки топлива магнитным полем, что усложняет конструкцию и не обеспечивает оптимизации процесса горения.
Известно устройство для магнитной обработки топлива в двигателе внутреннего сгорания, выравнивающее полярность его молекул, что способствует эффективности его сгорания. Устройство содержит металлическую составную втулку с фланцевым соединением половин, охватывающую с зазором топливопровод. На внутренней поверхности стенки втулки, которая в плане имеет форму многоугольника, расположены радиально с равными промежутками четыре постоянных магнита с пятью полюсами, обращенными к топливопроводу (GB, заявка №2256091, по кл. Н 01 F 7/02, опубл. 1992).
Недостатком известного устройства является низкая степень модификации топлива двигателя внутреннего сгорания из-за отсутствия повторной модификации топлива, что не приводит к обеспечению необходимой полноты его сгорания и, как следствие, к улучшению топливной экономичности и к снижению выбросов вредных веществ с отработавшими газами двигателя.
Известно устройство для тонкой очистки и магнитной модификации топлива двигателя внутреннего сгорания, принятое за прототип, содержащее корпус преимущественно цилиндрической формы с выходным топливным штуцером и крышку с входным топливным штуцером и установленные в корпусе постоянные кольцевые магниты, корпус с выходным топливным штуцером и крышка с входным топливным штуцером выполнены из немагнитного материала, магнитная система образована из соосно установленных друг за другом с зазором и обращенных друг к другу одноименными полюсами постоянных магнитов кольцевой формы с внутренней кольцевой центрирующей вставкой (центрирующей вставкой) из немагнитного материала, при этом каждый кольцевой постоянный магнит размещен между входной и выходной цилиндрическими обечайками (между входной с цилиндрическим выступом и выходной с внутренним отверстием обечайками) из ферромагнитного материала и имеет центральную кольцевую полость завихрения топлива (центральную камеру модификации топлива), проходящего от входного топливного штуцера (проходящего по подводящему каналу входного топливного штуцера) через равноудаленный от оси устройства ряд отверстий входной обечайки, при этом цилиндрический выступ входной обечайки образует с центральным отверстием выходной обечайки кольцевой зазор для прохождения топлива к выходному штуцеру (торцевую камеру завихрения топлива, образованную в выходной обечайке и сообщенную с центральной камерой модификации топлива) через камеру (промежуточную камеру), образованную конусными поверхностями, выполненными на торце цилиндрического выступа входной обечайки, на выходной обечайке и на внутренней поверхности выходной части корпуса, а внутренняя поверхность крышки выполнена конической или цилиндрической формы и снабжена металлическими сетками сначала грубой, затем тонкой очистки подаваемого в устройство топлива, при этом фиксирующее сетки кольцо выполнено из ферромагнитного материала.
Кольцевой постоянный магнит выполнен из магнитопластов или спеченных материалов системы самарий-кобальт, железо-ниодим-бор, количество кольцевых постоянных магнитов в магнитной системе выбрано от 2 до 4, крышка с входным штуцером соединяется с корпусом устройства по резьбе через кольцевую прокладку любого профиля, выполненную из любого упругого топливостойкого материала, например резины, на наружной поверхности корпуса может быть выполнена рифленая поверхность, например накаткой, а на наружной поверхности крышки выполнена гайка под ключ, зазор между соседними постоянными магнитами с входной и выходной обечайками выбран от 1 до 3 мм (RU, патент №2137939, кл. F 02 М 27/04. 1999).
Недостатком известного устройства является низкая степень модификации топлива двигателя внутреннего сгорания из-за отсутствия повторной модификации топлива, что не обеспечивает необходимую полноту его сгорания и, как следствие, недостаточно улучшает топливную экономичность и снижает выбросы вредных веществ с отработавшими газами двигателя.
Техническим результатом изобретения является оптимизация процесса модификации топлива магнитным полем за счет добавочного воздействия магнитного поля при прохождении топлива через периферийную камеру модификации топлива вдоль наружной цилиндрической поверхности постоянного магнита, что позволяет повысить полноту сгорания топлива и дополнительно улучшить топливную экономичность и снизить выбросы вредных веществ с отработавшими газами двигателя.
Указанный технический результат достигается тем, что устройство для магнитной модификации топлива двигателя внутреннего сгорания, содержащее корпус преимущественно цилиндрической формы, крышку, входной и выходной топливные штуцеры с подводящим и отводящим каналами, магнитную систему, образованную постоянными магнитами кольцевой формы, размещенными в корпусе соосно друг за другом с зазором и обращенными друг к другу одноименными полюсами и центрирующей вставкой, при этом каждый постоянный магнит размещен между входной обечайкой с цилиндрическим выступом и выходной обечайкой с внутренним отверстием, и имеющую центральную камеру модификации топлива, проходящего по подводящему каналу входного топливного штуцера через равноудаленный от оси устройства ряд отверстий входной обечайки, торцевую камеру завихрения топлива, образованную в выходной обечайке и сообщенную с центральной камерой модификации, промежуточную камеру, образованную конусными поверхностями, выполненными соответственно на торце цилиндрического выступа входной обечайки и на выходной обечайке, входную камеру, сообщающую подводящий канал входного штуцера с рядом отверстий входной обечайки, корпус, крышка и центрирующая вставка выполнены из немагнитного материала, входная и выходная обечайки выполнены из ферромагнитного материала, снабжено периферийной камерой модификации топлива, центральным каналом, перепускными каналами, центрирующими шлицами, распорной втулкой и уплотнительной прокладкой, причем периферийная камера модификации топлива выполнена между наружной цилиндрической поверхностью постоянного магнита и частью внутренней цилиндрической поверхности корпуса и сообщена перепускными каналами с торцевой камерой завихрения топлива и с центральным каналом через кольцевой зазор, центральный канал выполнен во входной обечайке и сообщен с промежуточной камерой, центрирующие шлицы выполнены на цилиндрическом выступе входной обечайки и контактируют с внутренней поверхностью центрирующей вставки, распорная втулка, размещена в зазоре, уплотнительная прокладка размещена между цилиндрическим выступом входной обечайки и выходной обечайкой и выполнена из любого упругого топливостойкого материала, например резины.

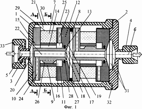
Фиг.1 изображена схема устройства для магнитной модификации топлива двигателя внутреннего сгорания в разрезе
Фиг.2 - сечение АА на фиг.1 | ![]() Фиг.3 - сечение Б-Б на фиг.1 |
Устройство содержит корпус 1 преимущественно цилиндрической формы, крышку 2, входной 3 и выходной 4 топливные штуцеры с подводящим 5 и отводящим 6 каналами, магнитную систему, образованную постоянными магнитами 7 кольцевой формы, размещенными в корпусе 1 соосно друг за другом с зазором 8 и обращенными друг к другу одноименными полюсами и центрирующей вставкой 9, при этом каждый постоянный магнит 7 размещен между входной обечайкой 10 с цилиндрическим выступом 11 и выходной обечайкой 12 с внутренним отверстием 13 и имеющую центральную камеру 14 модификации топлива, проходящего по подводящему каналу 5 входного топливного штуцера 3 через равноудаленный от оси устройства ряд отверстий 15 входной обечайки 10, торцевую камеру 16 завихрения топлива, образованную в выходной обечайке 12 и сообщенную с центральной камерой 14 модификации топлива, промежуточную камеру 17, образованную конусными поверхностями 18 и 19, выполненными соответственно на торце цилиндрического выступа 11 входной обечайки 10 и на выходной обечайке 12, входную камеру 20, сообщающую подводящий канал 5 входного штуцера 3 с рядом отверстий 15 входной обечайки 10, периферийную камеру 21 модификации топлива, центральный канал 22, перепускные каналы 23 и 24, кольцевой зазор 25, центрирующие шлицы 26, распорную втулку 27 и уплотнительную прокладку 28, причем периферийная камера 21 модификации топлива выполнена между наружной цилиндрической поверхностью 29 постоянного магнита 7 и частью внутренней цилиндрической поверхности 30 корпуса 1 и сообщена перепускными каналами 23 и 24 соответственно с торцевой камерой 16 завихрения топлива и с центральным каналом 22 через кольцевой зазор 25, центральный канал 22 выполнен во входной обечайке 10 и сообщен с промежуточной камерой 17, центрирующие шлицы 26 выполнены на цилиндрическом выступе 11 входной обечайки 10 и контактируют с внутренней поверхностью центрирующей вставки 9, распорная втулка 27 размещена в зазоре 8, уплотнительная прокладка 28 размещена между цилиндрическим выступом 11 входной обечайки 10 и выходной обечайкой 12.
Внутренняя поверхность 31 крышки 2 выполнена конической или цилиндрической формы, крышка 2 соединена с корпусом 1 устройства через кольцевую прокладку 32 любого профиля, один из штуцеров (на фиг.1 входной штуцер 3) снабжен накидной гайкой 33, а количество постоянных магнитов 7 в магнитной системе выбрано не менее двух.
Корпус 1, крышка 2 и центрирующая вставка 9 выполнены из немагнитного материала, входная 10 и выходная 12 обечайки выполнены из ферромагнитного материала, уплотнительная прокладка 28 и кольцевая прокладка 32 выполнены из любого упругого топливостойкого материала, например резины.
Стрелками показано направление движения топлива.
Работает устройство следующим образом.
Топливо через входной штуцер 3 по входному каналу 5 подается во входную камеру 20 и далее по отверстиям 15 во входной обечайке 10 в центральную камеру 14 модификации топлива первой части магнитной системы, где топливо завихряется, приобретая турбулентное течение с одновременной поляризацией ядер атомов. Происходит изменение физико-химических свойств всех составляющих топлива, уменьшается его вязкость и поверхностное натяжение. И эти изменения физико-химических свойств топлива усиливаются по мере прохождения топлива через магнитную систему устройства. Затем топливо из центральной камеры 14 модификации топлива подается в торцевую камеру 16 завихрения топлива, где топливо вторично завихряется и далее по перепускным каналам 23 через кольцевой зазор 25 подается в периферийную камеру 21 модификации топлива, где под воздействием магнитного поля со стороны наружной цилиндрической поверхности 29 постоянного магнита 7 происходит добавочное завихрение топлива, повторная поляризация ядер атомов, после чего топливо через кольцевой зазор 25 по перепускным каналам 24 и центральный канал 22 подается в промежуточную камеру 17. Далее через зазор 8 топливо подается по отверстиям 15 следующей входной обечайки 10 в следующую центральную камеру 14 модификации топлива следующего постоянного магнита 7 второй части магнитной системы и, минуя следующие торцевую камеру 16 завихрения топлива, перепускные каналы 23, кольцевой зазор 25, периферийную камеру 21, кольцевой зазор 25, перепускные каналы 24 и центральный канал 22, подается в следующую промежуточную камеру 17. Далее через выходной штуцер 4 по выходному каналу 6 модифицированное топливо подается к двигателю внутреннего сгорания.
Периферийная камера 21 модификации топлива обеспечивает добавочное завихрение топлива с одновременной повторной поляризацией ядер атомов под воздействием магнитного поля со стороны наружной цилиндрической поверхности 29 постоянного магнита 7, за счет чего добавочно уменьшается вязкость топлива и его поверхностное натяжение.
Центральный канал 22, перепускные каналы 23 и 24 и кольцевой зазор 25 служат для подачи топлива от торцевой камеры 16 завихрения топлива к периферийной камере 21 модификации топлива для повторной модификации топлива и далее к промежуточной камере 17.
Центрирующие шлицы 26, контактирующие с центрирующей вставкой 9, служат для обеспечения центровки постоянного магнита 7 относительно оси устройства. Распорная втулка 27 служит для обеспечения фиксированного зазора 8.
Уплотнительная прокладка 28 служит для исключения перетока топлива от торцевой камеры 16 завихрения топлива в промежуточную камеру 17, что исключило бы повторную модификацию топлива.
Количество постоянных магнитов 7 в магнитной системе, выбранное не менее двух, обусловлено тем, что уменьшение количества постоянных магнитов 7 не обеспечит функционирование магнитной системы с противоположно направленными магнитными полями, а возможность увеличения их количества дает возможность наращивания интенсивности модификации топлива в зависимости от типа двигателя, режима и условий его работы и т.д.
Снабжение одного из штуцеров 3 или 4 накидной гайкой 33 исключает ошибочное подключение устройства (по направлению движения топлива) в топливную систему двигателя внутреннего сгорания.
Размещение входного топливного штуцера 3 на корпусе 1, а выходного топливного штуцера 4 на крышке 2 обусловлено тем, что для ряда двигателей, например тепловозного класса, по компоновочным соображениям предпочтительно вертикальное расположение устройства, при котором для обеспечения герметичности крышка 2 устройства должна быть вверху.
Общее воздействие магнитного поля заключается в ослаблении молекулярных связей и оптимизации процессов воспламенения и горения топлива.
Таким образом, выполнение устройства с периферийной камерой модификации топлива обеспечивает добавочное завихрение топлива с одновременной повторной поляризацией ядер атомов под воздействием магнитного поля со стороны наружной цилиндрической поверхности постоянного магнита, за счет чего добавочно уменьшается вязкость топлива и его поверхностное натяжение и, как следствие, повышается индикаторный КПД, снижаются расход топлива и выбросы вредных веществ с отработавшими газами двигателя.
Ожидаемое улучшение технико-экономических и экологических показателей двигателя внутреннего сгорания при использовании предлагаемых технических решений по сравнению с прототипом на 10...30%.
ФОРМУЛА ИЗОБРЕТЕНИЯ
Устройство для магнитной модификации топлива двигателя внутреннего сгорания, содержащее корпус преимущественно цилиндрической формы, крышку, входной и выходной топливные штуцера с подводящим и отводящим каналами, магнитную систему, образованную постоянными магнитами кольцевой формы, размещенными в корпусе соосно друг за другом с зазором и обращенными друг к другу одноименными полюсами и центрирующей вставкой, при этом каждый постоянный магнит размещен между входной обечайкой с цилиндрическим выступом и выходной обечайкой с внутренним отверстием, и имеющую центральную камеру модификации топлива, проходящего по подводящему каналу входного топливного штуцера через равноудаленный от оси устройства ряд отверстий входной обечайки, торцевую камеру завихрения топлива, образованную в выходной обечайке и сообщенную с центральной камерой модификации топлива, промежуточную камеру, образованную конусными поверхностями, выполненными соответственно на торце цилиндрического выступа входной обечайки и на выходной обечайке, входную камеру, сообщающую подводящий канал с рядом отверстий входной обечайки, корпус, крышка и центрирующая вставка выполнены из немагнитного материала, входная и выходная обечайки выполнены из ферромагнитного материала, отличающееся тем, что оно снабжено периферийной камерой модификации топлива, центральным каналом, перепускными каналами, кольцевым зазором, центрирующими шлицами, распорной втулкой и уплотнительной прокладкой, причем периферийная камера модификации топлива выполнена между наружной цилиндрической поверхностью постоянного магнита и частью внутренней цилиндрической поверхности корпуса и сообщена перепускными каналами с торцевой камерой завихрения топлива и с центральным каналом через кольцевой зазор, центральный канал выполнен во входной обечайке и сообщен с промежуточной камерой, центрирующие шлицы выполнены на цилиндрическом выступе входной обечайки и контактируют с внутренней поверхностью центрирующей вставки, распорная втулка размещена в зазоре, уплотнительная прокладка размещена между цилиндрическим выступом входной обечайки и выходной обечайкой и выполнена из любого упругого топливостойкого материала.
Версия для печати
Дата публикации 14.12.2006гг
Created/Updated: 25.05.2018
|

